Фотоаппараты Canon EOS 1Ds Mark II - инструкция пользователя по применению, эксплуатации и установке на русском языке. Мы надеемся, она поможет вам решить возникшие у вас вопросы при эксплуатации техники.
Если остались вопросы, задайте их в комментариях после инструкции.
"Загружаем инструкцию", означает, что нужно подождать пока файл загрузится и можно будет его читать онлайн. Некоторые инструкции очень большие и время их появления зависит от вашей скорости интернета.

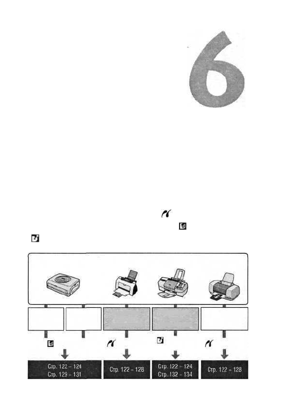
Прямая печать с камеры
В этом разделе рассматривается печать фотографий, снятых
цифровой камерой, на принтерах, поддерживающих прямую
печать с использованием стандарта < > PictBridge или
фирменных стандартов компании Canon < > СР Direct и
< > Bubble Jet Direct.
Принтер Canon CP
Принтер Canon BJ
Принтер другого
производителя
СР Direct
PictBridge
Bubble Jet
Direct
PictBridge
Поддерживает
PictBridge и
CP Direct
Поддерживает
только
CP Direct
Поддерживает
PictBridge
Поддерживает
PictBridge и
Bubble Jet Direct
Поддерживает
только
Bubble Jet Direct
Содержание
- 3 Контрольный список комплекта поставки
- 4 Содержание; Введение
- 7 Предотвращение травм или повреждения оборудования
- 8 Уход за камерой; Правила обращения с камерой
- 9 Контакты
- 10 Элементы камеры и их назначение
- 15 Информация в видоискателе
- 16 Обозначения, используемые в настоящей Инструкции
- 18 Зарядка аккумулятора; Подсоедините кабель питания.; Загорается индикатор; Снимите защитную крышку; Установите крышку на заглушку отсека
- 19 Зарядите аккумулятор.
- 20 Установка и извлечение аккумулятора; Установка аккумулятора
- 22 электросети и не беспокоиться об уровне заряда аккумулятора.; Установите переходник постоянного тока.; Завершив работу с камерой, установите; Питание камеры от бытовой электросети
- 23 Установка и снятие объектива; Установка объектива; Поверните объектив красной точкой вверх,; Снимите переднюю крышку объектива.
- 24 Установка и извлечение карты памяти; Установите карту памяти в камеру.
- 25 Извлечение карты
- 27 Основные операции; Выключатель питания
- 28 При этом производится автофокусировка (AF); Полное нажатие; Срабатывает затвор, и производится съемка.
- 29 Нажав кнопку, поворачивайте диск; Таким образом можно устанавливать режим; Нажав требуемую кнопку, поворачивайте
- 30 Использование диска
- 31 Съемка в вертикальном положении
- 32 Использование меню
- 34 Установки меню
- 35 персональных функций
- 36 выберите пункт; Восстановление установок по умолчанию; Настройки камеры по умолчанию; Параметры съемки Параметры записи изображений
- 37 Диоптрийная регулировка; Вращайте ручку диоптрийной регулировки.
- 38 Установка даты и времени; Установите дату и время.; Задайте формат отображения даты.
- 39 Замена элемента питания календаря; CR2025 в соответствии с приведенными ниже инструкциями.; в положение; Установите аккумулятор и поверните
- 40 Чистка датчика КМОП; Затем отпустите кнопку
- 42 Закрепление ремня и наручного ремня; Закрепление наручного ремня (приобретается дополнительно); Закрепление ремня
- 43 Параметры изображения; В этой главе рассматриваются настройки для съемки
- 44 записи изображений одновременно в форматах RAW и JPEG.; Выберите размер изображения; жения JPEG. Изображения в формате < > требуют обработки с помощью; Выбор размера изображения; Задание качества записи изображений
- 45 Формат RAW; мное обеспечение позволяет достичь требуемого результата.; Размер файлов изображений и емкость карты памяти
- 46 Установка уровня качества JPEG (коэффициент сжатия); Для режимов; Выберите размер изображения.; изображения; Задайте требуемое качество записи.; Уровни качества JPEG от 1 до 5 обозначаются символом , уровни от 6 до
- 47 Установка чувствительности ISO
- 48 Выбор баланса белого; Выберите настройку баланса белого.; О балансе белого; емое программное обеспечение.
- 49 Пользовательский баланс белого; Сфотографируйте белый объект.
- 50 Импортируйте данные баланса белого.; Удерживая нажатой кнопку; Выберите; Устанавливается пользовательский баланс
- 51 Установка цветовой температуры; Выберите баланс белого; Установите цветовую температуру.; Цветовую температуру можно задавать в
- 52 Коррекция баланса белого; Удерживайте нажатой кнопку; Для отмены коррекции баланса белого
- 53 Автоматическая вилка баланса белого; ±3 ступеней с шагом 1 ступень.
- 55 Выбор цветовой матрицы; Затем отпустите кнопку.
- 56 Выберите номер набора.; Создание пользовательских параметров цветовой матрицы
- 57 Если для параметра
- 58 Установка параметров обработки; Эффект
- 60 Установите камеру в режим папки.; Открывается экран «Create folder».; Задание папки и карты памяти
- 61 Создание папок с помощью персонального компьютера; Выбор папки
- 62 Запись изображения на обе карты (Резервирование); Выберите требуемую установку.; Различие между пунктами и
- 63 Нумерация файлов после смены; Способы нумерации файлов
- 64 Непрерывная нумерация; хранения изображений на персональном компьютере.; Имена файлов; кода камеры невозможно.
- 66 Выбор режима автофокусировки; Установите режим автофокусировки.; Режим One-Shot AF для съемки неподвижных объектов
- 67 Фокусировка на объект, смещенный относительно центра; Фиксация фокусировки работает только в режиме One-Shot AF.; Для наводки на резкость наведите зону или точку автофокусировки
- 68 Выбор точки автофокусировки; Автоматический выбор; ствии с объектом съемки.; Ручной выбор точки автофокусировки; Выберите точку автофокусировки.
- 70 точки автофокусировки на ЖК-дисплей; Регистрация и переключение на точку автофокусировки
- 71 Переключение на зарегистрированную точку автофокусировки; функции устанавливаются с помощью; Это способ по умолчанию.; возвращается к исходной точке; ную точку автофокусировки нажмите
- 72 Автоматическое расширение зоны активизации до 7 или 13 точек; Зона активизации точки автофокусировки
- 75 Объекты, сложные для фокусировки; Если автофокусировка невозможна (ручная фокусировка)
- 76 Ручная фокусировка; Установите переключатель режима
- 77 Выбор режима перевода кадров; Выберите режим перевода кадров.
- 78 Использование автоспуска; Выберите режим автоспуска.
- 79 Управление экспозицией; Можно установить режим экспозамера, режим перевода кадров
- 80 Выбор режима замера экспозиции; Выберите режим замера.; режим замера экспозиции. Затем; Оценочный замер
- 81 Для ускорения выбора точки автофокуси-
- 83 точке или сопряжен с активной точкой автофокусировки.
- 84 Посмотрите на дисплей.
- 86 Проверьте изображение на дисплее; Tv Автоматическая установка экспозиции с приоритетом выдержки
- 88 тем более резкими будут ближние и дальние объекты.; Установите требуемую величину
- 89 Предварительный просмотр глубины резкости
- 90 М Ручная установка экспозиции; установки величины диафрагмы.
- 91 Установите экспозицию.; Проверьте величину экспозиции и установите
- 92 Установка компенсации экспозиции; Нажмите наполовину кнопку спуска; Проверьте величину экспозиции.
- 93 Автоматический брекетинг
- 95 и установка экспозиции зафиксирована
- 96 Длительная выдержка В; Выведите на ЖК-дисплей символ; отпустите кнопку спуска затвора.
- 97 Блокировка зеркала в верхнем положении; Нажмите полностью кнопку спуска затвора.; Зеркало блокируется в верхнем положении.; Шторка окуляра
- 98 Съемка со вспышкой; Со вспышками Speedlite серии EX; перечисленные ниже функции.; Автоматическая вспышка E-TTLII; возможна со всеми выдержками затвора в пределах от 30 до 1/8000 с.; Фиксация экспозиции при съемке со вспышкой (FE Lock)
- 99 нескольких вспышек Speedlite; следуйте приведенным ниже инструкциям.; Установите параметры камеры и вспышки; Фокусировка производится вручную.; Установите величину экспозиции при съемке со вспышкой.; Вручную настройте мощность вспышки Speedlite
- 100 Автоматические вспышки Speedlite TTL и A-TTL; Вспышки сторонних производителей; • Для разъема PC камеры полярность не имеет значения, поэтому м о ж н о
- 101 Камера позволяет просматривать или удалять снятые изобра-; Изображения, снятые другой камерой; Камера может неправильно отображать изображения, снятые другой
- 102 Просмотр изображений
- 103 Время просмотра изображений
- 104 Автоповорот изображения; Сделайте снимок в вертикальной ориентации.; Выведите изображение на экран.
- 105 Воспроизведение изображений; Выберите изображение.; Для воспроизведения изображений, начиная
- 107 передержанные области будут мигать.; Отображение точек автофокусировки; сировки) задано значение
- 108 Гистограмма
- 109 Увеличение изображения
- 110 Поворот изображения; Выберите изображение для поворота.
- 111 Подсоедините камеру к телевизору.; Полностью вставьте штекер кабеля.; Просмотр изображений на экране телевизора
- 112 Защита изображений; Защита одного изображения; Эта функция исключает случайное стирание изображения.; Выведите на экран изображение для; что изображение защищено.
- 114 Запись звука для изображения
- 115 Стирание изображений; Стирание одного изображения
- 116 Нажмите кнопку
- 117 Стирание с карты памяти всех изображений
- 118 Выберите карту для форматирования.; Форматирование карты памяти
- 119 может восстановиться.
- 121 Прямая печать с камеры; В этом разделе рассматривается печать фотографий, снятых
- 122 Подготовка к печати; Процедура заключается в выборе и установке параметров в меню.; Подробнее; Подключите камеру к принтеру.; Для выбора правильного кабеля для
- 123 Установите выключатель питания; Некоторые принтеры могут подавать; Выводится изображение, и в левом
- 125 Печать с использованием PictBridge; или; Выберите изображение для печати.; Убедитесь, что в левом верхнем углу Ж К -; Открывается экран настройки печати.; Экран настройки печати
- 126 Задание формата бумаги; Задание типа бумаги; О типах бумаги; Задание компоновки страницы
- 127 Установите другие параметры.
- 129 Печать с использованием СР Direct; Открывается экран задания стиля.
- 131 Распечатайте изображение.
- 132 Печать с использованием Bubble Jet Direct
- 135 Обрежьте изображение.; Задание кадрировки
- 136 Выйдите из режима кадрировки.
- 137 цифровой печати
- 138 Заказ печати; Параметры печати; Открывается экран заказа печати.; Задайте требуемые значения.; Задайте значения параметров
- 139 Выйдите из экрана настройки.
- 140 Задайте параметры печати.
- 141 Выбор всех изображений; изображений», заказ печати изменится на «Все изображения».
- 142 Закройте экран заказа печати.
- 143 Непосредственная печать с параметрами DPOF; Установите параметры печати.
- 144 Для остановки печати нажмите кнопку
- 146 Установка пользовательской функции; Сброс всех пользовательских функций
- 147 Установки пользовательских функций; C.Fn-01 Индикация в видоискателе во время экспозиции
- 150 C.Fn-11 Способ выбора точки автофокусировки
- 151 C.Fn-12 Блокировка зеркала в верхнем положении; от низкой освещенности до заполняющей в с п ы ш к и при дневном свете.
- 152 тетом выдержки и автоэкспозиции с приоритетом диафрагмы.; C.Fn-17 Зона активизации точки автофокусировки; непредсказуемых перемещениях объекта.
- 153 C.Fn-19 Функция кнопки отмены автофокусировки на объективе
- 154 Чувствительность; режима сопровождения Al Servo; Фокусировочный экран
- 155 портретов или пейзажей.; Выберите пункт [Personal Functions; Выберите номер группы.; Регистрация группы пользовательских функций
- 156 Зарегистрируйте или примените.
- 157 Персональные функции
- 158 Выберите номер персональной функции,; Сброс всех персональных функций; Сброс и восстановление персональных функций
- 159 Сохранение и считывание установок камеры; Сохранение установок камеры; Сохраните установки камеры.
- 160 Меню исчезает, и камера на короткое время
- 161 Справочная информация; Этот раздел поможет Вам лучше ознакомиться с камерой.
- 162 Поиск и устранение неполадок; Источник питания; Используется аккумулятор неправильного типа.; После завершения записи изображения на карту памяти индикатор
- 163 Съемка
- 164 Просмотр изображений и работа камеры
- 165 Коды ошибок; Код ошибки
- 166 Замена фокусировочного экрана
- 169 Дистанционный переключатель RS-80N3; Беспроводной пульт дистанционного управления LC-4; Линзы диоптрийной регулировки серии Е
- 170 Состав системы; Комплект
- 172 Технические характеристики
- 176 Контроль аккумулятора:; Габариты и вес; Диапазон рабочих температур:
- 178 Алфавитный указатель


