Страница 3 - Содержание
Введение Об этом руководстве...................................7Словарь символов.......................................7Запасные части и аксессуары....................8 Быстрый обзор Быстрый обзор...........................................11 Безопасность детей Детские сиденья...........................
Страница 5 - Функция контроля дистанции до впереди
Выключатель зажигания.........................145Блокировка рулевого колеса..................145Пуск бензинового двигателя...................146Пуск бензинового двигателя - E85.........147Пуск дизельного двигателя.....................147Фильтр твердых частиц (DPF)................148Выключение двигат...
Страница 9 - ПРЕДУПРЕЖДЕНИЕ; для вас или окружающих.; ПРЕДОСТЕРЕЖЕНИЕ; Введение
ОБ ЭТОМ РУКОВОДСТВЕ Благодарим вас за то, что вы остановилисвой выбор на автомобиле Ford.Рекомендуем уделить время и лучшеознакомиться с возможностями вашегоавтомобиля с помощью данногоруководства. Чем лучше вы знаетеавтомобиль, тем безопаснее и приятнеебудет вождение. Примечание: В Руководстве опис...
Страница 14 - Обзор панели приборов - вариант с правосторонним управлением; Органы управления осветительными приборами См.
Обзор панели приборов - вариант с правосторонним управлением W P Q R S T V O U L K M N E75798 A B E G D C J H I F Органы управления осветительными приборами См. Органы управления осветительным оборудованием (стр. 56). A Сопла системы вентиляции См. Вентиляционные дефлекторы (стр. 111). B Указатели п...
Страница 16 - Однократная очистка; Автоматические стеклоочистители
Регулировка положения рулевогоколеса ПРЕДУПРЕЖДЕНИЕ Недопустимо регулировать положениерулевого колеса во время движения. 1 2 2 E95178 3 E95179 См. Регулировка положения рулевого колеса (стр. 48). Автоматический режим работыстеклоочистителя B C D A E70696 Однократная очистка A Автоматический режим ра...
Страница 17 - окажутся в служебном положении.; Замена щеток стеклоочистителей; Указатели поворота
Замена щеток стеклоочистителей ПРЕДОСТЕРЕЖЕНИЕ Вы можете использовать служебноеположение в зимнее время дляоблегчения очистки щёток от льда и снега. Щётки очистителя ветрового стеклавернутся в нормальное положение послетого, как вы включите зажигание. Поэтомуперед включением зажигания убедитесь,что ...
Страница 18 - Информационные дисплеи
Наружные зеркала заднего вида сэлектроприводом складывания E72623 См. Наружные зеркала заднего вида с электроприводом (стр. 78). Автоматический поворот внешнегозеркала заднего вида при включениипередачи заднего хода При включении передачи заднего ходасоответствующее внешнее зеркало заднеговида измен...
Страница 19 - Верхний дефлектор; Режим быстрого прогрева салона
Вентиляционные отверстия дляпассажиров на заднем сиденье. E73131 A B C Воздух поступает через нижнийдефлектор A Воздух поступает через верхнийдефлектор B Верхний дефлектор C Для удаления запотевания и наледи сбоковых задних стекол необходимо выбратьположение B . Ручной режим управлениямикроклиматом ...
Страница 20 - Функции памяти; Органы для регулировки сидений
См. Ручной режим управления микроклиматом (стр. 112). Автоматическая система климат-контроля E70304 См. Автоматический режим управления микроклиматом (стр. 115). Функции памяти ПРЕДУПРЕЖДЕНИЕ Не используйте функции запоминаниянастроек во время движенияавтомобиля. A B E86768 Органы для регулировки си...
Страница 21 - Парковка
Механическая коробка передач Включение передачи заднего хода E99067 На некоторых автомобилях при выборепередачи заднего хода необходимо поднятьстопорное кольцо. См. Механическая коробка передач (стр. 155). Автоматическая коробка передач Положения селектора передач E80836 S Парковка A Задний ход B Не...
Страница 22 - Электрический стояночный тормоз
E70529 Удерживая педаль тормоза в выжатомположении, нажмите клавишупереключателя вниз. Автоматическое отключение -Отключение после начала движения(DAR) Задействуйте первую передачу илипередачу заднего хода и начинайтедвижение. EPB отключится автоматически. См. Электрический стояночный тормоз (EPB) (...
Страница 23 - ДЕТСКИЕ СИДЕНЬЯ; ПРЕДУПРЕЖДЕНИЯ; безопасности для детей.; Детская люлька; Безопасность детей
ДЕТСКИЕ СИДЕНЬЯ E68916 ПРЕДУПРЕЖДЕНИЯ Детей ростом меньше 150сантиметров или младше 12 летследует перевозить на заднем сидении в подходящем, одобренном кприменению детском кресле. Оригинальный текст в соответствии справилом ECE R94.01: Очень опасно!Если напротив сиденья установлена фронтальная подуш...
Страница 24 - Детское кресло; ДОПОЛНИТЕЛЬНЫЕ ПОДУШКИ
Детское кресло E68920 Усаживайте ребенка, который весит от 13до 18 килограммов, в детское кресло (Группа1) на заднем сидении. ДОПОЛНИТЕЛЬНЫЕ ПОДУШКИ ПРЕДУПРЕЖДЕНИЯ Не используйте дополнительныекресла или подушки, имеющие лишьпоясной ремень безопасности. Не устанавливайте дополнительноекресло или под...
Страница 25 - ленты ремней не провисали.; Положение устройства детской безопасности
Дополнительная подушка (Группа 3) E68924 УСТАНОВКА ДЕТСКОГОСИДЕНЬЯ ПРЕДУПРЕЖДЕНИЯ При использовании на втором рядусидений устройства безопасностидетей с поддерживающей опорой убедитесь в надежности крепленияподдерживающей опоры на крышкеподпольного вещевого отделения.Убедитесь в правильности установ...
Страница 26 - Отключена; Сиденья второго ряда; UF
Весовые категории (вес и возраст ребенка) Посадочные места III II I 0+ 0 22 - 36 кг 15 - 25 кг 9 - 18 кг До 13 кг До 10 кг Вспомогательное сиденье или подушка Детское кресло Детская кроватка U¹ U¹ U¹ U¹ U¹ Подушка безопасностипереднего пассажира Отключена U U U U U Сиденья второго ряда U U U U U Тре...
Страница 27 - Устройства детской безопасности с креплениями ISOFIX; IU
Устройства детской безопасности с креплениями ISOFIX Весовые категории (вес и возраст ребенка) Посадочные места I 0+ 0 9 - 18 кг До 13 кг До 10 кг Детское кресло Детская кроватка IU IU IU Крепления ISOFIX для второго рядасидений A, B, B1, C, D C, D, E E Классы ISOFIX для второго ряда сидений * IU По...
Страница 28 - Верхние точки крепления; относительно точки крепления.
МЕСТА РАСПОЛОЖЕНИЯКРЕПЛЕНИЙ ISOFIX ПРЕДУПРЕЖДЕНИЕ Если вы пользуетесь системойISOFIX, применяйте устройство,предотвращающее опрокидывание. Мы рекомендуем использовать верхнийшнур или опорную стойку. Примечание: При приобретенииудерживающего приспособления ISOFIXуточните его весовую категорию итипора...
Страница 29 - С левой стороны
E75531 3. С усилием сдвиньте детское кресло в обратном направлении, для того чтобызафиксировать нижние крепленияISOFIX. 4. Затяните верхнюю лямку крепления в соответствии с инструкциямиизготовителя. ЗАМКИ С ФУНКЦИЕЙБЛОКИРОВКИ ОТ ОТПИРАНИЯДЕТЬМИ ПРЕДУПРЕЖДЕНИЕ Вы не можете открыть двери изнутри,когда...
Страница 30 - ПРИНЦИПЫ РАБОТЫ; Подушки безопасности; раскрытии подушек безопасности.; Сидение в правильном; только квалифицированным механиком.; Защита людей, находящихся в автомобиле
ПРИНЦИПЫ РАБОТЫ Подушки безопасности ПРЕДУПРЕЖДЕНИЯ Не изменяйте переднюю часть вашегоавтомобиля никаким образом. Этоможет неблагоприятно отразиться при раскрытии подушек безопасности. Выдержка из ECE R94.01:Чрезвычайно опасно! Не используйтеустройства детской безопасности, установленные передней ча...
Страница 32 - РЕМНИ БЕЗОПАСНОСТИ; прилегать к вашему телу.
Шторки безопасности срабатывают присильном боковом столкновении. Подушкинадуваются за несколько тысячных долейсекунды и сдуваются при контакте спассажирами или водителем, обеспечиваятаким образом защиту головы. При слабыхбоковых, фронтальных и заднихстолкновениях, или переворотах оконныеподушки безо...
Страница 35 - Обратитесь к вашему дилеру.
Если ремень безопасностиводителя или переднегопассажира не пристегнут, и автомобиль достигает заданной скоростидвижения, загорается сигнализаторнепристёгнутого ремня безопасности ивключается предупреждающий звуковойсигнал. Сигнализатор также загорается,если ремень безопасности водителя илипереднего ...
Страница 37 - Ключи и пульты дистанционного управления
ОБЩАЯ ИНФОРМАЦИЯ ОРАДИОЧАСТОТАХ ПРЕДОСТЕРЕЖЕНИЕ Радиочастота, используемая длядистанционной разблокировки иблокировки замков, может также использоваться для работы другихмаломощных радиоустройств (например,любительских радиоприемников ипередатчиков, медицинского оборудования,беспроводных наушников, ...
Страница 38 - осторожно извлеките элемент питания.
Пульт дистанционного управленияс убирающимся стержнем ключа 1 E74383 1. Вставьте отвёртку до конца в прорезь на боковой поверхности пульта инажмите ею на стержень ключа, чтобыдемонтировать его. E74384 2 2. Начните разъединение двух половин корпуса пульта, поворачивая отвёрткув месте, указанном на ри...
Страница 41 - Двойная блокировка; Разблокировка; Замки
БЛОКИРОВКА ИРАЗБЛОКИРОВКА ЗАМКОВ Система централизованнойблокировки замков Централизованно заблокировать двериможно только в том случае, если онизакрыты. Примечание: Замок двери водителя можетбыть заблокирован с помощью ключа. Этопозволяет попасть в автомобиль принеисправности пульта дистанционногоу...
Страница 42 - Дверь водителя; Блокировка замков всех дверей; Передние и задние пассажирские двери
Двойная блокировка дверей спомощью ключа Для включения двойной блокировкинеобходимо дважды в течение трех секундповернуть ключ в положение,соответствующее блокировке замков. Запирание и отпирание дверей икрышки багажного отделения спомощью дистанционногоуправления E87379 A B C Разблокировка A Заблок...
Страница 43 - Автоматическая блокировка замков; Программирование пульта
Крышка багажника/дверь багажногоотделения Открывание крышки багажногоотделения E78262 Открывание крышки багажногоотделения с помощью дистанционногоуправления Нажмите кнопку C на пульте дистанционного управления два раза в течение трех секунд. Закрывание крышки багажника/дверибагажного отделения E719...
Страница 44 - Полное открывание; Чтобы открыть все окна, нажмите кнопку; Полное закрывание; Чтобы закрыть все окна, нажмите кнопку
Полное открывание E71955 Чтобы открыть все окна, нажмите кнопку открывание и удерживайте ее не менее трех секунд. Чтобы остановить открытиеокон, нажмите кнопку открывание или закрывание . Полное закрывание Автомобили, не оборудованныесистемой управления замками безпомощи ключа ПРЕДУПРЕЖДЕНИЕ Соблюда...
Страница 46 - Иммобилайзер; Иммобилайзер двигателя
ПРИНЦИПЫ РАБОТЫ Иммобилайзер двигателя - это системапротивоугонной защиты, которая непозволяет запустить двигатель неправильнозапрограммированным ключом. ЗАПРОГРАММИРОВАННЫЕКЛЮЧИ Примечание: Не допускайте экранировкиключей металлическими предметами. Этоможет нарушить процесс распознаванияключа прием...
Страница 47 - Система охранной сигнализации; Охранная сигнализация по периметру.; Охранная сигнализация по периметру; Сигнализация
ПРИНЦИПЫ РАБОТЫ Система охранной сигнализации Ваш автомобиль может быть оборудованодной из приведенных далее системойохранной сигнализации: • Охранная сигнализация по периметру. • Охранная сигнализация по периметру сдатчиками салона. • Охранная сигнализация первойкатегории с датчиками салона иавтоно...
Страница 49 - Информационные сообщения; АКТИВАЦИЯ СИГНАЛИЗАЦИИ; Все автомобили; ОТКЛЮЧЕНИЕ СИГНАЛИЗАЦИИ; Сигнализация категории один
E70499 E74509 Полн. защита Сигнализация Сниженная Уточн.на вых 1. Нажмите кнопку с правой стрелкой на рулевом колесе, чтобы войти в главноеменю. 2. С помощью кнопок со стрелками вверх и вниз выделите Установка и нажмите кнопку с правой стрелкой. 3. Выделите Охранная сигнализация и нажмите кнопку с п...
Страница 50 - УПРАВЛЕНИЕ АУДИОСИСТЕМОЙ; удерживайте; Рулевое колесо
РЕГУЛИРОВКА ПОЛОЖЕНИЯРУЛЕВОГО КОЛЕСА ПРЕДУПРЕЖДЕНИЕ Недопустимо регулировать положениерулевого колеса во время движения. Примечание: Убедитесь в том, что высидите в правильной позе. См. Сидение вправильном положении (стр. 126). 1 2 2 E95178 3 E95179 ПРЕДУПРЕЖДЕНИЕ При возврате в исходное положениеуб...
Страница 51 - Поиск; Нажмите и
Поиск Нажмите кнопку поиска, чтобы: • начать автоматический поиск соседнейрадиостанции • начать воспроизведение следующей илипредыдущей дорожки на CD-диске • начать быструю перемотку кассетывперёд или назад. Нажмите и удерживайте кнопку поиска, чтобы: • начать ручной поиск требуемойрадиостанции • на...
Страница 52 - Прерывистый режим работы; ПРЕДОСТЕРЕЖЕНИЯ; Стеклоочистители и стеклоомыватели
ОЧИСТИТЕЛИ ВЕТРОВОГОСТЕКЛА B C D A E70696 Однократная очистка A Прерывистый режим работы B Нормальная скорость очистки C Высокая скорость очистки D Прерывистый режим работы E70315 B A C Короткие интервалы междувзмахами щеток A Прерывистый режим работы B Длинные интервалы междувзмахами щеток C АВТОМА...
Страница 53 - Высокая чувствительность
ПРЕДОСТЕРЕЖЕНИЯ Выключайте автоматический режимработы стеклоочистителей передмойкой автомобиля. E70315 B A C Высокая чувствительность A On (Вкл.) B Низкая чувствительность C Находясь в автоматическом режиме,стеклоочистители не начнут работать, покана ветровом стекле не будет обнаруженавода. Датчик д...
Страница 54 - или; Стеклоомыватель; ОМЫВАТЕЛИ ФАР
Жиклеры омывателей шарикового типаможно точно отрегулировать при помощииглы. ОЧИСТИТЕЛЬ И ОМЫВАТЕЛИЗАДНЕГО СТЕКЛА Прерывистый режим работы E70777 Очистка стекол при включениипередачи заднего хода Стеклоочиститель заднего стеклавключается автоматически, если включенапередача заднего хода и рычагперек...
Страница 55 - Щётки очистителя ветрового стекла
ПРОВЕРКА ЩЕТОКСТЕКЛООЧИСТИТЕЛЕЙ E66644 Проведите подушечками пальцев по кромкещетки стеклоочистителя. Очищайте рабочие кромки щетокстеклоочистителей при помощи воды имягкой губки. ЗАМЕНА ЩЕТОКСТЕКЛООЧИСТИТЕЛЕЙ Щётки очистителя ветрового стекла ПРЕДОСТЕРЕЖЕНИЯ Чтобы поменять щетки очистителяветрового...
Страница 56 - Щётки очистителя заднего окна
Установка выполняется в обратнойпоследовательности. Примечание: Проверьте надёжностьфиксации щётки стеклоочистителя. Щётки очистителя заднего окна E93783 1 2 E93784 3 5 4 E93785 6 E93786 Установка выполняется в обратнойпоследовательности. 54 Стеклоочистители и стеклоомыватели
Страница 57 - ТЕХНИЧЕСКИЕ ХАРАКТЕРИСТИКИ; Длины щеток очистителя ветрового стекла
ТЕХНИЧЕСКИЕ ХАРАКТЕРИСТИКИ Длины щеток очистителя ветрового стекла Размер в мм (дюймах) Позиция Правая сторона Левая сторона 700 (27,6) 750 (29,5) Автомобили с автоматиче-скими щетками 650 (25,6) 750 (29,5) Автомобили без автоматиче-ских щеток 55 Стеклоочистители и стеклоомыватели
Страница 58 - Стояночные фонари; с правой стороны; Дальний и ближний свет фар; Осветительное оборудование
ОРГАНЫ УПРАВЛЕНИЯОСВЕТИТЕЛЬНЫМОБОРУДОВАНИЕМ Переключатель приборов наружногоосвещения E70718 A B C Вентилятор выключен A Передние и задние габаритныефонари B Фары C Стояночные фонари ПРЕДОСТЕРЕЖЕНИЕ Включение стояночных фонарей втечение длительного времени можетпривести к разряду аккумуляторной бата...
Страница 59 - АДАПТИВНОЕ ОСВЕЩЕНИЕ
Освещение для безопаснойостановки автомобиля Выключите зажигание и включите фары,потянув рычаг указателей поворота всторону рулевого колеса (до упора).Раздастся короткий звуковой сигнал. Фарыавтоматически выключатся через триминуты (если открыта хотя бы одна дверь)или через 30 секунд после закрывани...
Страница 60 - Рекомендуемые положения наклона световых пучков фар; Максимальная; Табличка с идентификационным номером автомобиля; Автомобили с активной подвеской.
РЕГУЛИРОВКА ФАР - ВКОМПЛЕКТАЦИЮ АВТОМОБИЛЯВХОДИТ: АДАПТИВНОЕПЕРЕДНЕЕОСВЕЩЕНИЕ/ГАЗОРАЗРЯДНЫЕФАРЫ Чтобы настроить фары для правостороннегоили левостороннего движения, обратитеськ дилеру. КОРРЕКЦИЯ НАКЛОНАСВЕТОВЫХ ПУЧКОВ ФАР Примечание: Автомобили с ксеноновымифарами оборудованы автоматическойкоррекцие...
Страница 61 - СИСТЕМА АДАПТИВНОГО ГОЛОВНОГО ОСВЕЩЕНИЯ (AFS); без системы AFS
АВАРИЙНАЯ СВЕТОВАЯСИГНАЛИЗАЦИЯ Примечание: В зависимости от Правилдорожного движения и прочих законов,действующих в той стране, где былпроизведен ваш автомобиль, лампыаварийной световой сигнализации могутмигать также при экстренномторможении. E71943 Расположение элементов: См. Быстрый обзор (стр. 11...
Страница 62 - Фары освещения поворота; Свет фар
Система адаптивного головного светаизменяет направление ближнего света фарв зависимости от скорости автомобиля иугла поворота рулевого колеса. Этопозволяет улучшить освещение дороги придвижении ночью и избежать ослепленияводителей встречных автомобилей. Система отключается во время остановкиавтомоби...
Страница 63 - УКАЗАТЕЛИ ПОВОРОТА; Вентилятор выключен
УКАЗАТЕЛИ ПОВОРОТА E70727 Примечание: Слегка нажмите на рычагвверх или вниз, чтобы индикаторыповорота мигнули три раза. ПЛАФОНЫ ВНУТРЕННЕГООСВЕЩЕНИЯ Центральный плафон освещениясалона C B A E71945 Вентилятор выключен A Действие от контактов дверей B Включено C Если переключатель находится в положени...
Страница 64 - Лампа подсветки зеркальца; СНЯТИЕ ФАРЫ; поражения электрическим током.; Открывание и; Подтяните фару как можно ближе к
Лампа подсветки зеркальца A B E72900 Вентилятор выключен A Включено B Если вы выключите зажигание, то, воизбежание разрядки аккумуляторнойбатареи, через некоторое время лампыподсветки зеркальца погаснут. Чтобывключить лампы, на короткое времявключите зажигание. СНЯТИЕ ФАРЫ ПРЕДУПРЕЖДЕНИЕ Замену ксен...
Страница 65 - ЗАМЕНА ЛАМП; Фара головного света
Примечание: При установке фарыубедитесь в ее надежной фиксации состороны нижней точки крепления. Примечание: Перед тем как установитьфару, убедитесь в том, что передний винтрасполагается в молдинге фары. Примечание: При установке фары сначалазатяните передний, а затем заднийкрепёжные винты. ЗАМЕНА Л...
Страница 66 - Боковой повторитель; Аккуратно снимите боковой повторитель
Фары - дальний свет 1. Снимите модуль фары. См. Снятие фары (стр. 62). E72261 3 2 2. Отсоедините штекерный разъем. 3. Освободите зажим и снимите лампу. Лампа ближнего света фары 1. Снимите модуль фары. См. Снятие фары (стр. 62). E72260 3 2 2. Поверните против часовой стрелки и снимите патрон лампы. ...
Страница 67 - Лампа подсветки входа; Установите отвертку в зазор между
E72291 2. Снимите патрон лампы. 3. Извлеките лампу. Лампа подсветки входа Примечание: Поверните стекло зеркаладо конца внутрь. E72264 1 1. Установите отвертку в зазор между краем корпуса зеркала и его стеклом иотсоедините металлический фиксатор. E72265 2 3 2. Снимите модуль лампы. 3. Извлеките лампу...
Страница 74 - Плафоны освещения салона
Фонарь подсветки регистрационногознака E72789 3 2 1 1. Осторожно освободите пружинный держатель. 2. Снимите модуль лампы. 3. Поверните лампу против часовой стрелки и извлеките её. Плафоны освещения салона Автомобили, не оборудованныедатчиками проникновения в салон 3 2 E72788 1. Осторожно подденьте р...
Страница 75 - ТАБЛИЦА ТЕХНИЧЕСКИХ ХАРАКТЕРИСТИК ЛАМП; Передний фонарь указателя поворота
2. Снимите рассеиватель. 3. Извлеките лампу. Автомобили, оборудованные датчикамипроникновения в салон E72786 2 2 1 1. Осторожно открепите модуль лампы. 2. Поверните против часовой стрелки и снимите патрон лампы. E73939 3 3. Извлеките лампу. Лампа подсветки зеркальца E72785 1. Осторожно открепите мод...
Страница 77 - Полное открывание и закрывание; Полное открывание/ закрывание; Окна и зеркала
ЭЛЕКТРИЧЕСКИЕСТЕКЛОПОДЪЕМНИКИ ПРЕДУПРЕЖДЕНИЕ Не пользуйтесь электрическимистеклоподъемниками, если на их путиимеются какие-либо препятствия. Примечание: Если часто нажиматьклавиши управлениястеклоподъемниками/люком в течениекороткого периода времени, то, чтобыпредотвратить повреждение вследствиепере...
Страница 78 - функции и привести к травмам.; Закройте окно в третий раз до момента
Автоматическое открывание изакрывание окон Нажмите или поднимите клавишу во второефиксируемое положение, а затем отпуститеее. Для того чтобы остановить стекло,нажмите или поднимите клавишу снова. Выключатель стеклоподъемниковзадних дверей (защита ототкрывания окон детьми) Примечание: Управлятьстекло...
Страница 79 - Поднимите клавишу выключателя и; Безопасный режим; Зеркала, складываемые вручную; Складывание
Восстановление настроек памятиэлектрических стеклоподъемников ПРЕДУПРЕЖДЕНИЕ До момента восстановления настроекпамяти функция защиты отзащемления не действует. Если аккумуляторная батарея былаотсоединена, то после ее подсоединениянеобходимо восстановить в запоминающемустройстве настройки, соответств...
Страница 80 - Наклон зеркала; Окна и
НАРУЖНЫЕ ЗЕРКАЛА ЗАДНЕГОВИДА С ЭЛЕКТРОПРИВОДОМ A C B E70846 Левое зеркало A Вентилятор выключен B Правое зеркало C Наклон зеркала E70847 Наружные зеркала заднего вида сэлектроприводом содержат нагревательныйэлемент, который удаляет наледь иизморось со стекла зеркала. См. Окна и зеркала с обогревом (...
Страница 81 - Функция памяти
E72623 Для складывания и возврата в рабочееположение зеркала нажмите кнопку. Если нажать кнопку повторно при движениизеркал, оно прекратится, и зеркала изменятнаправление движения. Примечание: Если часто нажиматьклавиши управлениястеклоподъемниками/люком в течениекороткого периода времени, то систем...
Страница 86 - Указатель уровня топлива
Указатель уровня топлива Стрелка, находящаяся около символатопливного насоса, указывает, с какойстороны автомобиля расположена крышкагорловины топливного бака. СИГНАЛИЗАТОРЫ ИИНДИКАТОРЫ Все перечисленные ниже сигнализаторы ииндикаторы при включении зажиганиязагораются на короткое время дляподтвержде...
Страница 87 - . Если сигнализатор продолжает; Индикатор свечей накаливания
Указатели поворота Мигает при включении фонарейуказателей поворота. Внезапноеувеличение частоты мигания указывает на перегорание одной из лампуказателей поворота. См. Замена ламп (стр. 63). Сигнализатор неисправности системдвигателя Если этот сигнализаторзагорается при работающемдвигателе, это указы...
Страница 88 - сигнализации этот индикатор будет мигать.; Сигнализатор сообщений; Индикатор переключения передач
Сигнализатор неисправностисистемы электроснабжения (разрядааккумуляторной батареи) Если этот сигнализаторзагорается во время движения,это указывает на неисправность. Выключите все ненужноеэлектрооборудование. Система должна бытьнемедленно проверена специалистом,прошедшим соответствующую подготовку. ...
Страница 90 - ОБЩАЯ ИНФОРМАЦИЯ; Органы управления
ОБЩАЯ ИНФОРМАЦИЯ ПРЕДУПРЕЖДЕНИЕ Не используйте органы управленияинформационного дисплея во времядвижения автомобиля. Примечание: Информационный дисплейостается включенным в течениенескольких минут после выключениязажигания. При помощи кнопок, расположенных нарулевом колесе, вы можете управлятьразлич...
Страница 91 - вверх
Тип 3 Тип 2 Тип 1 Функция X X - Настройки дисплея X X - Настройка автономного отопителя X - - Управление навигацией X - - Управление проигрывателемкомпакт-дисков X - - Управление CD-чейнджером X - - Управление радиоприемником X - - Управление мобильным телефоном X - - Управление дополнительным входо...
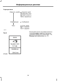
Страница 92 - Структура меню; Инфopмaция; для просмотра; Маршрутный компьютер
Структура меню Инфopмaция Cбpocить пpoбeг Oдoмeтp пpoб.Cpeд.pacx.тoплCpeдн.cкopocтьBce пapaмeтpы Сообщения Часы Уcтaн. вpeм.24-ч фopмaт12-ч фopмaт E87751 Тип 2 E74426 6,3 Ср.расх.топл 09:00 234,2 km 123456 km l 100km Используйте кнопки на рулевом колесе сострелками вверх и вниз для просмотра показан...
Страница 95 - Список устройств
Тип 3 E88048 Используйте органы управления дляперехода к другим позициям меню. Список устройств Выделенная пиктограмма показываеттекущее меню. Система навигации Проигрыватель CD CD-чейнджер Автомагнитола Телефон Маршрутный компьютер Настройки Дополнительный вход 93 Информационные дисплеи
Страница 96 - CD
Структура меню CD Haвигaция ДoмaЛюб. пользв.Фaвopиты A-ZПocл.иcпoльзOтм. пpoвoдн. Пункты назначенияПункты назначенияПункты назначения Папка / Записи Папка / ЗаписиПапка / ЗаписиПапка / ЗаписиПапка / ЗаписиПапка / ЗаписиПапка / Записи СтанцииСтанцииСтанцииСтанцииСтанцииСтанции Станции Номера Номера Н...
Страница 99 - МАРШРУТНЫЙ КОМПЬЮТЕР; Регистрирует общий пробег автомобиля.
Hacтpoить СубботаВоскресенье Среда Вторник Пятница Четверг Понедельник Hacтpoить СубботаВоскресенье Среда Вторник Пятница Четверг Понедельник Время 1 Время 2 Oднopaзoвoe Ceйчac вкл. Cтoян. oбoгpeв Дoпoлнит. вxoд B A E88067 МАРШРУТНЫЙ КОМПЬЮТЕР Одометр Регистрирует общий пробег автомобиля. Счетчик ча...
Страница 101 - ПЕРСОНАЛЬНЫЕ НАСТРОЙКИ; Навигационная информация
1. С помощью кнопок со стрелками вверх и вниз выделите Маршрутный компьютер и нажмите кнопку с правой стрелкой. 2. Выделите функцию сброса. 3. Удерживайте кнопку OK . ПЕРСОНАЛЬНЫЕ НАСТРОЙКИ При выборе данной функции на дисплеебудет отображена следующая информация: Помощь, информация орадиоприёмнике,...
Страница 102 - Язык сообщений
Типы 1 и 2 1. Нажмите кнопку с правой стрелкой на рулевом колесе, чтобы войти в главноеменю. 2. С помощью кнопок со стрелками вверх и вниз выделите Установка и нажмите кнопку с правой стрелкой. 3. Выделите Дисплей и нажмите кнопку с правой стрелкой. 4. Выделите Конфигурация и нажмите кнопку с правой...
Страница 107 - иммобилайзера двигателя; Освещение; Замена ламп
иммобилайзера двигателя; Описание Сигнализатор появления предупреждаю- щего сообщения Сообщение Иммобилайзер включен. См. Иммобилайзер двигателя (стр. 44). желтый Immobiliser active Система помощи при трогании в гору (HLA) Описание Сигнализатор появления предупреждаю- щего сообщения Сообщение Неиспр...
Страница 108 - Обслуживание
Описание Сигнализатор появления предупреждаю- щего сообщения Сообщение Одна или обе лампы задних противотуманных фонарей перегорели. Проверьте лампы задних противотуманных фонарей. См. Замена ламп (стр. 63). - Rear fog light: Bulb fault Одна или обе лампы стоп-сигналов перегорели. Проверьте лампы ст...
Страница 109 - Электрический стояночный
Защита пассажиров Описание Сигнализатор появления предупреждаю- щего сообщения Сообщение Как можно скорее проверьте систему. - Crash mode Стояночный тормоз Описание Сигнализатор появления предупреждаю- щего сообщения Сообщение Во время движения тормоз должен быть освобо- жден. Несоблюдение этого пра...
Страница 110 - Рулевое управление с усилителем
Описание Сигнализатор появления предупреждаю- щего сообщения Сообщение Неисправность электрического стояночного тормоза. Как можно скорее проверьте состояние подушек безопасности. - Park brake service reqd. Рулевое управление с усилителем Описание Сигнализатор появления предупреждаю- щего сообщения ...
Страница 111 - Технические
Коробка передач Описание Сигнализатор появления предупреждаю- щего сообщения Сообщение Неполадки в работе коробки передач. Как можно скорее проверьте состояние подушек безопас- ности. красный Неполадки в коробке передач Увеличение температуры в АКП сверх допустимого значения. Как можно скорее провер...
Страница 112 - Голосовое управление
Описание Сигнализатор появления предупреждаю- щего сообщения Сообщение Несколько датчиков (не более трех) неисправно, незарегистрированное устройство взаимодействуетс системой или обнаружена общая неисправность. Как можно скорее проверьте систему. При появ- лении этой неисправности система TPMS не с...
Страница 113 - Поступление наружного воздуха; Отопление; Плотно закрывайте все окна.; Охлаждение салона; Направляйте поток воздуха в лицо.; Передние дефлекторы; Органы управления микроклиматом
ПРИНЦИПЫ РАБОТЫ Поступление наружного воздуха Не допускайте закупориваниявоздухозаборных отверстий перед ветровымстеклом (снегом, листьями и т.п.), чтобысистема кондиционирования воздуха моглаработать эффективно. Рециркуляция воздуха ПРЕДОСТЕРЕЖЕНИЕ Длительное использование режимарециркуляции воздух...
Страница 114 - Дефлекторы второго ряда сидений; Дефлекторы третьего ряда сидений; Ветровое стекло
Дефлекторы второго ряда сидений E73131 A B C Воздух поступает через нижнийдефлектор A Воздух поступает через верхнийдефлектор B Верхний дефлектор C Используйте верхние дефлекторы дляудаления инея или влаги с боковых стёкол. Дефлекторы третьего ряда сидений E73132 РУЧНОЙ РЕЖИМ УПРАВЛЕНИЯМИКРОКЛИМАТОМ...
Страница 115 - На уровне лиц пассажиров; Вентилятор салона; Рециркуляция воздуха
На уровне лиц пассажиров E На уровне лиц пассажиров иветрового стекла F Регулятор распределения воздуха такжеможно установить в любое промежуточноеположение (между символами) для болееточной настройки. Вентилятор салона E75470 A Вентилятор выключен A Примечание: При выключенномвентиляторе салона вет...
Страница 116 - останется включённым.
Охлаждение салона наружным воздухом E71380 Быстрое охлаждение салона E71381 Удаление инея и снега с ветрового стекла E71382 При температуре выше 4°C кондиционервоздуха включится автоматически.Убедитесь в том, что включен вентиляторсалона. Во время удаления льда и влагигорит индикатор, встроенный впе...
Страница 118 - AUTO; включает; Установка требуемой температуры; LO; исчезнет с
Ваш автомобиль оснащен двухзоновой илитрехзоновой системой. Если системанаходится в режиме "моно", всетемпературные зоны связаны с зонойводителя. После выключения режима"моно", двухзонная система позволяетустанавливать различные температурывоздуха в салоне в зонах водителя ипассажира...
Страница 121 - Температура зоны задних пассажиров; Задний вентилятор салона
Примечание: Если система выключена, выне сможете установить температуру длязоны задних пассажиров ниже, чем средняятемпература, между температур,установленных для переднего пассажираи водителя. Переключение между режимамикондиционирования воздуха спереди исзади E70313 Нажмите кнопку . На дисплее ото...
Страница 122 - для возврата в; ОКНА И ЗЕРКАЛА С ОБОГРЕВОМ; Обогрев ветрового стекла
Когда система работает в режимекондиционирования задней части салона,нажмите кнопку AUTO для возврата в автоматический режим. В режиме "авто"управление вентилятором салона для зонызадних пассажиров осуществляетсяавтоматически. На дисплее показано AUTO . Включение и выключение заднейавтоматич...
Страница 124 - Время 1
E74467 Одноразово Время 1 Время 2 Включено Стоян.обогр • Функции Программа 1 и Программа 2 позволяют запрограммировать дваразных времени для каждого днянедели. Эти установки временисохранятся и отопитель будетпрогревать автомобиль к этому временив эти дни каждую неделю. • Функция Один раз позволяет ...
Страница 126 - OK; Для выхода из меню нажмите на кнопку; Дистанционный запуск; Запуск
3. Выделите Доп. отопитель и нажмите кнопку OK , чтобы указать - включить или выключить отопитель. Когда отопительвключен, в соответствующем квадратена дисплее появится крестик. 4. Для выхода из меню нажмите на кнопку с левой стрелкой. Нажмите иудерживайте кнопку "Стрелка влево" длявозврата ...
Страница 127 - Вставьте отвертку или другой; Осторожно извлеките наружу элемент; Таблица характеристик плавких
Оранжевый светодиод на пульте мигаетоколо 5 секунд. Это показывает, что сигналне был передан. Необходимо как можноскорее подзарядить элементы питанияпульта. Замена элемента питания пультадистанционного управления Утилизацию использованных аккумуляторследует выполнять в соответствии сдействующими нор...
Страница 128 - Сиденья
СИДЕНИЕ В ПРАВИЛЬНОМПОЛОЖЕНИИ E68595 ПРЕДУПРЕЖДЕНИЯ Не регулируйте сиденья во времядвижения. Только правильно пристегнутыйремень безопасности может удержатьваше туловище в том положении, в котором достигается оптимальный эффектсрабатывания подушки безопасности. Правильная регулировка и использование...
Страница 131 - ПОДГОЛОВНИКИ; Снятие подголовников; ЗАДНИЕ СИДЕНЬЯ; Второй ряд сидений; Перемещение сидений назад и вперед
ПОДГОЛОВНИКИ Отрегулируйте положениеподголовников. ПРЕДУПРЕЖДЕНИЯ Поднимите подголовники заднихсидений, если они занятыпассажирами. При установке на заднее сиденьедетского устройства безопасности,предназначенного для перевозки ребёнка лицом вперед, всегда снимайтеподголовник с этого сиденья. E71879 ...
Страница 132 - Регулировка спинки сиденья; Чтобы поднять спинку сиденья, потяните
Регулировка спинки сиденья E72645 1. Чтобы опустить спинку сиденья, потяните вверх рычаг регулировки длявнешнего сиденья или планку дляцентрального сиденья и отклонитеспинку назад, пока она не достигнетжелаемого положения. 2. Чтобы поднять спинку сиденья, потяните рычаг регулировки вверх и подвиньте...
Страница 133 - Третий ряд сидений
3. Поднимите спинку вверх, до тех пор пока она не зафиксируется. 4. Чтобы передвинуть сиденье назад, потяните вверх рычаг, находящийся подпередней частью сиденья, и подвиньтеэто сиденье. Складывание спинки сиденья вниз ПРЕДУПРЕЖДЕНИЕ При складывании вниз спинок сиденийпостарайтесь не класть пальцы м...
Страница 134 - Складывание сидений в уровень пола
E72647 Регулировка спинки сиденья (Galaxy) E75381 1. Чтобы опустить спинку сиденья, потяните вверх планку и отклонитеспинку назад, пока она не достигнетжелаемого положения. 2. Чтобы поднять спинку сиденья, потяните планку вверх и дайте спинке вернутьсяв вертикальное положение. Складывание сидений в ...
Страница 135 - Создание уровня нагрузки на пол
1. Потяните за петлю задней части подушки сиденья и складывайтеподушку вперед, до тех пор пока она несравняется с уровнем пола ( 1 ). 2. Возьмитесь за рукоятку ( A ) и потяните петлю ( B ) в основании спинки сиденья вверх и назад( 2 ). 3. С помощью рукоятки сложите спинку сиденья вниз, в уровень пол...
Страница 136 - СИДЕНЬЯ С ОБОГРЕВОМ; ВЕНТИЛИРУЕМЫЕ СИДЕНЬЯ
СИДЕНЬЯ С ОБОГРЕВОМ ПРЕДОСТЕРЕЖЕНИЕ Включение этой функции принеработающем двигателе приводит кразряду аккумуляторной батареи. E70601 E71224 Примечание: При выключении зажиганиясохраняются последние настройкисистемы обогрева сидений. ВЕНТИЛИРУЕМЫЕ СИДЕНЬЯ ПРЕДОСТЕРЕЖЕНИЕ Включение этой функции прине...
Страница 138 - СОЛНЦЕЗАЩИТНЫЕ КОЗЫРЬКИ; Боковые окна; Для отпускания шторки нажмите на кнопку.; ЧАСЫ; Функции обеспечения комфорта
СОЛНЦЕЗАЩИТНЫЕ КОЗЫРЬКИ Боковые окна E74809 A A Потяните шторку вверх и закрепите ее вкрючках ( A ). Крыша (Galaxy) E74808 Крыша (S-Max) E74807 Для отпускания шторки нажмите на кнопку. РЕГУЛЯТОР ЯРКОСТИПОДСВЕТКИ ПАНЕЛИ ПРИБОРОВ E70723 ЧАСЫ Примечание: Некоторые системынавигации автоматически устанав...
Страница 139 - ПРИКУРИВАТЕЛЬ; ПЕПЕЛЬНИЦА; Передняя пепельница; Для очистки вытяните пепельницу целиком.; Задняя пепельница
4. Используя кнопки-стрелки вправо, влево, вверх и вниз, выберите иизмените значение. 5. Нажмите OK . ПРИКУРИВАТЕЛЬ ПРЕДОСТЕРЕЖЕНИЯ Использование розеток принеработающем двигателе можетпривести к разряду аккумуляторной батареи. Не удерживайте прикуриватель внажатом положении. Примечание: Чтобы воспо...
Страница 140 - Galaxy; ПОДСТАВКИ ДЛЯ СТАКАНОВ; Подносы в спинках сидений; сложены и надёжно зафиксированы.; ПЕРЧАТОЧНЫЙ ЯЩИК; Охлаждаемый перчаточный ящик
Примечание: Питание к розеткамподаётся даже при выключенномзажигании. Примечание: Розетку также можноиспользовать для питания приборов,рассчитанных на напряжение питания 12В и номинальный ток не более 15 А. Дляподключения электроприборовиспользуйте только рекомендованныесоединительные элементы из чи...
Страница 141 - МЕСТА ДЛЯ ХРАНЕНИЯ ВЕЩЕЙ; Переднее вещевое отделение
E70885 МЕСТА ДЛЯ ХРАНЕНИЯ ВЕЩЕЙ ПРЕДУПРЕЖДЕНИЕ Не допускайте того, чтобы во времядвижения крышка вещевогоотделения была открыта. Перед началом движения убедитесь в том, чтокрышка надёжно закрыта. ПРЕДОСТЕРЕЖЕНИЕ Не храните в вещевом отделениипредметы и жидкости, чувствительныек нагреву. Переднее вещ...
Страница 142 - Верхнее вещевое отделение; Заднее вещевое отделение
Вещевое отделение, расположенноепод сиденьем E72981 1 2 Верхнее вещевое отделение ПРЕДУПРЕЖДЕНИЕ Не помещайте тяжелые предметы вверхнее вещевое отделение. ПРЕДОСТЕРЕЖЕНИЕ Не помещайте в меньшее вещевоеотделение предметы тяжелее 1 кг, а вбольшее вещевое отделение - тяжелее 2 кг. E73067 Заднее вещевое...
Страница 143 - КАРМАНЫ ДЛЯ КАРТ
Вещевое отделение, расположенноепод полом ПРЕДУПРЕЖДЕНИЕ При использовании на втором рядусидений устройства безопасностидетей с поддерживающей опорой убедитесь в надежности крепленияподдерживающей опоры на крышкеподпольного вещевого отделения.Убедитесь в правильности установки ввещевом отделении про...
Страница 145 - Активное сохранение; Отрегулируйте положение сиденья и; CD ЧЕЙНДЖЕР
Активное сохранение 1. Включите зажигание. 2. Отрегулируйте положение сиденья и наружных зеркал. 3. Нажмите и удерживайте одну из кнопок сохранения в памяти B , пока не услышите одиночную мелодию курантов,подтверждающую сохранение. Установка сиденья в одно изсохранённых в памяти положений Примечание...
Страница 147 - Общие правила пуска двигателя; ВЫКЛЮЧАТЕЛЬ ЗАЖИГАНИЯ; Пуск двигателя
ОБЩАЯ ИНФОРМАЦИЯ Общие правила пуска двигателя Если аккумуяторная батарея былаотсоединена, то после ее подсоединенияавтомобиль может проявлять некоторыенетипичные ходовые качества напротяжении примерно 8 км пробега. Это объясняется тем, что системеуправления двигателем требуетсяперенастройка для соо...
Страница 148 - Холодный/прогретый двигатель; Если двигатель не запускается после
Рулевое управление разблокируется привключении зажигания. ПУСК БЕНЗИНОВОГОДВИГАТЕЛЯ Примечание: Стартер нельзя включатьна время свыше 30 секунд. Холодный/прогретый двигатель Для всех автомобилей ПРЕДОСТЕРЕЖЕНИЕ Если температура опускается ниже-20ºC, перед запуском двигателяследует включить зажигание...
Страница 149 - Переведите ключ зажигания в; Постепенно отпускайте педаль; ПУСК ДИЗЕЛЬНОГО ДВИГАТЕЛЯ; Для всех автомобилей
Если двигатель холодный, частотахолостого хода будет автоматическиувеличена, чтобы как можно скорее прогретькаталитический нейтрализатор. Тем самымобеспечивается минимальная токсичностьотработавших газов. По мере прогревания каталитическогонейтрализатора частота холостого будетпостепенно снижаться. ...
Страница 150 - Регенерация; Не выключайте зажигание.
Примечание: Стартер нельзя включатьна время свыше 30 секунд. Включите зажигание и ждите, покане загорится индикатор свечизажигания. Автомобили с механической коробкойпередач Примечание: Не нажимайте педальакселератора. 1. Нажмите педаль сцепления до упора. 2. Запустите двигатель. Автомобили с автома...
Страница 151 - ВЫКЛЮЧЕНИЕ ДВИГАТЕЛЯ; ПОДОГРЕВАТЕЛЬ ДВИГАТЕЛЯ
ВЫКЛЮЧЕНИЕ ДВИГАТЕЛЯ Автомобили с дизельнымидвигателями ПРЕДОСТЕРЕЖЕНИЕ Не выключайте двигатель, когда онработает на высоких оборотах. Иначетурбонасос продолжит работать, после того, как давление масла снизится до нуля.Это приведет к преждевременному износуподшипника турбокомпрессора. Отпустите педа...
Страница 152 - Топливо и заправка
МЕРЫ ПРЕДОСТОРОЖНОСТИ ПРЕДУПРЕЖДЕНИЯ Прекращайте заправку, после того какзаправочный пистолет отключится вовторой раз. Лишнее топливо заполняет расширительное пространствотопливного бака, что может привести квыплескиванию топлива из бака.Выплескивание топлива - это источникопасности для других участ...
Страница 153 - Длительное хранение
Длительное хранение Так как в топливе Е85 может содержатьсянебольшое количество коррозионныхпримесей, перед постановкой автомобиляна длительное хранение заправляйте еготопливный бак только неэтилированнымбензином с октановым числом 95. КАЧЕСТВО ТОПЛИВА -ДИЗЕЛЬНЫЙ ПРЕДУПРЕЖДЕНИЕ Не смешивайте дизельн...
Страница 154 - ЗАПРАВКА ТОПЛИВОМ; ЗАПРАВКА ТОПЛИВОМ - E85; РАСХОД ТОПЛИВА
ПРЕДОСТЕРЕЖЕНИЯ Не выключайте зажигание во времядвижения. КРЫШКА ЛЮЧКА ЗАЛИВНОЙГОРЛОВИНЫ Примечание: Система централизованнойблокировки замков также позволяетзаблокировать и разблокировать крышкутопливного бака. См. Блокировка иразблокировка замков (стр. 39). Примечание: При снятии крышки заливнойго...
Страница 155 - Расход топлива
Они даются с целью сравнения показателейразличных версий и комплектацийавтомобиля. Также вышеуказанныезначения не предназначены для отраженияреальной топливной экономичности вашегоавтомобиля. Реальная топливнаяэкономичность автомобиля определяетсямножеством факторов, среди которых: стильвождения, эк...
Страница 157 - повреждению коробку передач.; Включение передачи заднего хода; Коробка передач
МЕХАНИЧЕСКАЯ КОРОБКАПЕРЕДАЧ Для всех автомобилей ПРЕДОСТЕРЕЖЕНИЯ Запрещается включать передачузаднего хода при движенииавтомобиля. Это может привести к повреждению коробку передач. Не применяйте чрезмерное боковоеусилие при переключении с 5-й на 4-уюпередачу. Это может привести к ненужному включению...
Страница 158 - двигателя, равной частоте холостого хода.
Нажмите специальную кнопку на рычагеселектора, для того чтобы перевести его вположение R (передача заднего хода) и P(парковка) Выбранное положение селектораотображается на информационном дисплее. Парковка ПРЕДУПРЕЖДЕНИЯ Включайте режим парковки(положение P) только на неподвижномавтомобиле. Перед вых...
Страница 159 - Режимы движения; Трогание с места; Отпустите педаль тормоза и нажмите; Остановка; Отпустите педаль акселератора и; Режим Kickdown; Вставьте небольшой плоский
Режимы движения Коробка передач включит передачу,оптимальным образом соответствующуютемпературе окружающего воздуха,дорожному уклону, загрузке автомобиля истепени управляющего воздействияводителя. Рекомендации по управлениюавтомобилем с автоматическойкоробкой передач Трогание с места 1. Отпустите ст...
Страница 160 - Дисковые тормозные механизмы; слишком велика скорость на повороте; СТОЯНОЧНЫЙ ТОРМОЗ; Включение стояночного тормоза; Тормоза
ПРИНЦИПЫ РАБОТЫ Дисковые тормозные механизмы Попадание влаги в дисковые тормозныемеханизмы приводит к уменьшениюэффективности торможения. На обратномпути после мойки слегка нажмите педальтормоза несколько раз, чтобы избавитьсяот водяной пленки, неисправности системы ABS; ПРЕДУПРЕЖДЕНИЕ Система ABS н...
Страница 161 - Слегка приподнимите рычаг стояночного; чем покинуть автомобиль.; Стоянка на холме; Потяните выключатель один раз.
Стоянка на подъеме Если вам необходимо оставить автомобильна стоянке, обращенным передней частьюна верх подъема, включите первуюпередачу и поверните передние колеса всторону от бордюра тротуара. Если вамнеобходимо оставить автомобиль настоянке, обращенным передней частью внизподъема, включите первую...
Страница 163 - Отключение EPB; Ручное отключение
Если включить электрический стояночныйтормоз во время движения автомобиля, тона панели приборов загорится сигнализатортормозной системы и раздастсяпредупреждающий звуковой сигнал (ударгонга). На скорости выше 6 км/ч (4 миль/ч)тормозная сила действует до тех пор, покавы удерживайте выключатель в поло...
Страница 165 - управлением автомобилем.; Сигнализаторы и; Помощь при экстренном торможении; Система динамической стабилизации
ПРИНЦИПЫ РАБОТЫ Система курсовой устойчивости(ESP) ПРЕДУПРЕЖДЕНИЕ Система ESP не дает водителювозможности пренебрегатьаккуратным и внимательным управлением автомобилем. E72903 A A A B B B B без системы ESP A с системой ESP B Система ESP поддерживает курсовуюустойчивость в начальный моментотклонения ...
Страница 167 - Настройка режима HLA:; Автоматич; Нажмите кнопку с правой стрелкой на; Setup; Выделите подсветкой пункт; Hill Launch; и нажмите на кнопку с правой стрелкой.; Система помощи при трогании на подъеме
ПРИНЦИПЫ РАБОТЫ Система HLA позволяет облегчить троганиеавтомобиля с места, когда он находится наподъеме, без использования стояночноготормоза. Когда система HLA активирована,автомобиль, находясь на подъеме (спуске),остается на месте в течение двух - трехсекунд, после того как вы отпустите педальтор...
Страница 168 - Активация системы HLA
4. Выделите подсветкой желаемую настройку и для подтверждения нажмитена кнопку OK . Если выбран вариант Off (Выключено), система HLA выключается,и ее нельзя активировать ниавтоматически, ни вручную. 5. Для выхода из меню нажмите кнопку с левой стрелкой. Нажмите и удерживайтекнопку "Стрелка влево...
Страница 169 - Отключение системы HLA; Для отключения системы HLA выполните
ПРЕДУПРЕЖДЕНИЕ Если система HLA работает вактивном режиме, и в ней выявленанеисправность, система отключается, и появляется сообщение Please use park brake! (Используйте стояночный тормоз!), а затем Hill Launch A .not available (Система недоступна). Вы можетепродолжать безопасную эксплуатациюавтомоб...
Страница 170 - Комфортный; Нормальный вариант настройки.; Спортивный; Более жесткий, спортивный стиль движения.; Выбор варианта настройки; Активная подвеска
ПРИНЦИПЫ РАБОТЫ Активная подвеска обеспечиваетулучшенную управляемость, комфорт истабильность движения путем постояннойрегулировки демпфирующих свойств взависимости от состояния дороги и условийезды. Эта система, вместе с системой ABS,потенциально обеспечивает более короткийтормозной путь на неровно...
Страница 171 - обнаруживать препятствия.; Система помощи при парковке
ПРИНЦИПЫ РАБОТЫ ПРЕДУПРЕЖДЕНИЕ Система помощи при парковке неснимает с вас ответственности зауправление автомобилем. ПРЕДОСТЕРЕЖЕНИЯ Автомобили, оборудованные неодобренным нами буксирнымустройством, могут неверно обнаруживать препятствия. Способность датчиков к выявлениюпрепятствий может нарушиться ...
Страница 173 - извилистых или скользких дорогах.; Включение системы круиз-контроля; Нажмите на кнопку; Система круиз-контроля
ПРИНЦИПЫ РАБОТЫ Система круиз-контроля позволяет вамуправлять скоростью автомобиля припомощи кнопок, вынесенных на рулевоеколесо. Системой круиз-контроля можнопользоваться, если скорость автомобиляпревышает 30 км/ч. ИСПОЛЬЗОВАНИЕ СИСТЕМЫКРУИЗ-КОНТРОЛЯ ПРЕДУПРЕЖДЕНИЕ Системой круиз-контроля не следуе...
Страница 174 - CAN; RES; OFF
Нажмите на кнопку SET+ или SET- , чтобы увеличить или уменьшить значениестабилизируемой скорости. Отмена режима стабилизациискорости E70614 Нажмите на педаль тормоза или на кнопку CAN . После этого система круиз-контроля не будет поддерживать заданную скорость.Индикатор включения системыкруиз-контро...
Страница 175 - неподвижным автомобилям.
ПРИНЦИПЫ РАБОТЫ Адаптивная система круиз-контроляпомогает водителю поддерживатьбезопасную дистанцию до следующеговпереди автомобиля, а также ограничиватьмаксимальную скорость движения. Системаулучшает управление автомобилем,который движется за другими автомобилямив том же направлении и по той же пол...
Страница 176 - крутые повороты и виражи дороги.
• Следите за чистотой передней частиавтомобиля, очищайте ее от грязи,металлических или иных объектов,попавших в решетку; не закрывайтерешетку радиатора защитнымиограждениями или дополнительнымифарами, которые нарушат работурадара. • Не пользуйтесь системой ACC привъезде на автомобильную дорогу илипр...
Страница 177 - Выключатель системы ACC; Включение системы ACC; Нажмите на переключатель; Standby
ПРЕДУПРЕЖДЕНИЕ После предупреждения вам следуетпредпринять немедленные действия,поскольку система ACC не может самостоятельно обеспечить безопаснуюдистанцию до следующего впередиавтомобиля. ИСПОЛЬЗОВАНИЕ СИСТЕМЫАДАПТИВНОГО КРУИЗ-КОНТРОЛЯ (ACC) Система управляется с помощью органовуправления, располо...
Страница 178 - ACC; Установка дистанции
Нажмите на кнопку SET+ или SET- , чтобы увеличить или уменьшить значениестабилизируемой скорости. Скорость,значение которой выведено на дисплей,будет установлено и запомнено. Горитиндикатор ACC . Примечание: Скорость движения можноувеличивать или уменьшать с шагом 5км/ч (или 5 миль/ч). Можно задать ...
Страница 179 - Отмена работы системы ACC; Выключение системы ACC; ACC cancel; двигатель не прогрет
Нажмите на клавишу E для уменьшения заданной дистанции или нажмите наклавишу D ,чтобы увеличить дистанцию. Заданная дистанция отображается числомгоризонтальных полос, выведенных надисплей. Рекомендуемая дистанция: от трехдо пяти полос. Примечание: Дистанция связана свременем движения и, следовательн...
Страница 180 - неподвижные автомобили.
Примечание: Система ACC не будетработать, если водитель вручнуюотключит систему динамическойстабилизации (ESP). ФУНКЦИЯ КОНТРОЛЯДИСТАНЦИИ ДО ВПЕРЕДИИДУЩЕГО АВТОМОБИЛЯ СРЕГУЛИРОВКОЙ СКОРОСТИДВИЖЕНИЯ Система предупреждения о препятствииперед автомобилем снижает вероятностьстолкновения и уменьшает посл...
Страница 181 - Индикатор будет гореть.; Общая информация
ПРЕДОСТЕРЕЖЕНИЕ Предупреждающий сигнал может бытьподан с опозданием, вообще не поданили подан без основания, если из-за дорожной ситуации радар не способенправильно обнаружить следующий впередиавтомобиль. Система предупреждения овозможном столкновении использует тот жерадар, что и адаптивная система...
Страница 182 - газы могут проникнуть в салон.; Идентификация; Перевозка груза
ОБЩАЯ ИНФОРМАЦИЯ ПРЕДУПРЕЖДЕНИЯ Используйте хомуты для удерживаниябагажа, которые соответствуютутвержденному стандарту, например, DIN. Надежно закрепите всенезакрепленные предметы. Размещайте багаж и грузы как можнониже и как можно ближе к переднейчасти автомобиля, в багажном или грузовом отсеке. Дв...
Страница 184 - Автомобили с третьим рядом сидений.
S-MAX A B A B C A C B E75394 Автомобили без третьего ряда сидений. Поднимите напольное покрытие дляполучения доступа к точкам крепления. B1 Автомобили с третьим рядом сидений. B2 182 Перевозка груза
Страница 185 - Вещевой отсек
СДВИЖНОЙ ПОЛО БАГАЖНОГООТДЕЛЕНИЯ ПРЕДУПРЕЖДЕНИЕ Не перемещайте пол грузового отсеканазад, если автомобиль стоит нанаклонной поверхности с крутизной уклона 15% и более и развернут передкомвверх. ПРЕДОСТЕРЕЖЕНИЕ Максимально допустимая нагрузка насдвижной пол грузового отсека - 200 кг. Максимально допу...
Страница 186 - Сдвижной поло багажного отделения
E74812 1 2 E74813 3 1. Нажмите на рукоятку снятия блокировки и немного переместите пол грузовогоотсека назад. 2. Приподнимите заднюю часть платформы пола ( 1 ). 3. Толкните платформу вперед до момента ее фиксации в передней части ( 2 ). 4. Высвободите опорную стойку из зажима на тыльной стороне плат...
Страница 187 - СЕТКИ ДЛЯ УДЕРЖАНИЯ ГРУЗОВ; находящимися впереди нее.
S-MAX Автомобили, не оборудованные третьимрядом сидений E75395 СЕТКИ ДЛЯ УДЕРЖАНИЯ ГРУЗОВ Сетка для удерживания багажа - 1-йвариант ПРЕДУПРЕЖДЕНИЕ Не занимайте сиденья, находящиесяпозади установленной сетки длякрепления багажа. ПРЕДОСТЕРЕЖЕНИЕ Оставляйте расстояние не менееодного сантиметра между се...
Страница 190 - Верхний багажник; перед поездкой
КРЫШКИ БАГАЖНОГООТДЕЛЕНИЯ ПРЕДУПРЕЖДЕНИЕ Не кладите на крышку багажногоотделения какие-либо предметы. E72969 Вытяните шторку и закрепите вудерживающих ответстиях. Отсоедините ее от удерживающихотверстий и дайте свернуться в кожух.Зацепите удерживающий крючок на кожухе. E72970 Для снятия или установк...
Страница 191 - Спинка сиденья
ПРИСПОСОБЛЕНИЯ ДЛЯФИКСАЦИИ ГРУЗА E75002 ПРЕДУПРЕЖДЕНИЯ Не поднимайте спинку сиденья, еслиустановлено крепление дляудерживания багажа. Нагрузка на два крепления дляудерживания багажа не должнапревышать 60 кг, а на одно крепление - 30 кг. Проверяйте надёжность и затягивайтекрепления для удерживания ба...
Страница 193 - быть установлен верно.
Установка креплений для багажа E75000 E75001 Установка держателей для багажа ПРЕДУПРЕЖДЕНИЯ Устанавливайте держатели длябагажа длинной стороной к заднейчасти автомобиля. Если держатели установлены неверно, то при аварии корпусможет сдвинуться со своего места. Не устанавливайте держатель длябагажа на...
Страница 198 - БУКСИРОВКА ПРИЦЕПА; Крутые спуски и подъемы; Буксировка
БУКСИРОВКА ПРИЦЕПА ПРЕДУПРЕЖДЕНИЯ Не превышайте скорость 100 км/ч (62мили/ч). Давление в шинах задних колестребуется увеличить до уровня на 0,2бар (3 psi) выше значения, указанного в спецификациях. См. Технические характеристики (стр. 250). Не превышайте допустимуюмаксимальную массу автомобиля иприц...
Страница 199 - Закрепление буксирного крюка
E71328 13-штырьковый разъем прицепа и съемныйбуксирный крюк устанавливаются подзадним бампером. Поверните разъемприцепа на 90 градусов вниз до егофиксации в нижнем положении. Разблокировка механизмабуксирного крюка E71329 2 1 3 1. Снимите предохранительную крышку ( 1 ). Для разблокировки установите ...
Страница 200 - Вождение автомобиля с прицепом; зеленые метки совпадают.; Снятие буксирного крюка
Вождение автомобиля с прицепом E71331 A B ПРЕДУПРЕЖДЕНИЕ Если какое-либо из описанныхусловий не соблюдено, то нельзяиспользовать сцепное устройство. Необходимо произвести его проверку иремонт. Перед началом движения убедитесь в том,что буксирный крюк надёжно зафиксирован.Проверьте следующее: • зелен...
Страница 201 - Вождение автомобиля без прицепа; Уход
Вождение автомобиля без прицепа E94771 1 1. Снимите буксирный крюк. 2. Вставьте заглушку в гнездо ( 1 ). ПРЕДУПРЕЖДЕНИЕ Не допускается разблокироватьбуксирный крюк, если установленприцеп. Уход ПРЕДОСТЕРЕЖЕНИЕ Перед паровой очисткой автомобиляснимайте буксирный крюк и закрывайтеего гнездо заглушкой. ...
Страница 202 - Вставьте ключ в маховичок и поверните
E75174 B C 13-штыревой разъем для подключенияприцепа ( B ) расположен под задним бампером рядом с буксировочной балкой C . E76040 D Примечание: Если система неиспользуется, вставьте ключ в паз дляхранения (D) справа от маховичка. Складывание буксировочногоприспособления ПРЕДУПРЕЖДЕНИЯ Не подносите р...
Страница 204 - Движение с прицепом; маховичок вставлен в корпус без зазора.
4. Вручную поверните буксировочную балку из среднего положения до упорав рабочее положение. Буксировочнаябалка автоматически зафиксируется вкрайнем положении. Если фоновый шумне слишком сильный, вы отчетливоуслышите звук, сопровождающийпроцесс фиксации. После завершенияпроцесса фиксации предупреждаю...
Страница 205 - ОБКАТКА; Шины; Тормозная система и сцепление; Двигатель; Преодоление водной преграды; Проверьте работу звукового сигнала.; Советы по вождению
ОБКАТКА Шины ПРЕДУПРЕЖДЕНИЕ Новые шины нуждаются в обкатке напротяжении примерно 500 км (300миль). В этот период автомобиль может демонстрировать различныединамические характеристики. Тормозная система и сцепление ПРЕДУПРЕЖДЕНИЕ По возможности избегайте резкоготорможения на протяжении первых150 км (...
Страница 206 - АПТЕЧКА; Места; ЗНАК АВАРИЙНОЙ ОСТАНОВКИ; Места для; Аварийное оборудование
АПТЕЧКА E73238 В подпольном вещевом отделениипредусмотрено место для хранения аптечкипервой медицинской помощи. См. Места для хранения вещей (стр. 139). ЗНАК АВАРИЙНОЙ ОСТАНОВКИ E73239 В подпольном вещевом отделениипредусмотрено место для хранения знакааварийной остановки. См. Места для хранения вещ...
Страница 207 - Установка выполняется в обратной; Плавкие предохранители
РАСПОЛОЖЕНИЕ БЛОКОВПЛАВКИХ ПРЕДОХРАНИТЕЛЕЙ Подкапотный блок плавкихпредохранителей E72588 Центральный блок плавкихпредохранителей E72589 1. Ослабьте винты. E72590 2. Поверните фиксатор на 1/4 оборота и извлеките блок предохранителей издержателя. 3. Опустите блок и потяните его на себя. E72622 4. Сни...
Страница 208 - Демонтируйте фиксаторы и снимите крышку.
Задний блок плавкихпредохранителей E72591 Демонтируйте фиксаторы и снимите крышку. ЗАМЕНА ПЛАВКОГОПРЕДОХРАНИТЕЛЯ ПРЕДУПРЕЖДЕНИЯ Не вносите никаких изменений вэлектрическую систему вашегоавтомобиля. Ремонт электрической системы, замена реле и предохранителейвысокой силы тока должны выполнятьсяквалифи...
Страница 209 - ТАБЛИЦА ХАРАКТЕРИСТИК ПЛАВКИХ ПРЕДОХРАНИТЕЛЕЙ; Подкапотный блок плавких предохранителей; Блок управления трансмиссией
ТАБЛИЦА ХАРАКТЕРИСТИК ПЛАВКИХ ПРЕДОХРАНИТЕЛЕЙ Подкапотный блок плавких предохранителей E75525 Защищаемые цепи Цвет Сила тока, А Предохрани- тель Блок управления трансмиссией красный 10 F1 Управление свечой накаливания (для автомо-билей с дизельными двигателями) желто-корич- невый 5 F2 207 Плавкие пр...
Страница 213 - Центральный блок плавких предохранителей
Центральный блок плавких предохранителей E75527 Защищаемые цепи Цвет Сила тока, А Предохрани- тель Датчик дождя желто- коричневый 5 F1 Питание системы SRS (подушки безопасности) красный 10 F2 ABS, датчик рысканья (ESP), электрическийстояночный тормоз (EPB), питание педалиакселератора коричневый 7,5 ...
Страница 215 - коричневый; Задний блок плавких предохранителей
Защищаемые цепи Цвет Сила тока, А Предохрани- тель Узел рулевой колонки, блок управленияклимат-контролем желто- коричневый 5 F27 Выключатель стоп-сигналов желто- коричневый 5 F28 Задний блок плавких предохранителей E75526 213 Плавкие предохранители
Страница 218 - Местоположение буксирной петли; Буксирная петля; Установка буксирной петли; установки буксирной петли; Эвакуация автомобиля
ТОЧКИ КРЕПЛЕНИЯБУКСИРОВОЧНОГООБОРУДОВАНИЯ Местоположение буксирной петли E73240 Буксирная петля с резьбовым креплениемхранится в вещевом отделении под полом,позади передних сидений. См. Места для хранения вещей (стр. 139). Буксирная петля всегда должна находиться в автомобиле. Установка буксирной пе...
Страница 219 - буксирующего автомобиля.
БУКСИРОВКА АВТОМОБИЛЯ СОПОРОЙ НА ЧЕТЫРЕ КОЛЕСА Все автомобили ПРЕДУПРЕЖДЕНИЯ Во время буксировки автомобилянужно включать зажигание. Если этогоне сделать, сработает блокировка рулевого управления, а указатели поворотаи стоп-сигналы не будут действовать. Тормозной привод и насосгидроусилителя рулевог...
Страница 220 - Ежедневные проверки
ОБЩАЯ ИНФОРМАЦИЯ Для поддержания хорошего техническогосостояния и во избежание обесцениванияавтомобиля необходимо регулярнопроводить техническое обслуживание. Квашим услугам широкая сеть официальныхдилерских центров обслуживания и ремонтаFord. Мы уверены, что прошедшиеспециальную подготовку техничес...
Страница 221 - Открывание капота; Откройте капот и установите упор.; Закрывание капота
ОТКРЫВАНИЕ И ЗАКРЫВАНИЕКАПОТА Открывание капота E73698 E87785 Слегка приподнимите капот и передвиньтефиксатор в направлении левой стороныавтомобиля. E87786 Откройте капот и установите упор. Закрывание капота ПРЕДУПРЕЖДЕНИЕ Убедитесь, что капот надежно закрыт. Опустите капот и, оставив 20 - 30сантиме...
Страница 230 - ПРОВЕРКА МОТОРНОГО МАСЛА; Проверка уровня масла; Если уровень находится на отметке; MIN
ЩУП ДЛЯ ПРОВЕРКИМОТОРНОГО МАСЛА - 1.8LDURATORQ-TDCI (KENT) ДИЗЕЛЬ E95527 B A “MIN" A “MAX" B ЩУП ДЛЯ ПРОВЕРКИМОТОРНОГО МАСЛА - 2.0LDURATORQ-TDCI (DW)ДИЗЕЛЬ/2.2L DURATORQ-TDCI(DW) ДИЗЕЛЬ E95543 B A “MIN" A “MAX" B ПРОВЕРКА МОТОРНОГО МАСЛА ПРЕДОСТЕРЕЖЕНИЕ Не пользуйтесь добавками к мот...
Страница 232 - Доливка
ПРЕДУПРЕЖДЕНИЯ Если уровень находится на отметке MIN , систему должен как можно скорее проверить квалифицированный механик. Примечание: Тормозная система игидропривод сцепления снабжаютсярабочей жидкостью из одного бачка. Доливайте рабочую жидкость, котораясоответствует техническим требованиям иусло...
Страница 233 - Эксплуатационные жидкости
ТЕХНИЧЕСКИЕ ХАРАКТЕРИСТИКИ Эксплуатационные жидкости Спецификация Рекомендуемая рабочая жидкость Позиция WSS-M2C913-C Моторное масло Castrol * МОТОРНОЕ МАСЛО WSS-M2C204-A2 Рабочая жидкость усилителярулевого управления Fordили Motorcraft Рабочая жидкость усилителярулевого управления WSS-M97B44-D Охла...
Страница 234 - Топливный бак
Вместимость, л (галлоны) Параметр Комплектация 3,9 (0,9) Система смазки двигателя(без учета масляногофильтра) 2.0L Duratec-HE 6,2 (1,4) Система охлаждения двига-теля 2.0L Duratec-HE 70 (15,4) Топливный бак 2.0L Duratec-HE 4,3 (1,0) Система смазки двигателя (сучетом масляного фильтра) 2,3 л Duratec-H...
Страница 236 - некоторых частей автомобиля.; Очистка фар; химические растворители для их чистки.; Очистка заднего стекла; химические растворители для ее чистки.; Очистка хромированных деталей; Уход за автомобилем
ОЧИСТКА АВТОМОБИЛЯСНАРУЖИ ПРЕДУПРЕЖДЕНИЕ Если вы моете автомобиль сполировкой, убедитесь, что наветровом стекле не остался слой полироли. ПРЕДОСТЕРЕЖЕНИЯ Перед заездом на автомойку убедитесьв том, что она подходит для вашегоавтомобиля. Некоторые моечные станциииспользуют высокое давление водянойстру...
Страница 237 - ОЧИСТКА САЛОНА
ОЧИСТКА САЛОНА РЕМНИ БЕЗОПАСНОСТИ ПРЕДУПРЕЖДЕНИЯ При их очистке не применяйтеабразивные материалы илихимические активные растворители. Не допускайте проникновения влагив механизмы инерционных катушекремней безопасности. Очищайте ремни безопасности с помощьюочистителя салона или воды с мягкойгубкой. ...
Страница 238 - Присоединение проводов; чтобы они не соприкасались.; Аккумуляторная батарея автомобиля
ИСПОЛЬЗОВАНИЕСОЕДИНИТЕЛЬНЫХЭЛЕКТРИЧЕСКИХ ПРОВОДОВ ПРЕДОСТЕРЕЖЕНИЯ Подсоединяйте аккумуляторнуюбатарею только с таким женоминальным напряжением. Пользуйтесь соединительнымипроводами соответствующего сеченияс изолированными зажимами. Не отсоединяйте аккумуляторнуюбатарею от системыэлектрооборудования ...
Страница 239 - Точки подключения; Запустите двигатель автомобиля
4. Соедините отрицательную (-) клемму аккумуляторной батареи автомобиля B с заземляющим штырем автомобиля A (провод D ). См. Точки подключения аккумуляторной батареи (стр. 237). ПРЕДОСТЕРЕЖЕНИЯ Не присоединяйте провод к"отрицательному" (-) выводуразряженной аккумуляторной батареи. Убедитесь ...
Страница 240 - ЗАМЕНА КОЛЕСА; Секретные гайки для колес; Колеса и шины
ОБЩАЯ ИНФОРМАЦИЯ ПРЕДОСТЕРЕЖЕНИЯ Используйте колеса и шины толькоразрешенных типоразмеров.Использование шин других типоразмеров может привести кповреждению автомобиля, кроме того, вэтом случае государственное типовоеразрешение на шины становитсянедействительным. Если вы установите на автомобильшины ...
Страница 241 - Демонтаж колеса
E90708 A Метки на порогах A показывают места установки домкрата. E93020 Автомобили с боковыми накладками,улучшающими аэродинамику кузова E90709 Устанавливайте опорную пяту домкратачерез вырезы в нижней части боковыхнакладок. Демонтаж колеса ПРЕДУПРЕЖДЕНИЯ Остановите автомобиль в такомместе, где он н...
Страница 242 - относительно плоскости земли.; лакокрасочного покрытия.; Установка колеса
ПРЕДУПРЕЖДЕНИЯ Под дальнее колесо подложитеподходящий кирпич или башмак. При установке колеса следите за тем,чтобы стрелки на шине, показывалиправильное направление вращения при движении автомобиля вперед. Если назапасном колесе, которое необходимоустановить, стрелки указываютпротивоположное направл...
Страница 243 - От руки заверните гайки крепления
ПРЕДУПРЕЖДЕНИЯ Не устанавливайте на автомобильшины, сохраняющиеработоспособность при проколе, если первоначально автомобиль не былоборудован такими шинами. Для полученияболее подробных сведений оприменяемости шин свяжитесь со своимдилером. ПРЕДОСТЕРЕЖЕНИЕ Не крепите легкосплавные дискигайками, предн...
Страница 244 - КОМПЛЕКТ ДЛЯ РЕМОНТА ШИН; Общие сведения; , особенно если автомобиль
7. Установите колпак колеса (установка осуществляется руками безиспользования инструментов). ПРЕДУПРЕЖДЕНИЕ Как можно скорее проверьте моментзатяжки гаек крепления колеса идавление воздуха в шинах. КОМПЛЕКТ ДЛЯ РЕМОНТА ШИН Этот автомобиль не укомплектованзапасной шиной, но в нем есть комплект дляэкс...
Страница 245 - Накачивание шины; эксплуатируйте эту шину.
• Припаркуйте автомобиль на обочинепроезжей части, так, чтобы незатруднять движение транспорта ииспользовать комплект, не подвергаясебя опасности. • Применяйте стояночный тормоз дажепри остановке на горизонтальнойповерхности, чтобы предотвратитьвозможное перемещение автомобиля. • Не пытайтесь удалит...
Страница 247 - Проверка давления в шинах; Технические характеристики
13. Извлеките разъем питания G из гнезда прикуривателя или дополнительногогнезда питания. 14. Снимите шланг C с вентиля шины и быстро установите предохранительнуюкрышку A . Установите колпачок вентиля. 15. Оставьте бутыль с герметиком K в держателе E . 16. Уберите комплект, крышку бутыли иоранжевую ...
Страница 248 - Принцип действия; Стандартная шина; Шина; Если повреждена шина:
ПРЕДУПРЕЖДЕНИЕ Перед началом движения убедитесьв том, что давление воздуха в шинесоответствует требуемому. См. Технические характеристики (стр. 250). Контролируйте давление до моментазамены шины, заполненной герметиком. Бутыли с герметиком можно выбрасыватьв баки для обычного бытового мусора.Возврат...
Страница 249 - ОБСЛУЖИВАНИЕ ШИН
• Немедленно сбросьте скорость до 80км/ч максимум. • Избегайте внезапного и резкоготорможения и маневров и соблюдайтеособую осторожность на поворотах. • После выявления дефекта пройденноеавтомобилем расстояние не должнопревышать 80 км. • Как можно скорее заменитеповрежденную шину. Замена шин, сохран...
Страница 250 - ИСПОЛЬЗОВАНИЕ ЗИМНИХ ШИН; определения давления воздуха.
Регулярно проверяйте шины на наличиепорезов, посторонних предметов инеравномерного износа протектора.Неравномерный износ шин может привестик нарушениям углов установки колес. Проверяйте давление "холодных" шин(включая запасное) каждые две недели. ИСПОЛЬЗОВАНИЕ ЗИМНИХ ШИН ПРЕДОСТЕРЕЖЕНИЕ Удос...
Страница 252 - Момент затяжки колёсных гаек; Все; Для скорости до 160 км/ч
ТЕХНИЧЕСКИЕ ХАРАКТЕРИСТИКИ Момент затяжки колёсных гаек Нм Тип колеса 170 (125) Все Давление воздуха в шинах (холодные шины) Для скорости до 160 км/ч Полная нагрузка Нормальная нагрузка Размер шины Вариант Задняя Передняя Задняя Передняя бар (фунтов на кв. дюйм) бар (фунтовна кв. дюйм) бар (фунтов н...
Страница 253 - Давление в шинах при частом движении со скоростью более 160 км/ч
Давление в шинах при частом движении со скоростью более 160 км/ч Полная нагрузка Нормальная нагрузка Размер шины Вариант Задняя Передняя Задняя Передняя бар (фунтов на кв. дюйм) бар (фунтовна кв. дюйм) бар (фунтов на кв. дюйм) бар (фунтов на кв. дюйм) 3,1 (45) 2,6 (38) 2,4 (35) 2,2 (32) 215/60 R 16 ...
Страница 254 - Идентификация автомобиля
ТАБЛИЧКА СИДЕНТИФИКАЦИОННЫМНОМЕРОМ АВТОМОБИЛЯ E85610 C B E D A Идентификационный номеравтомобиля A Полный вес автомобиля B Полная масса автопоезда C Максимальная нагрузка напереднюю ось D Максимальная нагрузка назаднюю ось E Табличка с указанием идентификационногономера автомобиля и максимальныхнагр...
Страница 255 - Размеры автомобиля; Габаритная длина
ТЕХНИЧЕСКИЕ ХАРАКТЕРИСТИКИ Размеры автомобиля S-MAX E75180 D A E B C Размеры, мм (дюймы) Габариты Поз. 4 768 (187,7) Габаритная длина A 2 154 (84,8) Габаритная ширина (с учетом наружных зеркал) B 1 610 - 1 658 (63.4 - 65.3) Габаритная высота (соотв. снаряженной массе по стандарту ЕС) C 2 850 (112,2)...
Страница 256 - Колея передних колес
Размеры, мм (дюймы) Габариты Поз. 1 578 - 1 588 (62,1 - 62,5) Колея передних колес E 1 600 - 1 610 (63 - 63,4) Колея задних колес E Galaxy E76860 Размеры, мм (дюймы) Габариты Поз. 4 820 (189,8) Габаритная длина A 2 154 (84,8) Габаритная ширина (с учетом наружных зеркал) B 254 Технические характерист...
Страница 257 - Размеры буксировочного оборудования
Размеры, мм (дюймы) Габариты Поз. 1 691 - 1 764 (66.6 - 69.4) Габаритная высота снаряженного автомобиля без верхних багажных брусьев C 1 770 - 1 807 (69.7 - 71.1) Габаритная высота снаряженного автомобиля с верхними багажными брусьями C 2 850 (112,2) Колесная база D 1 578 - 1 588 (62,1 - 62,5) Колея...
Страница 260 - Центр шаровой опоры буксирного устройства -
Размеры, мм (дюймы) Габариты Поз. 473 (18,62) Центр шаровой опоры буксирного устройства - центральная точка крепления №2 G 685 (26,97) Центр шаровой опоры буксирного устройства - центральная точка крепления №3 H 258 Технические характеристики
Страница 261 - НАСТРОЙКА BLUETOOTH; Пользование телефоном; На мобильном телефоне и на панели; ON; Телефон
ОБЩАЯ ИНФОРМАЦИЯ ПРЕДОСТЕРЕЖЕНИЕ Использование системы принеработающем двигателе приведет кразрядке аккумулятора. В этом разделе описаны функции иособенности мобильного телефона сBluetooth и функциями “hands free”. Подсистема телефонной связи Bluetoothобеспечивает взаимодействиеаудиосистемы или сист...
Страница 262 - Ford Audio; НАСТРОЙКА ТЕЛЕФОНА; Телефонная книга
4. Выберите Ford Audio . 5. Введите кодовый номер, показанный на экране автомобиля, с помощьюклавиатуры телефона. Если кодовыйномер не показан на экране, введитеPIN-код Bluetooth 0000, используяклавиатуру телефона. Введите PIN-кодBluetooth, показанный на дисплееавтомобиля. Примечание: При выключении...
Страница 263 - УПРАВЛЕНИЕ ТЕЛЕФОНОМ; Кнопка Voice, приема и отклонения; Кнопка Voice; Вызов абонента; Команды управления телефоном
Связь коммуникационной системыавтомобиля с другим телефономBluetooth Для связи нового телефона Bluetooth скоммуникационной системой автомобиля,выполните действия, описанные впараграфе "Требования к соединению черезBluetooth". Информация о телефонах, связанных скоммуникационной системой, хран...
Страница 269 - Управляющие команды; Радиоприёмник; Отзыв системы
ПРИНЦИПЫ РАБОТЫ ПРЕДОСТЕРЕЖЕНИЕ Использование системы принеработающем двигателе приведет кразрядке аккумулятора. Система голосовых команд (Voicerecognition) позволяет управлять системой,не отвлекаясь от управления автомобилемдля изменения настроек или чтениясообщений системы. Если Вы произносите одн...
Страница 270 - Голосовые метки; КОМАНДЫ АУДИОБЛОКА; Проигрыватель CD-дисков
<> означает номер или голосовую метку (предварительно записанную в памятьсистемы), которые должен ввестипользователь. Ярлыки В системе Voice Control предусмотрен ряд"ярлыков" - коротких голосовых команд,которые позволяют Вам управлятьнекоторыми функциями систем автомобилябез необходимо...
Страница 271 - * Может использоваться в качестве ярлыка.; Запись; НАЗОВИТЕ НОМЕР ЗАПИСИ
"CD PLAYER" (CD-проигрыватель) "SHUFFLE FOLDER" (В произвольном порядке - Папка) ** "SHUFFLE OFF" (Произвольный порядок отключен) "REPEAT FOLDER" (Повтор - Папка) ** "REPEAT TRACK" (Повтор - Запись) "REPEAT OFF" (Повтор отключен) * Может использоваться...
Страница 272 - Краткий обзор; Диск; НАЗОВИТЕ НОМЕР ДИСКА
CD-чейнджер Краткий обзор Доступные голосовые команды описаныниже. Списки, приведенные ниже, содержатдополнительную информацию обо всемменю команд, с рядом примеров. "CD-CHANGER" / "CHANGER" (CD-чейнджер) "HELP" (Помощь) "PLAY" (Воспроизведение) "DISC" (Диск) ...
Страница 273 - Радиоприемник
Запись Вы можете выбрать номер записи наCD-диске. Отзыв системы Слова пользователя Шаги "CD-CHANGER" / (CD-чейнджер) "CD-CHANGER" / (CD-чейнджер) 1 НАЗОВИТЕ НОМЕР ЗАПИСИ "TRACK" (Запись) * 2 "TRACK <номер>" "<число от 1 до 99>" ** 3 * Может использ...
Страница 274 - Настройка частоты; * Частоту можно задать разными способами. Примеры приведены ниже.; Сохранение названия
"RADIO" (Радиоприемник) "DELETE NAME" (Удалить - Название) DELETE DIRECTORY (Удалить - Папка) "PLAY DIRECTORY" (Воспроизвести - Папка) "STORE NAME" (Сохранить - Название) "PLAY" (Воспроизведение) * Может использоваться в качестве ярлыка. Настройка частоты Эта ...
Страница 277 - Внешние устройства - USB
Отзыв системы Слова пользователя Шаги "PLAY" (Воспроизведение) 2 Гнездо подключения внешнихустройств Эта функция позволяет переключитьисточник звука на подключенное внешнееустройство. Отзыв системы Слова пользователя Шаги "EXTERNAL DEVICE" (Внешнее устройство) "EXTERNAL DEVICE...
Страница 278 - Внешние устройства - iPod
"EXTERNAL DEVICE", "USB" (Внешнее устройство, USB) "REPEAT OFF" (Повтор отключен). * Может использоваться в качестве ярлыка. ** Требуется, чтобы спискам воспроизведения и папкам, которые выбираются с помощьюголосовых команд, были присвоены специальные имена файлов. См. Общая ...
Страница 280 - Список воспроизведения iPod; НАЗОВИТЕ НОМЕР СПИСКА
Список воспроизведения iPod Вы можете выбрать один из списковвоспроизведения iPod напрямую. Отзыв системы Слова пользователя Шаги "EXTERNAL DEVICE" (Внешнее устройство) "EXTERNAL DEVICE" (Внешнее устройство) 1 "IPOD" "IPOD" 2 НАЗОВИТЕ НОМЕР СПИСКА ВОСПРОИЗВЕДЕНИЯ "...
Страница 281 - Воспроизведение с SD-карты
Воспроизведение с SD-карты Эта функция позволяет переключитьисточник звука на аудиофайлы, записанныена SD-карте. Отзыв системы Слова пользователя Шаги "SD CARD" (SD-карта) "SD CARD" (SD-карта) 1 "PLAY" (Воспроизведение) 2 Запись на SD-карте Вы можете выбрать номер записи наSD...
Страница 282 - Функции мобильного телефона; Набор номера; НАЗОВИТЕ НОМЕР
"PHONE" (Телефон) "HELP" (Помощь) "MOBILE NAME" (Имя мобильного телефона) * "DIAL NUMBER" (Набрать номер) * "DIAL NAME" (Набрать имя) * "DELETE NAME" (Удалить - Название) DELETE DIRECTORY (Удалить папку) "PLAY DIRECTORY" (Воспроизвести - Папка)...
Страница 283 - Повторный набор номера; ИДЕТ ДОЗВОН
Отзыв системы Слова пользователя Шаги "<повторите последнюю часть номера> "CORRECTION" ("ИСПРАВИТЬ") ПРОДОЛЖИТЬ?" * Может использоваться в качестве ярлыка. Набор по имени (набор с помощьюголосовых меток) Система может набрать телефонный номернужного абонента после того,...
Страница 284 - Голосовые метки мобильного телефона; от конкретного мобильного теле-
Отзыв системы Слова пользователя Шаги "COMMAND CANCELLED" (КОМАНДА ОТМЕНЕНА) "НЕТ" * Может использоваться в качестве ярлыка. Голосовые метки мобильного телефона Эта функция обеспечивает Вам доступ ктелефонным номерам, записанным в памятиВашего мобильного телефона при помощиголосовых ...
Страница 285 - Создание телефонной книги; Сохранение имени
Создание телефонной книги Сохранение имени Новые номера телефонов можнозаписывать в память системы при помощикоманды "STORE NAME". Этой функциейможно воспользоваться для того, чтобыосуществлять набор номера по имениабонента, а не произносить каждый разполный номер телефона. Отзыв системы Сло...
Страница 286 - Основные установки; Отклонение звонков
Прослушивание содержимого папки Используйте эту функцию, чтобы системасообщила Вам все сохранённые в памятиномера. Отзыв системы Слова пользователя Шаги "PHONE" (Телефон) "PHONE" (Телефон) 1 "PLAY DIRECTORY" (Воспроизвести - Папка) "PLAY DIRECTORY" (Воспроизвести - Па...
Страница 287 - Система климат-контроля
КОМАНДЫ УПРАВЛЕНИЯНАВИГАЦИОННОЙ СИСТЕМОЙ Для получения более подробных сведенийо меню команд обращайтесь к отдельномуРуководству по навигационной системе. КОМАНДЫ УПРАВЛЕНИЯКЛИМАТ-КОНТРОЛЕМ Система климат-контроля При помощи голосовых команд можноуправлять частотой вращения вентилятораи регулировать...
Страница 289 - Автоматический режим
Отзыв системы Слова пользователя Шаги "TEMPERATURE <число>" "<число в диапазоне от 15 до 29 °C с шагом 0,5>" или"<число от 59 до 84 °F>" "ТЕМПЕРАТУРА МАКСИМАЛЬНАЯ" "MAXIMUM" (Максимальная) * Может использоваться в качестве ярлыка. Автоматичес...
Страница 290 - неиспользуемое гнездо заглушкой.; USB
ОБЩАЯ ИНФОРМАЦИЯ ПРЕДОСТЕРЕЖЕНИЯ Соблюдайте осторожность вобращении с внешними устройствами,имеющими открытые электрические разъемы (например, с донглами USB).Обязательно надевайте предохранительнуюкрышку/колпачок. Существует рискэлектростатического разряда, которыйможет повредить устройство. Не дот...
Страница 291 - Подключение
Не превышайте следующие ограничения: • 1000 элементов в одной папке (файлы,папки и списки воспроизведения). • 5000 папок на одно устройство USB(включая списки воспроизведения). • 8 уровней суб-папок. Для голосового управленияпользовательскими спискамивоспроизведения и папками выполнитеследующую проц...
Страница 293 - Радиоприемник Sony; Принцип работы; INFO; дисплей следующую информацию:
Радиоприемник Sony Принцип работы Выберите устройство USB в качествеисточника звука; для этого несколько разнажмите на кнопку CD/AUX , пока на дисплее не появится USB. После подключенияустройства USB автоматически начинаетсявоспроизведение первой записи из первойпапки. Затем, если выбирается другойи...
Страница 294 - Навигационные блоки на базе CD
Навигационные блоки на базе CD Принцип работы Выберите устройство USB в качествеисточника звука; для этого несколько разнажмите на кнопку CD/AUX , пока на дисплее не появится DEVICES. Выберите DEVICES,затем в списке доступных устройстввыберите USB. После подключенияустройства USB автоматически начин...
Страница 295 - Навигационные блоки на базе DVD; ИСПОЛЬЗОВАНИЕ IPOD
Навигационные блоки на базе DVD Принцип работы Выберите устройство USB в качествеисточника звука; для этого несколько разнажмите на кнопку CD/AUX , пока на левой стороне дисплея не появится кнопка USB.Выберите USB в списке доступныхустройств. Примечание: Возможно, некоторые изпоказанных устройств не...
Страница 298 - Нажмите и удерживайте клавишу; SEEK; для
Нажмите на клавишу MENU, чтобы войти вменю iPod. Можно воспользоватьсяфункциями воспроизведения впроизвольном порядке и повтора. Такжеможно выбрать опцию iPod "Shuffle songs"напрямую в самом верхнем уровне. Нажмите на кнопку SCAN для сканированиявыбранных записей. Нажмите на кнопку INFO , чт...
Страница 300 - БЕЗОПАСНОСТЬ ДВИЖЕНИЯ; неподвижном автомобиле.; Информация по безопасности; Введение в систему навигации
БЕЗОПАСНОСТЬ ДВИЖЕНИЯ ПРЕДУПРЕЖДЕНИЯ Система предоставляет в вашераспоряжение информацию,призванную помочь вам добраться до пункта назначения максимально быстро ибезопасно. По соображениям безопасностиводителю рекомендуется производитьпрограммирование системы только в неподвижном автомобиле. В систе...
Страница 301 - НАЧАЛО РАБОТЫ; Установка микрокарты SD; Вставьте микрокарту SD в мобильный; Навигационная система
НАЧАЛО РАБОТЫ ПРЕДОСТЕРЕЖЕНИЕ Использование системы принеработающем двигателе приведет кразрядке аккумулятора. Примечание: Отправка и получениетекстовых сообщений - это платнаяуслуга. Примечание: Все функции и принципработы описаны в инструкциях поэксплуатации телефона. Примечание: Храните код актив...
Страница 303 - iPod - торговая марка компании Apple Inc.; ОДОБРЕНИЯ ТИПА; Приложения
ОДОБРЕНИЯ ТИПА УВЕДОМЛЕНИЕFCC/ПРОМЫШЛЕННОСТИ КАНАДЫ Это устройство соответствует требованиям15-го раздела Правил FCC. Его работаподчиняется следующим двум условиям:(1) это устройство не может создаватьвредные помехи, и (2) это устройстводолжно противостоять любым принимаемымпомехам, включая помехи, ...
Страница 304 - подушек безопасности.
E114220 ЭЛЕКТРОМАГНИТНАЯСОВМЕСТИМОСТЬ ПРЕДУПРЕЖДЕНИЯ Ваш автомобиль прошёл испытанияна электромагнитную совместимость(2004/104/EC) в соответствии с европейским законодательством и имеетсоответствующий сертификат. Вы несётеполную ответственность за соответствиеустановленного вами дополнительногообору...
Страница 305 - блоков и подушек безопасности.
ПРЕДУПРЕЖДЕНИЯ Не крепите кабели антенны к проводкеавтомобиля, топливопроводам илитрубопроводам тормозной системы. ПРЕДУПРЕЖДЕНИЯ Располагайте антенну и кабелипитания на расстоянии, по крайнеймере, 100 мм от любых электронных блоков и подушек безопасности. E85998 6 7 1 2 3 8 4 5 Положение антенны Ма...
Страница 306 - Все положения; при работающем двигателе
Положение антенны Максимальная выходная мощность Вт (на пике RMS) Диапазон частот МГц Все положения 0,1 W 2400 – 2500 1 Только для мобильных телефонов GSM/3G с антенной, наклеенной на ветровом стекле. Примечание: После установки любыхрадиопередатчиков проверьтеотсутствие взаимного влияниярадиопереда...
Страница 307 - Указатель
A A/C См.: Органы управления микроклиматом....111 ABS См.: Тормоза..................................................158 ACC (Адаптивный круиз-контроль) См.: Использование системы адаптивного круиз-контроля (ACC)...............................175 См.: Система адаптивного круиз-контроля (ACC)............