Страница 3 - Содержание
Введение Об этом руководстве...................................7Словарь символов.......................................7Запасные части и аксессуары....................8 Быстрый обзор Быстрый обзор...........................................11 Безопасность детей Детские сиденья...........................
Страница 5 - Функция контроля дистанции до впереди
Пуск дизельного двигателя.....................146Фильтр твердых частиц (DPF)................147Выключение двигателя...........................148Подогреватель двигателя.......................148 Топливо и заправка Меры предосторожности........................149Качество топлива - Бензиновый............
Страница 9 - ПРЕДУПРЕЖДЕНИЕ; для вас или окружающих.; ПРЕДОСТЕРЕЖЕНИЕ; Введение
ОБ ЭТОМ РУКОВОДСТВЕ Благодарим вас за то, что вы остановилисвой выбор на автомобиле Ford.Рекомендуем уделить время и лучшеознакомиться с возможностями вашегоавтомобиля с помощью данногоруководства. Чем лучше вы знаетеавтомобиль, тем безопаснее и приятнеебудет вождение. Примечание: В Руководстве опис...
Страница 14 - Обзор панели приборов - вариант с правосторонним управлением; Органы управления осветительными приборами См.
Обзор панели приборов - вариант с правосторонним управлением W P Q R S T V O U L K M N E75798 A B E G D C J H I F Органы управления осветительными приборами См. Органы управления осветительным оборудованием (стр. 55). A Сопла системы вентиляции См. Вентиляционные дефлекторы (стр. 111). B Указатели п...
Страница 18 - Автоматические стеклоочистители; Функции памяти
Автоматический режим работыстеклоочистителя B C D A E70696 Однократная очистка A Автоматический режим работыстеклоочистителя B Нормальный режим работыстеклоочистителей C Режим ускоренной очистки D E70316 A B Высокая чувствительность A Низкая чувствительность B См. Автоматические стеклоочистители (ст...
Страница 20 - Верхний дефлектор; Механическая коробка передач; Включение передачи заднего хода
Вентиляционные отверстия дляпассажиров на заднем сиденье. E73131 A B C Воздух поступает через нижнийдефлектор A Воздух поступает через верхнийдефлектор B Верхний дефлектор C Для удаления запотевания и наледи сбоковых задних стекол необходимо выбратьположение B . Механическая коробка передач Включени...
Страница 21 - Автоматическая коробка передач; Задний ход
Автоматическая коробка передач Положения селектора передач E80836 S Park (Парк) A Задний ход B Нейтральная передача C Движение D Ручное переключение передач испортивный режим S ПРЕДУПРЕЖДЕНИЕ Перед тем, как осуществитьпереключение диапазонов, нажмитена педаль тормоза и удерживайте её до момента нача...
Страница 22 - ДЕТСКИЕ СИДЕНЬЯ; ПРЕДУПРЕЖДЕНИЯ; безопасности для детей.; Детская люлька; Безопасность детей
ДЕТСКИЕ СИДЕНЬЯ E68916 ПРЕДУПРЕЖДЕНИЯ Детей ростом меньше 150сантиметров или младше 12 летследует перевозить на заднем сидении в подходящем, одобренном кприменению детском кресле. Оригинальный текст в соответствии справилом ECE R94.01: Очень опасно!Если напротив сиденья установлена фронтальная подуш...
Страница 23 - Детское кресло; ДОПОЛНИТЕЛЬНЫЕ ПОДУШКИ
Детское кресло E68920 Усаживайте ребенка, который весит от 13до 18 килограммов, в детское кресло (Группа1) на заднем сидении. ДОПОЛНИТЕЛЬНЫЕ ПОДУШКИ ПРЕДУПРЕЖДЕНИЯ Не используйте дополнительныекресла или подушки, имеющие лишьпоясной ремень безопасности. Не устанавливайте дополнительноекресло или под...
Страница 24 - ленты ремней не провисали.; Положение устройства детской безопасности
Дополнительная подушка (Группа 3) E68924 УСТАНОВКА ДЕТСКОГОСИДЕНЬЯ ПРЕДУПРЕЖДЕНИЯ При использовании на втором рядусидений устройства безопасностидетей с поддерживающей опорой убедитесь в надежности крепленияподдерживающей опоры на крышкеподпольного вещевого отделения.Убедитесь в правильности установ...
Страница 25 - Отключена; Сиденья второго ряда; UF
Весовые категории (вес и возраст ребенка) Посадочные места III II I 0+ 0 22 - 36 кг 15 - 25 кг 9 - 18 кг До 13 кг До 10 кг Вспомогательное сиденье или подушка Детское кресло Детская кроватка U¹ U¹ U¹ U¹ U¹ Подушка безопасностипереднего пассажира Отключена U U U U U Сиденья второго ряда U U U U U Тре...
Страница 27 - Верхние точки крепления; относительно точки крепления.
МЕСТА РАСПОЛОЖЕНИЯКРЕПЛЕНИЙ ISOFIX ПРЕДУПРЕЖДЕНИЕ Если вы пользуетесь системойISOFIX, применяйте устройство,предотвращающее опрокидывание. Мы рекомендуем использовать верхнийшнур или опорную стойку. Примечание: При приобретенииудерживающего приспособления ISOFIXуточните его весовую категорию итипора...
Страница 29 - Заблокировать
ЗАМКИ С ФУНКЦИЕЙБЛОКИРОВКИ ОТ ОТПИРАНИЯДЕТЬМИ ПРЕДУПРЕЖДЕНИЕ Вы не можете открыть двери изнутри,когда используется функция "защитыдетей". E73697 A B Заблокировать A Разблокировать B 27 Безопасность детей
Страница 30 - ПРИНЦИПЫ РАБОТЫ; Подушки безопасности; раскрытии подушек безопасности.; Сидение в правильном; только квалифицированным механиком.; Защита людей, находящихся в автомобиле
ПРИНЦИПЫ РАБОТЫ Подушки безопасности ПРЕДУПРЕЖДЕНИЯ Не изменяйте переднюю часть вашегоавтомобиля никаким образом. Этоможет неблагоприятно отразиться при раскрытии подушек безопасности. Выдержка из ECE R94.01:Чрезвычайно опасно! Не используйтеустройства детской безопасности, установленные передней ча...
Страница 32 - РЕМНИ БЕЗОПАСНОСТИ; прилегать к вашему телу.
Шторки безопасности срабатывают присильном боковом столкновении. Подушкинадуваются за несколько тысячных долейсекунды и сдуваются при контакте спассажирами или водителем, обеспечиваятаким образом защиту головы. При слабыхбоковых, фронтальных и заднихстолкновениях, или переворотах оконныеподушки безо...
Страница 35 - Обратитесь к вашему дилеру.
СИСТЕМА ОПРЕДЕЛЕНИЯНЕПРИСТЕГНУТОГО РЕМНЯБЕЗОПАСНОСТИ ПРЕДУПРЕЖДЕНИЕ Не садитесь поверх пристёгнутогоремня для предотвращениявключения сигнализатора непристёгнутого ремня. Максимальнаязащита обеспечивается только тогда, когдавы пристёгнуты ремнём безопасности. Если водитель или переднийпассажир не пр...
Страница 37 - ИСПОЛЬЗОВАНИЕ КЛЮЧА; Ключи и пульты дистанционного управления
ИСПОЛЬЗОВАНИЕ КЛЮЧА Дистанционное управление сперевернутым стержнем ключа E74382 ОБЩАЯ ИНФОРМАЦИЯ ОРАДИОЧАСТОТАХ ПРЕДОСТЕРЕЖЕНИЕ Радиочастота, используемая длядистанционной разблокировки иблокировки замков, может также использоваться для работы другихмаломощных радиоустройств (например,любительских ...
Страница 38 - осторожно извлеките элемент питания.
Для восстановления первоначальнойфункции разблокировки повторите этотпроцесс. ЗАМЕНА ЭЛЕМЕНТА ПИТАНИЯПУЛЬТА ДИСТАНЦИОННОГОУПРАВЛЕНИЯ Пульт дистанционного управленияс убирающимся стержнем ключа E74383 1 1. Вставьте отвёртку до конца в прорезь на боковой поверхности пульта инажмите ей на стержень ключ...
Страница 41 - Двойная блокировка; Разблокировка; Замки
БЛОКИРОВКА ИРАЗБЛОКИРОВКА ЗАМКОВ Система централизованнойблокировки замков Централизованно заблокировать двериможно только в том случае, если онизакрыты. Примечание: Замок двери водителя можетбыть заблокирован с помощью ключа. Этопозволяет попасть в автомобиль принеисправности пульта дистанционногоу...
Страница 43 - Автоматическая блокировка замков; Программирование пульта
Крышка багажника/дверь багажногоотделения Открывание крышки багажногоотделения E78262 Открывание крышки багажногоотделения с помощью дистанционногоуправления Нажмите кнопку C на пульте дистанционного управления два раза в течение трех секунд. Закрывание крышки багажника/дверибагажного отделения E719...
Страница 44 - Полное открывание; Чтобы открыть все окна, нажмите кнопку; Полное закрывание; Чтобы закрыть все окна, нажмите кнопку
Примечание: Полное закрываниеработает только в случае, если выправильно установили настройки памятидля каждого стеклоподъемника. См.Электрические стеклоподъемники (стр.75). Полное открывание E71955 Чтобы открыть все окна, нажмите кнопку открывание и удерживайте ее не менее трех секунд. Чтобы останов...
Страница 46 - Иммобилайзер; Иммобилайзер двигателя
ПРИНЦИПЫ РАБОТЫ Иммобилайзер двигателя - это системапротивоугонной защиты, которая непозволяет запустить двигатель неправильнозапрограммированным ключом. ЗАПРОГРАММИРОВАННЫЕКЛЮЧИ Примечание: Не допускайте экранировкиключей металлическими предметами. Этоможет нарушить процесс распознаванияключа прием...
Страница 47 - Система охранной сигнализации; Охранная сигнализация по периметру.; Охранная сигнализация по периметру; Сигнализация
ПРИНЦИПЫ РАБОТЫ Система охранной сигнализации Ваш автомобиль может быть оборудованодной из приведенных далее системойохранной сигнализации: • Охранная сигнализация по периметру. • Охранная сигнализация по периметру сдатчиками салона. • Охранная сигнализация первойкатегории с датчиками салона иавтоно...
Страница 49 - Информационные сообщения; АКТИВАЦИЯ СИГНАЛИЗАЦИИ; Все автомобили; ОТКЛЮЧЕНИЕ СИГНАЛИЗАЦИИ; Сигнализация категории один
E70499 E74509 Полн. защита Сигнализация Сниженная Уточн.на вых 1. Нажмите кнопку с правой стрелкой на рулевом колесе, чтобы войти в главноеменю. 2. С помощью кнопок со стрелками вверх и вниз выделите Установка и нажмите кнопку с правой стрелкой. 3. Выделите Охранная сигнализация и нажмите кнопку с п...
Страница 50 - УПРАВЛЕНИЕ АУДИОСИСТЕМОЙ; удерживайте; Рулевое колесо
РЕГУЛИРОВКА ПОЛОЖЕНИЯРУЛЕВОГО КОЛЕСА ПРЕДУПРЕЖДЕНИЕ Недопустимо регулировать положениерулевого колеса во время движения. Примечание: Убедитесь в том, что высидите в правильной позе. См. Сидение вправильном положении (стр. 125). 1 2 2 E95178 3 E95179 ПРЕДУПРЕЖДЕНИЕ При возврате в исходное положениеуб...
Страница 51 - Поиск; Нажмите и
Поиск Нажмите кнопку поиска, чтобы: • начать автоматический поиск соседнейрадиостанции • начать воспроизведение следующей илипредыдущей дорожки на CD-диске • начать быструю перемотку кассетывперёд или назад. Нажмите и удерживайте кнопку поиска, чтобы: • начать ручной поиск требуемойрадиостанции • на...
Страница 52 - Прерывистый режим работы; ПРЕДОСТЕРЕЖЕНИЯ; Стеклоочистители и стеклоомыватели
ОЧИСТИТЕЛИ ВЕТРОВОГОСТЕКЛА B C D A E70696 Однократная очистка A Прерывистый режим работы B Нормальная скорость очистки C Высокая скорость очистки D Прерывистый режим работы E70315 B A C Короткие интервалы междувзмахами щеток A Прерывистый режим работы B Длинные интервалы междувзмахами щеток C АВТОМА...
Страница 53 - Высокая чувствительность
ПРЕДОСТЕРЕЖЕНИЯ Выключайте автоматический режимработы стеклоочистителей передмойкой автомобиля. E70315 B A C Высокая чувствительность A On (Вкл.) B Низкая чувствительность C Находясь в автоматическом режиме,стеклоочистители не начнут работать, покана ветровом стекле не будет обнаруженавода. Датчик д...
Страница 54 - или; Стеклоомыватель; ОМЫВАТЕЛИ ФАР; Щётки очистителя ветрового стекла
Очистка стекол при включениипередачи заднего хода Стеклоочиститель заднего стеклавключается автоматически, если включенапередача заднего хода и рычагпереключателя очистителей и омывателейнаходится в положении B , C или D . Стеклоомыватель ПРЕДУПРЕЖДЕНИЕ Не включайте омыватель заднегостекла более чем...
Страница 55 - Щётки очистителя заднего окна
Примечание: Щетки очистителяветрового стекла имеют разную длину.См. Технические характеристики (стр.54). Установка щёток неверной длиныможет привести к сбоям в работе датчикадождя. Постановка щёток стеклоочистителя вслужебное положение E75184 A E75188 Выключите зажигание и в течение трёхсекунд после...
Страница 56 - ТЕХНИЧЕСКИЕ ХАРАКТЕРИСТИКИ; Длины щеток очистителя ветрового стекла
5 4 E93785 6 E93786 Установка выполняется в обратнойпоследовательности. ТЕХНИЧЕСКИЕ ХАРАКТЕРИСТИКИ Длины щеток очистителя ветрового стекла Размер в мм (дюймах) Позиция Правая сторона Левая сторона 700 (27,6) 750 (29,5) Автомобили с автоматиче-скими щетками 650 (25,6) 750 (29,5) Автомобили без автома...
Страница 57 - Стояночные фонари; с правой стороны; Дальний и ближний свет фар; Осветительное оборудование
ОРГАНЫ УПРАВЛЕНИЯОСВЕТИТЕЛЬНЫМОБОРУДОВАНИЕМ Переключатель приборов наружногоосвещения E70718 A B C Вентилятор выключен A Передние и задние габаритныефонари B Фары C Стояночные фонари ПРЕДОСТЕРЕЖЕНИЕ Включение стояночных фонарей втечение длительного времени можетпривести к разряду аккумуляторной бата...
Страница 58 - АДАПТИВНОЕ ОСВЕЩЕНИЕ
Освещение для безопаснойостановки автомобиля Выключите зажигание и включите фары,потянув рычаг указателей поворота всторону рулевого колеса (до упора).Раздастся короткий звуковой сигнал. Фарыавтоматически выключатся через триминуты (если открыта хотя бы одна дверь)или через 30 секунд после закрывани...
Страница 59 - Рекомендуемые положения наклона световых пучков фар
КОРРЕКЦИЯ НАКЛОНАСВЕТОВЫХ ПУЧКОВ ФАР Примечание: Автомобили с ксеноновымифарами оборудованы автоматическойкоррекцией наклона их световых пучков. E70722 A B Поднятый световой пучок фар A Опущенный световой пучок фар B Вы можете отрегулировать наклон световыхпучков фар в соответствии с загрузкойавтомо...
Страница 60 - Табличка с идентификационным номером автомобиля; Автомобили с активной подвеской.; Быстрый
Положение пере- ключателя Нагрузка в багажном отде- лении Нагрузка на третьем ряду сидений на втором ряду сидений на передних сиденьях 1 (0.5) 2 - - 3 1-2 3 (0.5) 2 Максимальная 1 - 3 1-2 4 (1.5) 2 Максимальная 1 - - 1 1 См. Табличка с идентификационным номером автомобиля (стр. 254). 2 Автомобили с ...
Страница 61 - СИСТЕМА АДАПТИВНОГО ГОЛОВНОГО ОСВЕЩЕНИЯ (AFS); без системы AFS
СИСТЕМА АДАПТИВНОГО ГОЛОВНОГО ОСВЕЩЕНИЯ (AFS) E72897 A B A B без системы AFS A с системой AFS B Система адаптивного головного светаизменяет направление ближнего света фарв зависимости от скорости автомобиля иугла поворота рулевого колеса. Этопозволяет улучшить освещение дороги придвижении ночью и из...
Страница 62 - Фары освещения поворота; Свет фар; УКАЗАТЕЛИ ПОВОРОТА
Фары освещения поворота E72898 B A B A Свет фар A Свет фары освещения поворота B При повороте включается соответствующаяфара освещения поворота, направленнаявбок от автомобиля. УКАЗАТЕЛИ ПОВОРОТА E70727 Примечание: Слегка нажмите на рычагвверх или вниз, чтобы индикаторыповорота мигнули три раза. 60 ...
Страница 63 - Лампа подсветки зеркальца
ПЛАФОНЫ ВНУТРЕННЕГООСВЕЩЕНИЯ Центральный плафон освещениясалона C B A E71945 Вентилятор выключен A Действие от контактов дверей B Включено C Если переключатель находится в положении B , то лампа центрального плафона освещения салона загорится приоткрывании или разблокировании замкабоковой двери или ...
Страница 64 - СНЯТИЕ ФАРЫ; поражения электрическим током.; Открывание и; Подтяните фару как можно ближе к; ЗАМЕНА ЛАМП
Если вы выключите зажигание, то, воизбежание разрядки аккумуляторнойбатареи, через некоторое время лампыподсветки зеркальца погаснут. Чтобывключить лампы, на короткое времявключите зажигание. СНЯТИЕ ФАРЫ ПРЕДУПРЕЖДЕНИЕ Замену ксеноновых ламп долженпроизводить персонал, имеющийнеобходимые навыки. Ест...
Страница 65 - Фара головного света
ПРЕДУПРЕЖДЕНИЯ Замену ксеноновых ламп долженпроизводить персонал, имеющийнеобходимые навыки. Есть опасность поражения электрическим током. ПРЕДОСТЕРЕЖЕНИЯ Не прикасайтесь к стекляннойповерхности лампы фары. Устанавливайте только подходящие потехническим требованиям лампы. См. Таблица технических хар...
Страница 66 - Боковой повторитель; Аккуратно снимите боковой повторитель; Лампа подсветки входа
3. Освободите зажим и снимите лампу. Лампа ближнего света фары 1. Снимите модуль фары. См. Снятие фары (стр. 62). E72260 3 2 2. Поверните против часовой стрелки и снимите патрон лампы. 3. Извлеките лампу. Фара освещения поворота 1. Снимите модуль фары. См. Снятие фары (стр. 62). E72262 3 2 2. Отсоед...
Страница 73 - Плафоны освещения салона; Осторожно подденьте рассеиватель
Дополнительный центральный стоп-сигнал (Galaxy) E75457 1. Снимите панель отделки. E75458 2. Освободите пружинные зажимы. E72790 3. Снимите модуль лампы. 4. Извлеките лампу. Фонарь подсветки регистрационногознака E72789 3 2 1 1. Осторожно освободите пружинный держатель. 2. Снимите модуль лампы. 3. По...
Страница 75 - ТАБЛИЦА ТЕХНИЧЕСКИХ ХАРАКТЕРИСТИК ЛАМП
Лампа подсветки зеркальца E72785 1. Осторожно открепите модуль лампы. 2. Извлеките лампу. Плафон освещения багажногоотделения E72784 1. Осторожно открепите модуль лампы. 2. Извлеките лампу. ТАБЛИЦА ТЕХНИЧЕСКИХ ХАРАКТЕРИСТИК ЛАМП Мощность (Ватт) Спецификация Лампа 21 PY21W Передний фонарь указателя п...
Страница 77 - Полное открывание и закрывание; Полное открывание/ закрывание; Окна и зеркала
ЭЛЕКТРИЧЕСКИЕСТЕКЛОПОДЪЕМНИКИ ПРЕДУПРЕЖДЕНИЕ Не пользуйтесь электрическимистеклоподъемниками, если на их путиимеются какие-либо препятствия. Примечание: Если часто нажиматьклавиши управлениястеклоподъемниками/люком в течениекороткого периода времени, то, чтобыпредотвратить повреждение вследствиепере...
Страница 78 - функции и привести к травмам.; Закройте окно в третий раз до момента
Выключатель стеклоподъемниковзадних дверей (защита ототкрывания окон детьми) Примечание: Управлятьстеклоподъемниками задних дверей всегдаможно с двери водителя. E70850 С помощью клавиш управления на двериводителя можно отключить выключателиэлектрических стеклоподъемников заднихдверей. Когда выключат...
Страница 79 - Безопасный режим; Выпуклые зеркала; Складывающиеся зеркала
1. Поднимите клавишу выключателя и удерживайте ее, пока стекло неподнимется полностью. Удерживайтеклавишу в поднятом положении ещеодну секунду. 2. Отпустите клавишу, затем снова поднимите ее два или три раза еще наодну секунду. 3. Откройте окно и попытайтесь закрыть его автоматически (при однократно...
Страница 80 - Наклон зеркала; Окна и
НАРУЖНЫЕ ЗЕРКАЛА ЗАДНЕГОВИДА С ЭЛЕКТРОПРИВОДОМ A C B E70846 Левое зеркало A Вентилятор выключен B Правое зеркало C Наклон зеркала E70847 Наружные зеркала заднего вида сэлектроприводом содержат нагревательныйэлемент, который удаляет наледь иизморось со стекла зеркала. См. Окна и зеркала с обогревом (...
Страница 81 - Функция памяти
Поворот зеркал заднего вида придвижении задним ходом В зависимости от положения переключателя( A или C ) соответствующее наружное зеркало будет наклоняться вниз привключении передачи заднего хода, чтопозволяет вам видеть бордюрный камень. Примечание: Вы можете отключить этуфункцию, оставив переключа...
Страница 85 - Информационные дисплеи
Тип 3 A B C D E E87713 Тахометр A Спидометр B Указатель температуры охлаждающей жидкости двигателя C Указатель уровня топлива D Информационный центр. См. Информационные дисплеи (стр. 88). E Указатель температурыохлаждающей жидкости двигателя Показывает температуру охлаждающейжидкости. При нормальной...
Страница 86 - Указатель уровня топлива
Указатель уровня топлива Стрелка, находящаяся около символатопливного насоса, указывает, с какойстороны автомобиля расположена крышкагорловины топливного бака. СИГНАЛИЗАТОРЫ ИИНДИКАТОРЫ Все перечисленные ниже сигнализаторы ииндикаторы при включении зажиганиязагораются на короткое время дляподтвержде...
Страница 87 - Указатели поворота; . Если сигнализатор продолжает; Индикатор свечей накаливания
Индикатор состояния системы круиз-контроля E71340 Горит, если вы задали в системекруиз-контроля скорость. См. Использование системы круиз-контроля (стр. 170). На автомобилях с адаптивной системой круиз-контролясигнализатор включается при активномсостоянии системы ACC. См. Использование системы адапт...
Страница 88 - сигнализации этот индикатор будет мигать.; Сигнализатор сообщений
Сигнализатор неисправностисистемы электроснабжения (разрядааккумуляторной батареи) Если этот сигнализаторзагорается во время движения,это указывает на неисправность. Выключите все ненужноеэлектрооборудование. Система должна бытьнемедленно проверена специалистом,прошедшим соответствующую подготовку. ...
Страница 90 - ОБЩАЯ ИНФОРМАЦИЯ; Органы управления
ОБЩАЯ ИНФОРМАЦИЯ ПРЕДУПРЕЖДЕНИЕ Не используйте органы управленияинформационного дисплея во времядвижения автомобиля. Примечание: Информационный дисплейостается включенным в течениенескольких минут после выключениязажигания. При помощи кнопок, расположенных нарулевом колесе, вы можете управлятьразлич...
Страница 91 - вверх
Тип 3 Тип 2 Тип 1 Функция X X - Настройки дисплея X X - Настройка автономного отопителя X - - Управление навигацией X - - Управление проигрывателемкомпакт-дисков X - - Управление CD-чейнджером X - - Управление радиоприемником X - - Управление мобильным телефоном X - - Управление дополнительным входо...
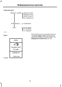
Страница 92 - Структура меню; Инфopмaция; для просмотра; Маршрутный компьютер
Структура меню Инфopмaция Cбpocить пpoбeг Oдoмeтp пpoб.Cpeд.pacx.тoплCpeдн.cкopocтьBce пapaмeтpы Сообщения Часы Уcтaн. вpeм.24-ч фopмaт12-ч фopмaт E87751 Тип 2 E74426 6,3 Ср.расх.топл 09:00 234,2 km 123456 km l 100km Используйте кнопки на рулевом колесе сострелками вверх и вниз для просмотра показан...
Страница 95 - Список устройств
Тип 3 E88048 Используйте органы управления дляперехода к другим позициям меню. Список устройств Выделенная пиктограмма показываеттекущее меню. Система навигации Проигрыватель CD CD-чейнджер Автомагнитола Телефон Маршрутный компьютер Настройки Дополнительный вход 93 Информационные дисплеи
Страница 96 - CD
Структура меню CD Haвигaция ДoмaЛюб. пользв.Фaвopиты A-ZПocл.иcпoльзOтм. пpoвoдн. Пункты назначенияПункты назначенияПункты назначения Папка / Записи Папка / ЗаписиПапка / ЗаписиПапка / ЗаписиПапка / ЗаписиПапка / ЗаписиПапка / Записи СтанцииСтанцииСтанцииСтанцииСтанцииСтанции Станции Номера Номера Н...
Страница 99 - МАРШРУТНЫЙ КОМПЬЮТЕР; Регистрирует общий пробег автомобиля.
Hacтpoить СубботаВоскресенье Среда Вторник Пятница Четверг Понедельник Hacтpoить СубботаВоскресенье Среда Вторник Пятница Четверг Понедельник Время 1 Время 2 Oднopaзoвoe Ceйчac вкл. Cтoян. oбoгpeв Дoпoлнит. вxoд B A E88067 МАРШРУТНЫЙ КОМПЬЮТЕР Одометр Регистрирует общий пробег автомобиля. Счетчик ча...
Страница 101 - ПЕРСОНАЛЬНЫЕ НАСТРОЙКИ; Навигационная информация
1. С помощью кнопок со стрелками вверх и вниз выделите Маршрутный компьютер и нажмите кнопку с правой стрелкой. 2. Выделите функцию сброса. 3. Удерживайте кнопку OK . ПЕРСОНАЛЬНЫЕ НАСТРОЙКИ При выборе данной функции на дисплеебудет отображена следующая информация: Помощь, информация орадиоприёмнике,...
Страница 102 - Язык сообщений
Типы 1 и 2 1. Нажмите кнопку с правой стрелкой на рулевом колесе, чтобы войти в главноеменю. 2. С помощью кнопок со стрелками вверх и вниз выделите Установка и нажмите кнопку с правой стрелкой. 3. Выделите Дисплей и нажмите кнопку с правой стрелкой. 4. Выделите Конфигурация и нажмите кнопку с правой...
Страница 107 - иммобилайзера двигателя; Освещение; Замена ламп
иммобилайзера двигателя; Описание Сигнализатор появления предупреждаю- щего сообщения Сообщение Иммобилайзер включен. См. Иммобилайзер двигателя (стр. 44). желтый Immobiliser active Система помощи при трогании в гору (HLA) Описание Сигнализатор появления предупреждаю- щего сообщения Сообщение Неиспр...
Страница 108 - Обслуживание
Описание Сигнализатор появления предупреждаю- щего сообщения Сообщение Одна или обе лампы задних противотуманных фонарей перегорели. Проверьте лампы задних противотуманных фонарей. См. Замена ламп (стр. 62). - Rear fog light: Bulb fault Одна или обе лампы стоп-сигналов перегорели. Проверьте лампы ст...
Страница 109 - Сигнализаторы и индикаторы; Защита пассажиров; Электрический стояночный
Описание Сигнализатор появления предупреждаю- щего сообщения Сообщение Требуется обслуживание фильтра твердых продуктов сгорания дизельного топлива. См. Фильтр твердых частиц (DPF) (стр. 147). См. Сигнализаторы и индикаторы (стр. 84). - Diesel filteroverloaded Защита пассажиров Описание Сигнализатор...
Страница 111 - Система контроля давления воздуха в шинах
Система контроля давления воздуха в шинах Описание Сигнализатор появления предупреждаю- щего сообщения Сообщение Указанная шина продолжила спускаться. Проверьте давление воздуха в шине и доведите его до требуемого значения. См. Технические характеристики (стр. 252). красный Проверьте ..... шины ! Да...
Страница 112 - Голосовое управление
Описание Сигнализатор появления предупреждаю- щего сообщения Сообщение Вы установили колеса, не имеющие датчиков давления воздуха. Значения давлений воздуха в шинах не будут отображаться. - Колесные датчики не обнаружены Все датчики давления воздуха неисправны или с системой взаимодействует незареги...
Страница 113 - Поступление наружного воздуха; Отопление; Плотно закрывайте все окна.; Охлаждение салона; Направляйте поток воздуха в лицо.; Передние дефлекторы; Органы управления микроклиматом
ПРИНЦИПЫ РАБОТЫ Поступление наружного воздуха Не допускайте закупориваниявоздухозаборных отверстий перед ветровымстеклом (снегом, листьями и т.п.), чтобысистема кондиционирования воздуха моглаработать эффективно. Рециркуляция воздуха ПРЕДОСТЕРЕЖЕНИЕ Длительное использование режимарециркуляции воздух...
Страница 114 - Дефлекторы второго ряда сидений; Дефлекторы третьего ряда сидений; Ветровое стекло
Дефлекторы второго ряда сидений E73131 A B C Воздух поступает через нижнийдефлектор A Воздух поступает через верхнийдефлектор B Верхний дефлектор C Используйте верхние дефлекторы дляудаления инея или влаги с боковых стёкол. Дефлекторы третьего ряда сидений E73132 РУЧНОЙ РЕЖИМ УПРАВЛЕНИЯМИКРОКЛИМАТОМ...
Страница 115 - На уровне лиц пассажиров; Вентилятор салона; Вентилятор выключен; Рециркуляция воздуха
На уровне лиц пассажиров E На уровне лиц пассажиров иветрового стекла F Регулятор распределения воздуха такжеможно установить в любое промежуточноеположение (между символами) для болееточной настройки. Вентилятор салона A E75470 Вентилятор выключен A Примечание: При выключенномвентиляторе салона вет...
Страница 116 - останется включённым.
Охлаждение салона наружным воздухом E71380 Быстрое охлаждение салона E71381 Удаление инея и снега с ветрового стекла E71382 При температуре выше 4°C кондиционервоздуха включится автоматически.Убедитесь в том, что включен вентиляторсалона. Во время удаления льда и влагигорит индикатор, встроенный впе...
Страница 118 - AUTO; включает; Установка требуемой температуры; LO; исчезнет с
Ваш автомобиль оснащен двухзоновой илитрехзоновой системой. Если системанаходится в режиме "моно", всетемпературные зоны связаны с зонойводителя. После выключения режима"моно", двухзонная система позволяетустанавливать различные температурывоздуха в салоне в зонах водителя ипассажира...
Страница 121 - Температура зоны задних пассажиров; Задний вентилятор салона
Примечание: Если система выключена, выне сможете установить температуру длязоны задних пассажиров ниже, чем средняятемпература, между температур,установленных для переднего пассажираи водителя. Переключение между режимамикондиционирования воздуха спереди исзади E70313 Нажмите кнопку . На дисплее ото...
Страница 122 - для возврата в; ОКНА И ЗЕРКАЛА С ОБОГРЕВОМ; Обогрев ветрового стекла
Когда система работает в режимекондиционирования задней части салона,нажмите кнопку AUTO для возврата в автоматический режим. В режиме "авто"управление вентилятором салона для зонызадних пассажиров осуществляетсяавтоматически. На дисплее показано AUTO . Включение и выключение заднейавтоматич...
Страница 124 - Время 1
E74467 Одноразово Время 1 Время 2 Включено Стоян.обогр • Функции Программа 1 и Программа 2 позволяют запрограммировать дваразных времени для каждого днянедели. Эти установки временисохранятся и отопитель будетпрогревать автомобиль к этому временив эти дни каждую неделю. • Функция Один раз позволяет ...
Страница 126 - OK; Для выхода из меню нажмите на кнопку
3. Выделите Доп. отопитель и нажмите кнопку OK , чтобы указать - включить или выключить отопитель. Когда отопительвключен, в соответствующем квадратена дисплее появится крестик. 4. Для выхода из меню нажмите на кнопку с левой стрелкой. Нажмите иудерживайте кнопку "Стрелка влево" длявозврата ...
Страница 127 - Сиденья
СИДЕНИЕ В ПРАВИЛЬНОМПОЛОЖЕНИИ E68595 ПРЕДУПРЕЖДЕНИЯ Не регулируйте сиденья во времядвижения. Только правильно пристегнутыйремень безопасности может удержатьваше туловище в том положении, в котором достигается оптимальный эффектсрабатывания подушки безопасности. Правильная регулировка и использование...
Страница 130 - ПОДГОЛОВНИКИ; Снятие подголовников; ЗАДНИЕ СИДЕНЬЯ; Второй ряд сидений; Перемещение сидений назад и вперед
ПОДГОЛОВНИКИ Отрегулируйте положениеподголовников. ПРЕДУПРЕЖДЕНИЯ Поднимите подголовники заднихсидений, если они занятыпассажирами. При установке на заднее сиденьедетского устройства безопасности,предназначенного для перевозки ребёнка лицом вперед, всегда снимайтеподголовник с этого сиденья. E71879 ...
Страница 131 - Регулировка спинки сиденья; Чтобы поднять спинку сиденья, потяните
Регулировка спинки сиденья E72645 1. Чтобы опустить спинку сиденья, потяните вверх рычаг регулировки длявнешнего сиденья или планку дляцентрального сиденья и отклонитеспинку назад, пока она не достигнетжелаемого положения. 2. Чтобы поднять спинку сиденья, потяните рычаг регулировки вверх и подвиньте...
Страница 132 - Третий ряд сидений
3. Поднимите спинку вверх, до тех пор пока она не зафиксируется. 4. Чтобы передвинуть сиденье назад, потяните вверх рычаг, находящийся подпередней частью сиденья, и подвиньтеэто сиденье. Складывание спинки сиденья вниз ПРЕДУПРЕЖДЕНИЕ При складывании вниз спинок сиденийпостарайтесь не класть пальцы м...
Страница 133 - Складывание сидений в уровень пола
E72647 Регулировка спинки сиденья (Galaxy) E75381 1. Чтобы опустить спинку сиденья, потяните вверх планку и отклонитеспинку назад, пока она не достигнетжелаемого положения. 2. Чтобы поднять спинку сиденья, потяните планку вверх и дайте спинке вернутьсяв вертикальное положение. Складывание сидений в ...
Страница 134 - Создание уровня нагрузки на пол
E72648 A B 3 2 1. Потяните за петлю задней части подушки сиденья и складывайтеподушку вперед, до тех пор пока она несравняется с уровнем пола ( 1 ). 2. Возьмитесь за рукоятку ( A ) и потяните петлю ( B ) в основании спинки сиденья вверх и назад( 2 ). 3. С помощью рукоятки сложите спинку сиденья вниз...
Страница 135 - СИДЕНЬЯ С ОБОГРЕВОМ; ВЕНТИЛИРУЕМЫЕ СИДЕНЬЯ
СИДЕНЬЯ С ОБОГРЕВОМ ПРЕДОСТЕРЕЖЕНИЕ Включение этой функции принеработающем двигателе приводит кразряду аккумуляторной батареи. E70601 E71224 Примечание: При выключении зажиганиясохраняются последние настройкисистемы обогрева сидений. ВЕНТИЛИРУЕМЫЕ СИДЕНЬЯ ПРЕДОСТЕРЕЖЕНИЕ Включение этой функции прине...
Страница 137 - СОЛНЦЕЗАЩИТНЫЕ КОЗЫРЬКИ; Боковые окна; Для отпускания шторки нажмите на кнопку.; ЧАСЫ; Функции обеспечения комфорта
СОЛНЦЕЗАЩИТНЫЕ КОЗЫРЬКИ Боковые окна E74809 A A Потяните шторку вверх и закрепите ее вкрючках ( A ). Крыша (Galaxy) E74808 Крыша (S-Max) E74807 Для отпускания шторки нажмите на кнопку. РЕГУЛЯТОР ЯРКОСТИПОДСВЕТКИ ПАНЕЛИ ПРИБОРОВ E70723 ЧАСЫ Примечание: Некоторые системынавигации автоматически устанав...
Страница 138 - ПРИКУРИВАТЕЛЬ; ПЕПЕЛЬНИЦА; Передняя пепельница; Для очистки вытяните пепельницу целиком.; Задняя пепельница
4. Используя кнопки-стрелки вправо, влево, вверх и вниз, выберите иизмените значение. 5. Нажмите OK . ПРИКУРИВАТЕЛЬ ПРЕДОСТЕРЕЖЕНИЯ Использование розеток принеработающем двигателе можетпривести к разряду аккумуляторной батареи. Не удерживайте прикуриватель внажатом положении. Примечание: Чтобы воспо...
Страница 139 - Galaxy; ПОДСТАВКИ ДЛЯ СТАКАНОВ; Подносы в спинках сидений; сложены и надёжно зафиксированы.; ПЕРЧАТОЧНЫЙ ЯЩИК; Охлаждаемый перчаточный ящик
Примечание: Питание к розеткамподаётся даже при выключенномзажигании. Примечание: Розетку также можноиспользовать для питания приборов,рассчитанных на напряжение питания 12В и номинальный ток не более 15 А. Дляподключения электроприборовиспользуйте только рекомендованныесоединительные элементы из чи...
Страница 140 - МЕСТА ДЛЯ ХРАНЕНИЯ ВЕЩЕЙ; Переднее вещевое отделение
E70885 МЕСТА ДЛЯ ХРАНЕНИЯ ВЕЩЕЙ ПРЕДУПРЕЖДЕНИЕ Не допускайте того, чтобы во времядвижения крышка вещевогоотделения была открыта. Перед началом движения убедитесь в том, чтокрышка надёжно закрыта. ПРЕДОСТЕРЕЖЕНИЕ Не храните в вещевом отделениипредметы и жидкости, чувствительныек нагреву. Переднее вещ...
Страница 141 - Верхнее вещевое отделение; Заднее вещевое отделение
Вещевое отделение, расположенноепод сиденьем E72981 1 2 Верхнее вещевое отделение ПРЕДУПРЕЖДЕНИЕ Не помещайте тяжелые предметы вверхнее вещевое отделение. ПРЕДОСТЕРЕЖЕНИЕ Не помещайте в меньшее вещевоеотделение предметы тяжелее 1 кг, а вбольшее вещевое отделение - тяжелее 2 кг. E73067 Заднее вещевое...
Страница 142 - КАРМАНЫ ДЛЯ КАРТ
Вещевое отделение, расположенноепод полом ПРЕДУПРЕЖДЕНИЕ При использовании на втором рядусидений устройства безопасностидетей с поддерживающей опорой убедитесь в надежности крепленияподдерживающей опоры на крышкеподпольного вещевого отделения.Убедитесь в правильности установки ввещевом отделении про...
Страница 144 - Активное сохранение; Отрегулируйте положение сиденья и; CD ЧЕЙНДЖЕР
Активное сохранение 1. Включите зажигание. 2. Отрегулируйте положение сиденья и наружных зеркал. 3. Нажмите и удерживайте одну из кнопок сохранения в памяти B , пока не услышите одиночную мелодию курантов,подтверждающую сохранение. Установка сиденья в одно изсохранённых в памяти положений Примечание...
Страница 146 - Общие правила пуска двигателя; ВЫКЛЮЧАТЕЛЬ ЗАЖИГАНИЯ; Пуск двигателя
ОБЩАЯ ИНФОРМАЦИЯ Общие правила пуска двигателя Если аккумуяторная батарея былаотсоединена, то после ее подсоединенияавтомобиль может проявлять некоторыенетипичные ходовые качества напротяжении примерно 8 км пробега. Это объясняется тем, что системеуправления двигателем требуетсяперенастройка для соо...
Страница 147 - Холодный/прогретый двигатель; Если двигатель не запускается после
Блокировка рулевого управленияосуществляется при выключенномзажигании, остановленном двигателе инеподвижном автомобиле. Рулевое управление разблокируется привключении зажигания. ПУСК БЕНЗИНОВОГОДВИГАТЕЛЯ Примечание: Стартер нельзя включатьна время свыше 30 секунд. Холодный/прогретый двигатель Для вс...
Страница 148 - Переведите ключ зажигания в; Постепенно отпускайте педаль; ПУСК ДИЗЕЛЬНОГО ДВИГАТЕЛЯ; Для всех автомобилей
Если двигатель холодный, частотахолостого хода будет автоматическиувеличена, чтобы как можно скорее прогретькаталитический нейтрализатор. Тем самымобеспечивается минимальная токсичностьотработавших газов. По мере прогревания каталитическогонейтрализатора частота холостого будетпостепенно снижаться. ...
Страница 149 - Регенерация; Когда это безопасно сделать:
Примечание: Продолжайте вращатьдвигатель, пока он не запустится. Примечание: Стартер нельзя включатьна время свыше 30 секунд. Включите зажигание и ждите, покане загорится индикатор свечизажигания. Автомобили с механической коробкойпередач Примечание: Не нажимайте педальакселератора. 1. Нажмите педал...
Страница 150 - ВЫКЛЮЧЕНИЕ ДВИГАТЕЛЯ; ПОДОГРЕВАТЕЛЬ ДВИГАТЕЛЯ
ВЫКЛЮЧЕНИЕ ДВИГАТЕЛЯ Автомобили с дизельнымидвигателями ПРЕДОСТЕРЕЖЕНИЕ Не выключайте двигатель, когда онработает на высоких оборотах. Иначетурбонасос продолжит работать, после того, как давление масла снизится до нуля.Это приведет к преждевременному износуподшипника турбокомпрессора. Отпустите педа...
Страница 151 - МЕРЫ ПРЕДОСТОРОЖНОСТИ; который отвечает требованиям; Топливо и заправка
МЕРЫ ПРЕДОСТОРОЖНОСТИ ПРЕДУПРЕЖДЕНИЯ Прекращайте заправку, после того какзаправочный пистолет отключится вовторой раз. Лишнее топливо заполняет расширительное пространствотопливного бака, что может привести квыплескиванию топлива из бака.Выплескивание топлива - это источникопасности для других участ...
Страница 152 - Длительное хранение; или эквивалентного ему.; ПАРКОВКА
Применяйте только очищенный от свинцабензин с октановым числом не менее 95 , который отвечает требованиям EN 228 или аналогичного стандарта. Также допускаетсязаправка автомобиля смесьюнеэтилированного бензина и био-этанола E85. Длительное хранение Так как в био-этаноле Е 85 можетсодержаться небольшо...
Страница 153 - ЗАПРАВКА ТОПЛИВОМ; РАСХОД ТОПЛИВА
КРЫШКА ЛЮЧКА ЗАЛИВНОЙГОРЛОВИНЫ Примечание: Система централизованнойблокировки замков также позволяетзаблокировать и разблокировать крышкутопливного бака. См. Блокировка иразблокировка замков (стр. 39). Примечание: При снятии крышки заливнойгорловины топливного бака вы можетеуслышать шипение, это нор...
Страница 154 - Расход топлива
Они даются с целью сравнения показателейразличных версий и комплектацийавтомобиля. Также вышеуказанныезначения не предназначены для отраженияреальной топливной экономичности вашегоавтомобиля. Реальная топливнаяэкономичность автомобиля определяетсямножеством факторов, среди которых: стильвождения, эк...
Страница 156 - повреждению коробку передач.; Парковка; Коробка передач
МЕХАНИЧЕСКАЯ КОРОБКАПЕРЕДАЧ Для всех автомобилей ПРЕДОСТЕРЕЖЕНИЯ Запрещается включать передачузаднего хода при движенииавтомобиля. Это может привести к повреждению коробку передач. Не применяйте чрезмерное боковоеусилие при переключении с 5-й на 4-уюпередачу. Это может привести к ненужному включению...
Страница 157 - двигателя, равной частоте холостого хода.
Нажмите специальную кнопку на рычагеселектора, для того чтобы перевести его вположение R (передача заднего хода) и P(парковка) Выбранное положение селектораотображается на информационном дисплее. Парковка ПРЕДУПРЕЖДЕНИЯ Включайте режим парковки(положение P) только на неподвижномавтомобиле. Перед вых...
Страница 158 - Режимы движения; Трогание с места
Режимы движения Коробка передач включит передачу,оптимальным образом соответствующуютемпературе окружающего воздуха,дорожному уклону, загрузке автомобиля истепени управляющего воздействияводителя. Рекомендации по управлениюавтомобилем с автоматическойкоробкой передач Трогание с места 1. Отпустите ст...
Страница 159 - Дисковые тормозные механизмы; слишком велика скорость на повороте; СТОЯНОЧНЫЙ ТОРМОЗ; Включение стояночного тормоза; Тормоза
ПРИНЦИПЫ РАБОТЫ Дисковые тормозные механизмы Попадание влаги в дисковые тормозныемеханизмы приводит к уменьшениюэффективности торможения. На обратномпути после мойки слегка нажмите педальтормоза несколько раз, чтобы избавитьсяот водяной пленки, неисправности системы ABS; ПРЕДУПРЕЖДЕНИЕ Система ABS н...
Страница 160 - Слегка приподнимите рычаг стояночного; чем покинуть автомобиль.; Стоянка на холме; Потяните выключатель один раз.
Стоянка на подъеме Если вам необходимо оставить автомобильна стоянке, обращенным передней частьюна верх подъема, включите первуюпередачу и поверните передние колеса всторону от бордюра тротуара. Если вамнеобходимо оставить автомобиль настоянке, обращенным передней частью внизподъема, включите первую...
Страница 162 - Отключение EPB; Ручное отключение
На скорости выше 6 км/ч (4 миль/ч)тормозная сила действует до тех пор, покавы удерживайте выключатель в положениивключения. Электрический стояночныйтормоз будет включен до тех пор, пока выне отпустите или нажмете на выключатель,или нажмете на педаль акселератора. Отключение EPB Автоматические отключ...
Страница 164 - управлением автомобилем.; Сигнализаторы и; Помощь при экстренном торможении; Система динамической стабилизации
ПРИНЦИПЫ РАБОТЫ Система курсовой устойчивости(ESP) ПРЕДУПРЕЖДЕНИЕ Система ESP не дает водителювозможности пренебрегатьаккуратным и внимательным управлением автомобилем. E72903 A A A B B B B без системы ESP A с системой ESP B Система ESP поддерживает курсовуюустойчивость в начальный моментотклонения ...
Страница 166 - ПРИМЕНЕНИЕ СИСТЕМЫ HLA; Настройка режима HLA:; Автоматич; Нажмите кнопку с правой стрелкой на; Setup; Выделите подсветкой пункт; Hill Launch; и нажмите на кнопку с правой стрелкой.; Система помощи при трогании на подъеме (HLA)
ПРИНЦИПЫ РАБОТЫ Система помощи трогания на подъеме (HillLaunch Assist - HLA) позволяет облегчитьтрогание автомобиля с места, когда оннаходится на подъеме, без использованиястояночного тормоза. Когда система HLA активирована,автомобиль, находясь на подъеме (спуске),остается на месте в течение двух - ...
Страница 167 - Активация системы HLA
4. Выделите подсветкой желаемую настройку и для подтверждения нажмитена кнопку OK . Если выбран вариант Off (Выключено), система HLA выключается,и ее нельзя активировать ниавтоматически, ни вручную. 5. Для выхода из меню нажмите кнопку с левой стрелкой. Нажмите и удерживайтекнопку "Стрелка влево...
Страница 168 - Отключение системы HLA; Для отключения системы HLA выполните
ПРЕДУПРЕЖДЕНИЕ Если система HLA работает вактивном режиме, и в ней выявленанеисправность, система отключается, и появляется сообщение Please use park brake! (Используйте стояночный тормоз!), а затем Hill Launch A .not available (Система недоступна). Вы можетепродолжать безопасную эксплуатациюавтомоб...
Страница 169 - Комфортный; Нормальный вариант настройки.; Спортивный; Более жесткий, спортивный стиль движения.; Выбор варианта настройки; Активная подвеска
ПРИНЦИПЫ РАБОТЫ Активная подвеска обеспечиваетулучшенную управляемость, комфорт истабильность движения путем постояннойрегулировки демпфирующих свойств взависимости от состояния дороги и условийезды. Эта система, вместе с системой ABS,потенциально обеспечивает более короткийтормозной путь на неровно...
Страница 170 - Система помощи при парковке
ПРИНЦИПЫ РАБОТЫ ПРЕДУПРЕЖДЕНИЕ Система помощи при парковке неснимает с вас ответственности зауправление автомобилем. ПРЕДОСТЕРЕЖЕНИЯ Способность датчиков к выявлениюпрепятствий может нарушиться всильный дождь или в присутствии искажающих помех. Датчики могут оказаться не в состоянииобнаружить предме...
Страница 172 - извилистых или скользких дорогах.; Включение системы круиз-контроля; Нажмите на кнопку; Система круиз-контроля
ПРИНЦИПЫ РАБОТЫ Система круиз-контроля позволяет вамуправлять скоростью автомобиля припомощи кнопок, вынесенных на рулевоеколесо. Системой круиз-контроля можнопользоваться, если скорость автомобиляпревышает 30 км/ч. ИСПОЛЬЗОВАНИЕ СИСТЕМЫКРУИЗ-КОНТРОЛЯ ПРЕДУПРЕЖДЕНИЕ Системой круиз-контроля не следуе...
Страница 173 - CAN; RES; OFF
Нажмите на кнопку SET+ или SET- , чтобы увеличить или уменьшить значениестабилизируемой скорости. Отмена режима стабилизациискорости E70614 Нажмите на педаль тормоза или на кнопку CAN . После этого система круиз-контроля не будет поддерживать заданную скорость.Индикатор включения системыкруиз-контро...
Страница 174 - неподвижным автомобилям.
ПРИНЦИПЫ РАБОТЫ Адаптивная система круиз-контроляпомогает водителю поддерживатьбезопасную дистанцию до следующеговпереди автомобиля, а также ограничиватьмаксимальную скорость движения. Системаулучшает управление автомобилем,который движется за другими автомобилямив том же направлении и по той же пол...
Страница 175 - крутые повороты и виражи дороги.
• Следите за чистотой передней частиавтомобиля, очищайте ее от грязи,металлических или иных объектов,попавших в решетку; не закрывайтерешетку радиатора защитнымиограждениями или дополнительнымифарами, которые нарушат работурадара. • Не пользуйтесь системой ACC привъезде на автомобильную дорогу илипр...
Страница 176 - Выключатель системы ACC; Включение системы ACC; Нажмите на переключатель; Standby
ПРЕДУПРЕЖДЕНИЕ После предупреждения вам следуетпредпринять немедленные действия,поскольку система ACC не может самостоятельно обеспечить безопаснуюдистанцию до следующего впередиавтомобиля. ИСПОЛЬЗОВАНИЕ СИСТЕМЫАДАПТИВНОГО КРУИЗ-КОНТРОЛЯ (ACC) Система управляется с помощью органовуправления, располо...
Страница 177 - ACC; Установка дистанции
Нажмите на кнопку SET+ или SET- , чтобы увеличить или уменьшить значениестабилизируемой скорости. Скорость,значение которой выведено на дисплей,будет установлено и запомнено. Горитиндикатор ACC . Примечание: Скорость движения можноувеличивать или уменьшать с шагом 5км/ч (или 5 миль/ч). Можно задать ...
Страница 178 - Отмена работы системы ACC; Выключение системы ACC; ACC cancel; двигатель не прогрет
Нажмите на клавишу E для уменьшения заданной дистанции или нажмите наклавишу D ,чтобы увеличить дистанцию. Заданная дистанция отображается числомгоризонтальных полос, выведенных надисплей. Рекомендуемая дистанция: от трехдо пяти полос. Примечание: Дистанция связана свременем движения и, следовательн...
Страница 179 - неподвижные автомобили.
Примечание: Система ACC не будетработать, если водитель вручнуюотключит систему динамическойстабилизации (ESP). ФУНКЦИЯ КОНТРОЛЯДИСТАНЦИИ ДО ВПЕРЕДИИДУЩЕГО АВТОМОБИЛЯ СРЕГУЛИРОВКОЙ СКОРОСТИДВИЖЕНИЯ Система предупреждения о препятствииперед автомобилем снижает вероятностьстолкновения и уменьшает посл...
Страница 180 - Индикатор будет гореть.; Общая информация
ПРЕДОСТЕРЕЖЕНИЕ Предупреждающий сигнал может бытьподан с опозданием, вообще не поданили подан без основания, если из-за дорожной ситуации радар не способенправильно обнаружить следующий впередиавтомобиль. Система предупреждения овозможном столкновении использует тот жерадар, что и адаптивная система...
Страница 181 - газы могут проникнуть в салон.; Перевозка груза
ОБЩАЯ ИНФОРМАЦИЯ ПРЕДУПРЕЖДЕНИЯ Используйте хомуты для удерживаниябагажа, которые соответствуютутвержденному стандарту, например, DIN. Надежно закрепите всенезакрепленные предметы. Размещайте багаж и грузы как можнониже и как можно ближе к переднейчасти автомобиля, в багажном или грузовом отсеке. Дв...
Страница 183 - Автомобили с третьим рядом сидений.
S-MAX A B A B C A C B E75394 Автомобили без третьего ряда сидений. Поднимите напольное покрытие дляполучения доступа к точкам крепления. B1 Автомобили с третьим рядом сидений. B2 181 Перевозка груза
Страница 184 - Вещевой отсек
СДВИЖНОЙ ПОЛО БАГАЖНОГООТДЕЛЕНИЯ ПРЕДУПРЕЖДЕНИЕ Не перемещайте пол грузового отсеканазад, если автомобиль стоит нанаклонной поверхности с крутизной уклона 15% и более и развернут передкомвверх. ПРЕДОСТЕРЕЖЕНИЕ Максимально допустимая нагрузка насдвижной пол грузового отсека - 200 кг. Максимально допу...
Страница 185 - Сдвижной поло багажного отделения
E74812 1 2 E74813 3 1. Нажмите на рукоятку снятия блокировки и немного переместите пол грузовогоотсека назад. 2. Приподнимите заднюю часть платформы пола ( 1 ). 3. Толкните платформу вперед до момента ее фиксации в передней части ( 2 ). 4. Высвободите опорную стойку из зажима на тыльной стороне плат...
Страница 186 - СЕТКИ ДЛЯ УДЕРЖАНИЯ ГРУЗОВ; находящимися впереди нее.
S-MAX Автомобили, не оборудованные третьимрядом сидений E75395 СЕТКИ ДЛЯ УДЕРЖАНИЯ ГРУЗОВ Сетка для удерживания багажа - 1-йвариант ПРЕДУПРЕЖДЕНИЕ Не занимайте сиденья, находящиесяпозади установленной сетки длякрепления багажа. ПРЕДОСТЕРЕЖЕНИЕ Оставляйте расстояние не менееодного сантиметра между се...
Страница 189 - Верхний багажник; перед поездкой
КРЫШКИ БАГАЖНОГООТДЕЛЕНИЯ ПРЕДУПРЕЖДЕНИЕ Не кладите на крышку багажногоотделения какие-либо предметы. E72969 Вытяните шторку и закрепите вудерживающих ответстиях. Отсоедините ее от удерживающихотверстий и дайте свернуться в кожух.Зацепите удерживающий крючок на кожухе. E72970 Для снятия или установк...
Страница 190 - Спинка сиденья
ПРИСПОСОБЛЕНИЯ ДЛЯФИКСАЦИИ ГРУЗА E75002 ПРЕДУПРЕЖДЕНИЯ Не поднимайте спинку сиденья, еслиустановлено крепление дляудерживания багажа. Нагрузка на два крепления дляудерживания багажа не должнапревышать 60 кг, а на одно крепление - 30 кг. Проверяйте надёжность и затягивайтекрепления для удерживания ба...
Страница 192 - быть установлен верно.
Установка креплений для багажа E75000 E75001 Установка держателей для багажа ПРЕДУПРЕЖДЕНИЯ Устанавливайте держатели длябагажа длинной стороной к заднейчасти автомобиля. Если держатели установлены неверно, то при аварии корпусможет сдвинуться со своего места. Не устанавливайте держатель длябагажа на...
Страница 197 - БУКСИРОВКА ПРИЦЕПА; Крутые спуски и подъемы; Буксировка
БУКСИРОВКА ПРИЦЕПА ПРЕДУПРЕЖДЕНИЯ Не превышайте допустимуюмаксимальную массу автомобиля иприцепа, указанную на идентификационной табличке. См. Идентификация автомобиля (стр. 254). Автомобили ST не предназначены длябуксировки прицепа. Примечание: Не все автомобили пригодныили имеют техническое разреш...
Страница 198 - Закрепление буксирного крюка
Разблокировка механизмабуксирного крюка E71329 2 1 3 1. Снимите предохранительную крышку ( 1 ). Для разблокировки установите ключ и поверните его по часовой стрелке ( 2 ). 2. Удерживайте буксирный крюк. Вытяните маховичок и поверните его по часовойстрелке до щелчка ( 3 ). 3. Красная отметка на махов...
Страница 199 - Вождение автомобиля с прицепом; зеленые метки совпадают.; Снятие буксирного крюка
Вождение автомобиля с прицепом E71331 A B ПРЕДУПРЕЖДЕНИЕ Если какое-либо из описанныхусловий не соблюдено, то нельзяиспользовать сцепное устройство. Необходимо произвести его проверку иремонт. Перед началом движения убедитесь в том,что буксирный крюк надёжно зафиксирован.Проверьте следующее: • зелен...
Страница 200 - Вождение автомобиля без прицепа; Уход
Вождение автомобиля без прицепа E94771 1 1. Снимите буксирный крюк. 2. Вставьте заглушку в гнездо ( 1 ). ПРЕДУПРЕЖДЕНИЕ Не допускается разблокироватьбуксирный крюк, если установленприцеп. Уход ПРЕДОСТЕРЕЖЕНИЕ Перед паровой очисткой автомобиляснимайте буксирный крюк и закрывайтеего гнездо заглушкой. ...
Страница 201 - Вставьте ключ в маховичок и поверните
E75174 B C 13-штыревой разъем для подключенияприцепа ( B ) расположен под задним бампером рядом с буксировочной балкой C . E76040 D Примечание: Если система неиспользуется, вставьте ключ в паз дляхранения (D) справа от маховичка. Складывание буксировочногоприспособления ПРЕДУПРЕЖДЕНИЯ Не подносите р...
Страница 203 - Движение с прицепом; маховичок вставлен в корпус без зазора.
4. Вручную поверните буксировочную балку из среднего положения до упорав рабочее положение. Буксировочнаябалка автоматически зафиксируется вкрайнем положении. Если фоновый шумне слишком сильный, вы отчетливоуслышите звук, сопровождающийпроцесс фиксации. После завершенияпроцесса фиксации предупреждаю...
Страница 204 - ОБКАТКА; Шины; Тормозная система и сцепление; Двигатель; Советы по вождению
ОБКАТКА Шины ПРЕДУПРЕЖДЕНИЕ Новые шины нуждаются в обкатке напротяжении примерно 500 км (300миль). В этот период автомобиль может демонстрировать различныединамические характеристики. Тормозная система и сцепление ПРЕДУПРЕЖДЕНИЕ По возможности избегайте резкоготорможения на протяжении первых150 км (...
Страница 205 - АПТЕЧКА; Места; ЗНАК АВАРИЙНОЙ ОСТАНОВКИ; Места для; Аварийное оборудование
АПТЕЧКА E73238 В подпольном вещевом отделениипредусмотрено место для хранения аптечкипервой медицинской помощи. См. Места для хранения вещей (стр. 138). ЗНАК АВАРИЙНОЙ ОСТАНОВКИ E73239 В подпольном вещевом отделениипредусмотрено место для хранения знакааварийной остановки. См. Места для хранения вещ...
Страница 206 - Ремни безопасности; Состояние после столкновения
ОСМОТР ЭЛЕМЕНТОВ СИСТЕМЫБЕЗОПАСНОСТИ Ремни безопасности Ремни, которые при аварии подверглисьнатяжению, следует заменить; крепленияремней должны быть провереныпрофессиональным специалистом. 204 Состояние после столкновения
Страница 207 - Установка выполняется в обратной; Плавкие предохранители
РАСПОЛОЖЕНИЕ БЛОКОВПЛАВКИХ ПРЕДОХРАНИТЕЛЕЙ Подкапотный блок плавкихпредохранителей E72588 Центральный блок плавкихпредохранителей E72589 1. Ослабьте винты. E72590 2. Поверните фиксатор на 1/4 оборота и извлеките блок предохранителей издержателя. 3. Опустите блок и потяните его на себя. E72622 4. Сни...
Страница 208 - Демонтируйте фиксаторы и снимите крышку.
Задний блок плавкихпредохранителей E72591 Демонтируйте фиксаторы и снимите крышку. ЗАМЕНА ПЛАВКОГОПРЕДОХРАНИТЕЛЯ ПРЕДУПРЕЖДЕНИЯ Не вносите никаких изменений вэлектрическую систему вашегоавтомобиля. Ремонт электрической системы, замена реле и предохранителейвысокой силы тока должны выполнятьсяквалифи...
Страница 209 - ТАБЛИЦА ХАРАКТЕРИСТИК ПЛАВКИХ ПРЕДОХРАНИТЕЛЕЙ; Подкапотный блок плавких предохранителей; Блок управления трансмиссией
ТАБЛИЦА ХАРАКТЕРИСТИК ПЛАВКИХ ПРЕДОХРАНИТЕЛЕЙ Подкапотный блок плавких предохранителей E75525 Защищаемые цепи Цвет Сила тока, А Предохрани- тель Блок управления трансмиссией красный 10 F1 Управление свечой накаливания (для автомо-билей с дизельными двигателями) желто-корич- невый 5 F2 207 Плавкие пр...
Страница 213 - Центральный блок плавких предохранителей
Центральный блок плавких предохранителей E75527 Защищаемые цепи Цвет Сила тока, А Предохрани- тель Датчик дождя желто- коричневый 5 F1 Питание системы SRS (подушки безопасности) красный 10 F2 ABS, датчик рысканья (ESP), электрическийстояночный тормоз (EPB) желто- коричневый 5 F3 Электропитание, педа...
Страница 218 - Эвакуация автомобиля
ТОЧКИ КРЕПЛЕНИЯБУКСИРОВОЧНОГООБОРУДОВАНИЯ Передняя буксирная проушина E73241 Задняя буксирная проушина A E73242 Место крепления заднейбуксирной петли A E73240 Буксирная петля с резьбовым креплениемхранится в вещевом отделении под полом,позади передних сидений. См. Вещевой отсек под полом задка (стр....
Страница 219 - буксирующего автомобиля.
ПРЕДУПРЕЖДЕНИЯ Тормозной привод и насосгидроусилителя рулевого управленияне работают при выключенном двигателе. Необходимо сильнее нажиматьна педаль тормоза и учитывать, чтотормозной путь и усилие поворота рулевогоколеса становятся больше. ПРЕДОСТЕРЕЖЕНИЯ Слишком сильное натяжениебуксировочного трос...
Страница 220 - Ежедневные проверки
ОБЩАЯ ИНФОРМАЦИЯ Для поддержания хорошего техническогосостояния и во избежание обесцениванияавтомобиля необходимо регулярнопроводить техническое обслуживание. Квашим услугам широкая сеть официальныхдилерских центров обслуживания и ремонтаFord. Мы уверены, что прошедшиеспециальную подготовку техничес...
Страница 221 - Открывание капота; Откройте капот и установите упор.; Закрывание капота
ОТКРЫВАНИЕ И ЗАКРЫВАНИЕКАПОТА Открывание капота E73698 E87785 Слегка приподнимите капот и передвиньтефиксатор в направлении левой стороныавтомобиля. E87786 Откройте капот и установите упор. Закрывание капота ПРЕДУПРЕЖДЕНИЕ Убедитесь, что капот надежно закрыт. Опустите капот и, оставив 20 - 30сантиме...
Страница 231 - ПРОВЕРКА МОТОРНОГО МАСЛА; Проверка уровня масла; Если уровень находится на отметке; Доливка; его температура не понизится.
ПРОВЕРКА МОТОРНОГО МАСЛА ПРЕДОСТЕРЕЖЕНИЕ Не пользуйтесь добавками к моторномумаслу или другими средствами дляулучшения работы двигателя. При определенных условиях использованиеприсадок может привести к повреждениюдвигателя. Примечание: Расход масла у новыхдвигателей достигает нормальногозначения пос...
Страница 233 - Снимите крышку наливной горловины.
ПРОВЕРКА РАБОЧЕЙ ЖИДКОСТИУСИЛИТЕЛЯ РУЛЕВОГОУПРАВЛЕНИЯ ПРЕДУПРЕЖДЕНИЕ Избегайте контакта рабочей жидкостис кожей или глазами. При контакте сжидкостью немедленно промойте пораженные участки обильным количествомводы и обратитесь к врачу. ПРЕДОСТЕРЕЖЕНИЕ Проверьте, чтобы уровень находилсямежду отметками...
Страница 234 - Эксплуатационные жидкости
ТЕХНИЧЕСКИЕ ХАРАКТЕРИСТИКИ Эксплуатационные жидкости Спецификация Рекомендуемая рабочая жидкость Позиция WSS-M2C913-B Моторное масло Ford илиMotorcraft Formula E SAE 5W- 30 * МОТОРНОЕ МАСЛО WSS-M2C204-A2 Рабочая жидкость усилителярулевого управления Fordили Motorcraft Рабочая жидкость усилителярулев...
Страница 235 - Топливный бак
Вместимость, л (галлоны) Параметр Комплектация 4,3 (1,0) Система смазки двигателя (сучетом масляного фильтра) 2.0L Duratec-HE 3,9 (0,9) Система смазки двигателя(без учета масляногофильтра) 2.0L Duratec-HE 6,2 (1,4) Система охлаждения двига-теля 2.0L Duratec-HE 70 (15,4) Топливный бак 2.0L Duratec-HE...
Страница 237 - некоторых частей автомобиля.; Очистка фар; химические растворители для их чистки.; Очистка заднего стекла; химические растворители для ее чистки.; Очистка хромированных деталей; ОЧИСТКА САЛОНА; Уход за автомобилем
ОЧИСТКА АВТОМОБИЛЯСНАРУЖИ ПРЕДУПРЕЖДЕНИЕ Если вы моете автомобиль сполировкой, убедитесь, что наветровом стекле не остался слой полироли. ПРЕДОСТЕРЕЖЕНИЯ Некоторые моечные станциииспользуют высокое давление водянойструи. Это может вызвать повреждения некоторых частей автомобиля. Снимите антенну пере...
Страница 239 - Присоединение проводов; Аккумуляторная батарея автомобиля
ОБСЛУЖИВАНИЕАККУМУЛЯТОРНОЙ БАТАРЕИ Аккумуляторная батарея практически ненуждается в обслуживании. Уровеньэлектролита регулярно проверяется врамках каждого технического обслуживания. ИСПОЛЬЗОВАНИЕСОЕДИНИТЕЛЬНЫХЭЛЕКТРИЧЕСКИХ ПРОВОДОВ ПРЕДОСТЕРЕЖЕНИЯ Подсоединяйте аккумуляторнуюбатарею только с таким ж...
Страница 240 - Процедура пуска двигателя
Положительный соединительныйпровод C Отрицательный соединительныйпровод D 1. Установите автомобили таким образом, чтобы они не соприкасались. 2. Выключите двигатель и отключите все неиспользуемое электрооборудование. 3. Соедините положительную (+) клемму аккумуляторной батареи автомобиля В с положит...
Страница 241 - ЗАМЕНА КОЛЕСА; Секретные гайки для колес; Колеса и шины
ОБЩАЯ ИНФОРМАЦИЯ ПРЕДОСТЕРЕЖЕНИЯ Используйте колеса и шины толькоразрешенных типоразмеров.Использование шин других типоразмеров может привести кповреждению автомобиля, кроме того, вэтом случае государственное типовоеразрешение на шины становитсянедействительным. Если вы установите на автомобильшины ...
Страница 242 - Демонтаж колеса
E90708 A Метки на порогах A показывают места установки домкрата. E93020 Автомобили с боковыми накладками,улучшающими аэродинамику кузова E90709 Устанавливайте опорную пяту домкратачерез вырезы в нижней части боковыхнакладок. Демонтаж колеса ПРЕДУПРЕЖДЕНИЯ Остановите автомобиль в такомместе, где он н...
Страница 243 - относительно плоскости земли.; лакокрасочного покрытия.; Установка колеса
ПРЕДУПРЕЖДЕНИЯ Под дальнее колесо подложитеподходящий кирпич или башмак. При установке колеса следите за тем,чтобы стрелки на шине, показывалиправильное направление вращения при движении автомобиля вперед. Если назапасном колесе, которое необходимоустановить, стрелки указываютпротивоположное направл...
Страница 244 - От руки заверните гайки крепления; Технические
ПРЕДУПРЕЖДЕНИЯ Не устанавливайте на автомобильшины, сохраняющиеработоспособность при проколе, если первоначально автомобиль не былоборудован такими шинами. Для полученияболее подробных сведений оприменяемости шин свяжитесь со своимдилером. ПРЕДОСТЕРЕЖЕНИЕ Не крепите легкосплавные дискигайками, предн...
Страница 245 - КОМПЛЕКТ ДЛЯ РЕМОНТА ШИН; Общие сведения; , особенно если автомобиль
7. Установите колпак колеса (установка осуществляется руками безиспользования инструментов). ПРЕДУПРЕЖДЕНИЕ Как можно скорее проверьте моментзатяжки гаек крепления колеса идавление воздуха в шинах. КОМПЛЕКТ ДЛЯ РЕМОНТА ШИН Этот автомобиль не укомплектованзапасной шиной, но в нем есть комплект дляэкс...
Страница 246 - Накачивание шины; эксплуатируйте эту шину.
• Припаркуйте автомобиль на обочинепроезжей части, так, чтобы незатруднять движение транспорта ииспользовать комплект, не подвергаясебя опасности. • Применяйте стояночный тормоз дажепри остановке на горизонтальнойповерхности, чтобы предотвратитьвозможное перемещение автомобиля. • Не пытайтесь удалит...
Страница 249 - Проверка давления в шинах; Технические характеристики
ПРЕДУПРЕЖДЕНИЕ Если вы ощутите сильные вибрации,неустойчивость или шумы во времядвижения, то сбросьте скорость и осторожно доедьте места, на котором можнобезопасно остановить автомобиль.Перепроверьте состояние шины и давление.Если давление в шине меньше 1,3 бар (19пси) или присутствуют любые трещины...
Страница 250 - Принцип действия; Стандартная шина; Шина; Если повреждена шина:
ДВИЖЕНИЕ СО СПУЩЕННЫМИШИНАМИ Принцип действия Стандартная шина B A C E75207 Положение обода колеса принормальном давлении в шине A Положение обода колеса принедостаточном давлении в шине B Шина C Шина, сохраняющая работоспособностьпри наличии прокола B D C A E87667 Положение обода колеса принормальн...
Страница 251 - ОБСЛУЖИВАНИЕ ШИН
Замена шин, сохраняющихработоспособность при наличиипрокола ПРЕДУПРЕЖДЕНИЯ Обязательно уведомьте механика отом, что автомобиль оснащенспециальными шинами, сохраняющими работоспособность приналичии прокола Не ремонтируйте и не используйтеповторно шины, сохраняющиеработоспособность при наличии прокола...
Страница 252 - ИСПОЛЬЗОВАНИЕ ЗИМНИХ ШИН; определения давления воздуха.
ИСПОЛЬЗОВАНИЕ ЗИМНИХ ШИН ПРЕДОСТЕРЕЖЕНИЕ Удостоверьтесь, что для крепленияколёс, на которые монтируются зимниешины, вы используете подходящие гайки. При использовании зимних шин убедитесь,что давление в них соответствует норме.См. Технические характеристики (стр. 252). ИСПОЛЬЗОВАНИЕ ЦЕПЕЙПРОТИВОСКОЛ...
Страница 254 - Момент затяжки колёсных гаек; Все; Давление в шинах
ТЕХНИЧЕСКИЕ ХАРАКТЕРИСТИКИ Момент затяжки колёсных гаек Нм Тип колеса 170 (125) Все Давление воздуха в шинах (холодные шины) До 160 км/ч (100 миль в час) Давление в шинах Полная загрузка Нормальная загрузка Типоразмер шин Комплектация Задняя Передняя Задняя Передняя бар (фунт силы/дюйм²) бар (фунт с...
Страница 256 - Идентификация автомобиля
ТАБЛИЧКА СИДЕНТИФИКАЦИОННЫМНОМЕРОМ АВТОМОБИЛЯ E85610 C B E D A Идентификационный номеравтомобиля A Полный вес автомобиля B Полная масса автопоезда C Максимальная нагрузка напереднюю ось D Максимальная нагрузка назаднюю ось E Табличка с указанием идентификационногономера автомобиля и максимальныхнагр...
Страница 257 - Размеры автомобиля; Габаритная длина
ТЕХНИЧЕСКИЕ ХАРАКТЕРИСТИКИ Размеры автомобиля S-MAX E75180 D A E B C Размеры, мм (дюймы) Габариты Поз. 4 768 (187,7) Габаритная длина A 2 154 (84,8) Габаритная ширина (с учетом наружных зеркал) B 1 610 - 1 658 (63.4 - 65.3) Габаритная высота (соотв. снаряженной массе по стандарту ЕС) C 2 850 (112,2)...
Страница 258 - Колея передних колес
Размеры, мм (дюймы) Габариты Поз. 1 578 - 1 588 (62,1 - 62,5) Колея передних колес E 1 600 - 1 610 (63 - 63,4) Колея задних колес E Galaxy E76860 Размеры, мм (дюймы) Габариты Поз. 4 820 (189,8) Габаритная длина A 2 154 (84,8) Габаритная ширина (с учетом наружных зеркал) B 256 Технические характерист...
Страница 259 - Размеры буксировочного оборудования
Размеры, мм (дюймы) Габариты Поз. 1 691 - 1 764 (66.6 - 69.4) Габаритная высота снаряженного автомобиля без верхних багажных брусьев C 1 770 - 1 807 (69.7 - 71.1) Габаритная высота снаряженного автомобиля с верхними багажными брусьями C 2 850 (112,2) Колесная база D 1 578 - 1 588 (62,1 - 62,5) Колея...
Страница 262 - Центр шаровой опоры буксирного устройства -
Размеры, мм (дюймы) Габариты Поз. 473 (18,62) Центр шаровой опоры буксирного устройства - центральная точка крепления №2 G 685 (26,97) Центр шаровой опоры буксирного устройства - центральная точка крепления №3 H 260 Технические характеристики
Страница 263 - НАСТРОЙКА ТЕЛЕФОНА; Телефонная книга; Мобильный телефон; Телефон
ОБЩАЯ ИНФОРМАЦИЯ ПРЕДОСТЕРЕЖЕНИЕ Использование системы принеработающем двигателе приведет кразрядке аккумулятора. В этом разделе описаны функции иособенности мобильного телефона сBluetooth и функциями “hands free”. Подсистема телефонной связи Bluetoothобеспечивает взаимодействиеаудиосистемы или сист...
Страница 264 - НАСТРОЙКА BLUETOOTH; Пользование телефоном
E87990 Телефон E87991 Мобильный телефон E87992 Домашний телефон E87993 Офисный телефон E87994 Факс Присвоение мобильному телефонустатуса активного телефона В начале работы с коммуникационнойсистемой автомобиля с ней не связан ниодин телефон. После включения зажигания и аудиоблокатребуется связать те...
Страница 265 - На мобильном телефоне и на панели; ON; УПРАВЛЕНИЕ ТЕЛЕФОНОМ; Кнопки Voice и Mode; Кнопка Voice
Требования к соединению черезBluetooth Для того чтобы связать мобильный телефонс коммуникационной системой черезBluetooth, необходимо соблюдениеследующих условий. 1. На мобильном телефоне и на панели управления аудиосистемой должна бытьактивирована функция Bluetooth.Убедитесь в том, что опция менюBl...
Страница 266 - Вызов абонента
Даже если Ваш мобильный телефон связанс аудиосистемой автомобиля, Вы можетепользоваться телефоном, как обычно. Примечание: Вы можете выйти из менютелефона, нажав любую из кнопок CD,AM/FM или AUX Вызов абонента Набор номера с помощью голосовогоуправления Телефонные номера можно набирать спомощью кома...
Страница 268 - Отключение звука микрофона
Отключение звука микрофона Во время телефонного разговора можноотключить звук микрофона. При отключениизвука появляется подтверждение надисплее. Аудиоблоки с зеленой кнопкойприёма/вызова Нажмите на кнопку приёма/вызова. Нажмитена кнопку еще раз, чтобы отключить этуфункцию. Аудиоблоки без зеленой кно...
Страница 271 - Управляющие команды; Радиоприёмник; Отзыв системы
ПРИНЦИПЫ РАБОТЫ ПРЕДОСТЕРЕЖЕНИЕ Использование системы принеработающем двигателе приведет кразрядке аккумулятора. Система голосовых команд (Voicerecognition) позволяет управлять системой,не отвлекаясь от управления автомобилемдля изменения настроек или чтениясообщений системы. Если Вы произносите одн...
Страница 272 - Принцип действия системы; означает номер или голосовую метку; Голосовые метки; КОМАНДЫ АУДИОБЛОКА; Проигрыватель CD-дисков
ИСПОЛЬЗОВАНИЕ ГОЛОСОВЫХКОМАНД Принцип действия системы Команды, воспринимаемые системой VoiceControl (а также порядок их произнесения),описаны ниже. В таблицах показанапоследовательность голосовых командпользователя и отзыв системы для каждойиз имеющихся функций. <> означает номер или голосову...
Страница 273 - * Может использоваться в качестве ярлыка.; Запись; НАЗОВИТЕ НОМЕР ЗАПИСИ
"CD PLAYER" (CD-проигрыватель) "HELP" (Помощь) "PLAY" (Воспроизведение) "TRACK" (Запись) * "SHUFFLE ALL" (В произвольном порядке - Все) "SHUFFLE FOLDER" (В произвольном порядке - Папка) ** "SHUFFLE OFF" (Произвольный порядок отключен) "REPE...
Страница 274 - Краткий обзор
Отзыв системы Слова пользователя Шаги "CD PLAYER" (CD-проигрыватель) "CD PLAYER" (CD-проигрыватель) 1 "SHUFFLE ALL" (В произвольном порядке - Все) 2 CD-чейнджер Краткий обзор Доступные голосовые команды описаныниже. Списки, приведенные ниже, содержатдополнительную информацию ...
Страница 275 - Диск; НАЗОВИТЕ НОМЕР ДИСКА
Диск Если на Ваш автомобиль установленCD-чейнджер, Вы можете выбрать номердиска. Отзыв системы Слова пользователя Шаги "CD-CHANGER" / (CD-чейнджер) "CD-CHANGER" / (CD-чейнджер) 1 НАЗОВИТЕ НОМЕР ДИСКА "DISC" (Диск) * 2 "DISC <номер>" "<число от 1 до 6>&...
Страница 276 - Радиоприемник; Настройка частоты; * Частоту можно задать разными способами. Примеры приведены ниже.
Радиоприемник Система "Voice Control" позволяет управлятьработой радиоприемника и настраиватьчастоты радиостанций при помощиголосовых команд. Краткий обзор Доступные голосовые команды описаныниже. Приведенные ниже списки содержатподробную информацию обо всем меню, вкоторое входят эти команды...
Страница 277 - Сохранение названия; Настройка с помощью голосовых меток; НАЗОВИТЕ ИМЯ
Диапазон FM. 87,5 - 108,0 с шагом 0,1 • "Восемьдесят девять точка девять"(89,9) • "Девяносто" (90,0) • "Сто точка пять" (100,5) • "Один ноль один точка один" (101,1) • "Один ноль восемь" (108,0) Диапазон AM/MW: 531 - 1602 с шагом 9 Диапазон AM/LW: 153 - 281 с ...
Страница 278 - Удаление имени; Прослушивание содержимого папки
Удаление имени Эта функция позволяет Вам удалить изпамяти системы предварительнозаписанную радиостанцию. Отзыв системы Слова пользователя Шаги "RADIO" (Радиоприемник) "RADIO" (Радиоприемник) 1 НАЗОВИТЕ ИМЯ "DELETE NAME" (Удалить - Название) 2 "DELETE <имя>" "...
Страница 279 - Внешние устройства - USB
Отзыв системы Слова пользователя Шаги "COMMAND CANCELLED" (КОМАНДА ОТМЕНЕНА) "НЕТ" Play (Воспроизведение) Эта функция переключает источник звука врежим радиоприемника. Отзыв системы Слова пользователя Шаги "RADIO" (Радиоприемник) "RADIO" (Радиоприемник) 1 "PLAY...
Страница 280 - Внешние устройства - iPod
"EXTERNAL DEVICE", "USB" (Внешнее устройство, USB) "REPEAT OFF" (Повтор отключен). * Может использоваться в качестве ярлыка. ** Требуется, чтобы спискам воспроизведения и папкам, которые выбираются с помощьюголосовых команд, были присвоены специальные имена файлов. См. Общая ...
Страница 282 - Список воспроизведения iPod; НАЗОВИТЕ НОМЕР СПИСКА
Список воспроизведения iPod Вы можете выбрать один из списковвоспроизведения iPod напрямую. Отзыв системы Слова пользователя Шаги "EXTERNAL DEVICE" (Внешнее устройство) "EXTERNAL DEVICE" (Внешнее устройство) 1 "IPOD" "IPOD" 2 НАЗОВИТЕ НОМЕР СПИСКА ВОСПРОИЗВЕДЕНИЯ "...
Страница 283 - Воспроизведение с SD-карты
Воспроизведение с SD-карты Эта функция позволяет переключитьисточник звука на аудиофайлы, записанныена SD-карте. Отзыв системы Слова пользователя Шаги "SD CARD" (SD-карта) "SD CARD" (SD-карта) 1 "PLAY" (Воспроизведение) 2 Запись на SD-карте Вы можете выбрать номер записи наSD...
Страница 284 - Создание телефонной книги; Сохранение имени
"PHONE" (Телефон) "HELP" (Помощь) "MOBILE NAME" (Имя мобильного телефона) * "DIAL NUMBER" (Набрать номер) * "DIAL NAME" (Набрать имя) * "DELETE NAME" (Удалить - Название) DELETE DIRECTORY (Удалить папку) "PLAY DIRECTORY" (Воспроизвести - Папка)...
Страница 286 - Функции мобильного телефона; Голосовые метки мобильного телефона; от конкретного мобильного теле-; Набор номера; НАЗОВИТЕ НОМЕР
Отзыв системы Слова пользователя Шаги "PHONE" (Телефон) "PHONE" (Телефон) 1 DELETE DIRECTORY (Удалить папку) DELETE DIRECTORY (Удалить папку) 2 ПОДТВЕРДИТЕ (ДА/НЕТ) "DIRECTORY DELETED" (ПАПКА УДАЛЕНА) "ДА" 3 "COMMAND CANCELLED" (КОМАНДА ОТМЕНЕНА) "НЕТ"...
Страница 287 - Повторный набор номера
Отзыв системы Слова пользователя Шаги ПРОДОЛЖИТЬ?" ИДЕТ ДОЗВОН "DIAL" (Набрать номер) 4 "<повторите последнюю часть номера> "CORRECTION" ("ИСПРАВИТЬ") ПРОДОЛЖИТЬ?" * Может использоваться в качестве ярлыка. Набор по имени (набор с помощьюголосовых меток) Сист...
Страница 288 - Основные установки; Отклонение звонков
Отзыв системы Слова пользователя Шаги ИДЕТ ДОЗВОН "ДА" 3 "COMMAND CANCELLED" (КОМАНДА ОТМЕНЕНА) "НЕТ" * Может использоваться в качестве ярлыка. DTMF (Режим тонового набора) Эта функция преобразует произносимыецифры в тоны DTMF. Например, для тогочтобы передать дистанционный з...
Страница 289 - Система климат-контроля
КОМАНДЫ УПРАВЛЕНИЯНАВИГАЦИОННОЙ СИСТЕМОЙ Для получения более подробных сведенийо меню команд обращайтесь к отдельномуРуководству по навигационной системе. КОМАНДЫ УПРАВЛЕНИЯКЛИМАТ-КОНТРОЛЕМ Система климат-контроля При помощи голосовых команд можноуправлять частотой вращения вентилятораи регулировать...
Страница 291 - Автоматический режим
Отзыв системы Слова пользователя Шаги "TEMPERATURE <число>" "<число в диапазоне от 15 до 29 °C с шагом 0,5>" или"<число от 59 до 84 °F>" "ТЕМПЕРАТУРА МАКСИМАЛЬНАЯ" "MAXIMUM" (Максимальная) * Может использоваться в качестве ярлыка. Автоматичес...
Страница 292 - неиспользуемое гнездо заглушкой.; USB
ОБЩАЯ ИНФОРМАЦИЯ ПРЕДОСТЕРЕЖЕНИЯ Соблюдайте осторожность вобращении с внешними устройствами,имеющими открытые электрические разъемы (например, с донглами USB).Обязательно надевайте предохранительнуюкрышку/колпачок. Существует рискэлектростатического разряда, которыйможет повредить устройство. Не дот...
Страница 293 - Подключение
Не превышайте следующие ограничения: • 1000 элементов в одной папке (файлы,папки и списки воспроизведения). • 5000 папок на одно устройство USB(включая списки воспроизведения). • 8 уровней суб-папок. Для голосового управленияпользовательскими спискамивоспроизведения и папками выполнитеследующую проц...
Страница 294 - Радиоприемник Sony; Принцип работы
E100029 USB в активном режиме E100022 Папка E100023 Список воспроизведения E100024 Альбом E100025 Исполнитель E100026 Имя файла E100027 Заголовок записи E100028 Нет данных Радиоприемник Sony Принцип работы Выберите устройство USB в качествеисточника звука; для этого несколько разнажмите на кнопку CD...
Страница 295 - Навигационные блоки на базе CD
Нажмите на клавишу MENU, чтобы войти вменю USB. По отношению к папкам испискам воспроизведения можноиспользовать функции повтора ивоспроизведения в произвольном порядке. Нажмите на кнопку SCAN для сканированиявсего устройства, текущей папки или спискавоспроизведения, если он используется. Нажмите на...
Страница 296 - INFO; дисплей следующую информацию:; Навигационные блоки на базе DVD; Нажмите и удерживайте клавишу; SEEK; для
Используйте кнопки SHUFFLE и REPEATдля включения режима произвольноговыбора записей из папок или списковвоспроизведения или режима повтора.Могут появиться различные опции, взависимости от того, используется ли списоквоспроизведения. Нажмите на кнопку SCAN для сканированиятекущего списка воспроизведе...
Страница 297 - ИСПОЛЬЗОВАНИЕ IPOD
Нажмите на кнопку SCAN для сканированиятекущего списка воспроизведения (если ониспользуется), или всего устройства USBили папки. Нажмите на кнопку INFO , чтобы вывести на дисплей следующую информацию: • имя файла, • заголовок, • исполнитель, • альбом, • номер записи и время воспроизведения. ИСПОЛЬЗО...
Страница 301 - ОДОБРЕНИЯ ТИПА; Приложения
ОДОБРЕНИЯ ТИПА Система дистанционногоуправления Примечание: Рекомендуетсяпользоваться системой дистанционногоуправления только в странах,перечисленных в списке. При проверке типового разрешения насистему дистанционного управления вашегоавтомобиля обращайтесь к следующейтаблице. 299 Приложения
Страница 308 - подушек безопасности.
ПРЕДУПРЕЖДЕНИЯ Передатчики, работающие нарадиочастотах (РЧ) (например,сотовые телефоны, радиолюбительские передатчики) могутбыть установлены на ваш автомобильтолько в том случае, если они соответствуютпараметрам, указанным в следующейтаблице. Для их установки и использованияне требуется выполнение с...
Страница 309 - Все положения; при работающем двигателе
Положение антенны Максимальная выходная мощность Вт (на пике RMS) Диапазон частот МГц 2 10 W 1200 – 1400 1, 2, 3, 4, 5 (6 1 , 7 1 ) 10 W (1 W 1 ) 1710 – 1885 1, 2, 3, 4, 5 (6 1 , 7 1 ) 10 W (1 W 1 ) 1885 – 2025 Все положения 0,1 W 2400 – 2500 1 Только для мобильных телефонов GSM/3G с антенной, накле...
Страница 311 - Указатель
A A/C См.: Органы управления микроклиматом....111 ABS См.: Тормоза..................................................157 ACC (Адаптивный круиз-контроль) См.: Использование системы адаптивного круиз-контроля (ACC)...............................174 См.: Система адаптивного круиз-контроля (ACC)............
Страница 322 - Электрический стояночный тормоз
Электрический стояночный тормоз (EPB)......................................................158 Автоматическое включение электрического стояночного тормоза................................159 Включение EPB.............................................158Использование EPB во время движения автомобиля......