FIT ID-1050 80087 - Инструкция по эксплуатации

FIT ID-1050 80087

Шуруповерт FIT ID-1050 80087 - инструкция пользователя по применению, эксплуатации и установке на русском языке. Мы надеемся, она поможет вам решить возникшие у вас вопросы при эксплуатации техники.

Если остались дополнительные вопросы — свяжитесь с нами через контактную форму.

1 Страница 1
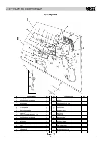
2 Страница 2
3 Страница 3
4 Страница 4
5 Страница 5
6 Страница 6
7 Страница 7
8 Страница 8
9 Страница 9
10 Страница 10
Страница: / 10
Загрузка инструкции

Инструкция
по эксплуатации

Ударная дрель FIT ID-1050 80087

Цены на товар на сайте:

http://www.vseinstrumenti.ru/instrument/dreli/udarnye/fit/id-1050_80087/

Отзывы и обсуждения товара на сайте:

http://www.vseinstrumenti.ru/instrument/dreli/udarnye/fit/id-1050_80087/#tab-Responses

"Загрузка инструкции" означает, что нужно подождать пока файл загрузится и можно будет его читать онлайн. Некоторые инструкции очень большие и время их появления зависит от вашей скорости интернета.

Характеристики

Другие модели - Шуруповерты FIT

Все шуруповерты FIT