Фиолент КР1-260 - Инструкция по эксплуатации

Фиолент КР1-260

Краскораспылитель Фиолент КР1-260 - инструкция пользователя по применению, эксплуатации и установке на русском языке. Мы надеемся, она поможет вам решить возникшие у вас вопросы при эксплуатации техники.

Если остались дополнительные вопросы — свяжитесь с нами через контактную форму.

1 Страница 1
2 Страница 2
3 Страница 3
4 Страница 4
5 Страница 5
6 Страница 6
7 Страница 7
8 Страница 8
9 Страница 9
10 Страница 10
11 Страница 11
Страница: / 11

Содержание:

  • Страница 3 – УСТРОЙСТВО
  • Страница 9 – ТЕХНИЧЕСКОЕ ОБСЛУЖИВАНИЕ
  • Страница 11 – ТРАНСПОРТИРОВАНИЕ, ХРАНЕНИЕ И УТИЛИЗАЦИЯ
Загрузка инструкции

КРАСКОРАСПЫЛИТЕЛЬ РУЧНОЙ ЭЛЕКТРИЧЕСКИЙ

КР1-260

Руководство по эксплуатации

"Загрузка инструкции" означает, что нужно подождать пока файл загрузится и можно будет его читать онлайн. Некоторые инструкции очень большие и время их появления зависит от вашей скорости интернета.

Краткое содержание

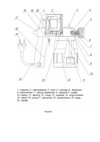
Страница 3 - УСТРОЙСТВО

Таблица 1 Наименование характеристики (параметра) Значение Номинальное напряжение, В Номинальная частота, Гц Максимальная потребляемая мощность, Вт Максимальная производительность, мл/мин Объем сосуда для лакокрасочного материала, л Режим работы по ГОСТ 183-74 Класс машины по ГОСТ 12.2.013.0-91 Корр...

Страница 9 - ТЕХНИЧЕСКОЕ ОБСЛУЖИВАНИЕ

Использование краскораспылителя с этими материалами приводит к повышенной изнашиваемости или повреждению коррозией деталей краско- распылителя. Не включайте краскораспылитель без распыляемых материалов более чем на 10 с, так как при этом детали насоса подвергаются значительному из- нашиванию. 4 ТЕХН...

Страница 11 - ТРАНСПОРТИРОВАНИЕ, ХРАНЕНИЕ И УТИЛИЗАЦИЯ

5.5.3 Нарушение потребителем правил эксплуатации и хранения краско- распылителя. 5.5.4 В гарантийном и отрывных талонах на гарантийный ремонт от- сутствует отметка о продаже. 5.5.5 Прошло более одного года от даты продажи. 5.5.6 Детали краскораспылителя вышли из строя ввиду несвоевременно- го провед...

Характеристики