Фильтры для воды Atoll U-40s STD Compact - инструкция пользователя по применению, эксплуатации и установке на русском языке. Мы надеемся, она поможет вам решить возникшие у вас вопросы при эксплуатации техники.
Если остались вопросы, задайте их в комментариях после инструкции.
"Загружаем инструкцию", означает, что нужно подождать пока файл загрузится и можно будет его читать онлайн. Некоторые инструкции очень большие и время их появления зависит от вашей скорости интернета.

5
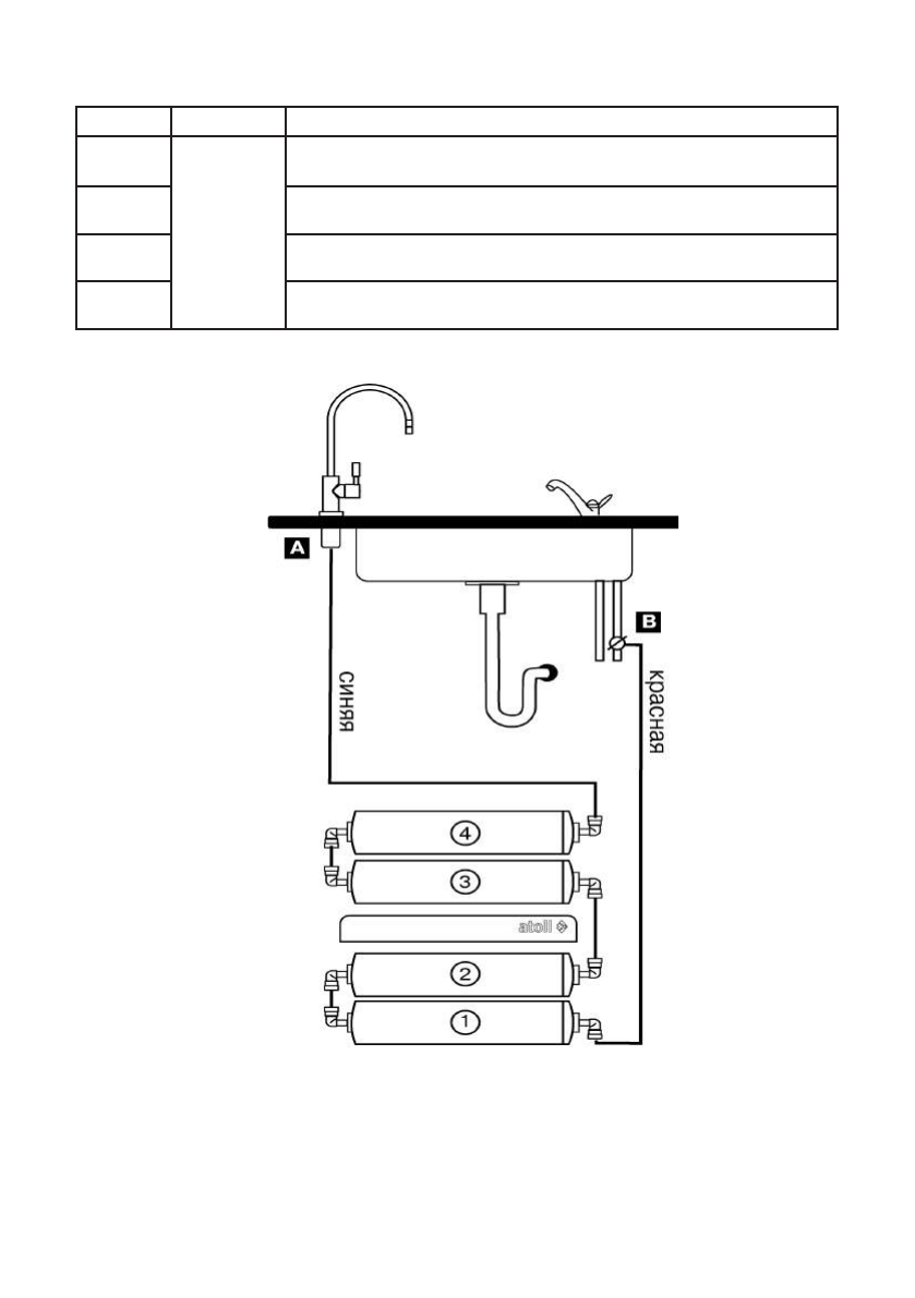
Ступень
Модель
Картриджи в стандартной комплектации
1
U40s
Механический картридж atoll MK5633C (5 мкм)
2
Умягчающий картридж atoll PK5633C
3
Ультрафильтрационный картридж atoll UF5633C
4
Угольный картридж atoll CK5633C
При необходимости замены выработавших свой ресурс картриджей реко
мендуется приобретать набор сменных элементов
№
310.
Рис. 1