Фены Scarlett SC-HD70I18 - инструкция пользователя по применению, эксплуатации и установке на русском языке. Мы надеемся, она поможет вам решить возникшие у вас вопросы при эксплуатации техники.
Если остались вопросы, задайте их в комментариях после инструкции.
"Загружаем инструкцию", означает, что нужно подождать пока файл загрузится и можно будет его читать онлайн. Некоторые инструкции очень большие и время их появления зависит от вашей скорости интернета.

IM019
www.scarlett.ru
SC-HD70I18
3
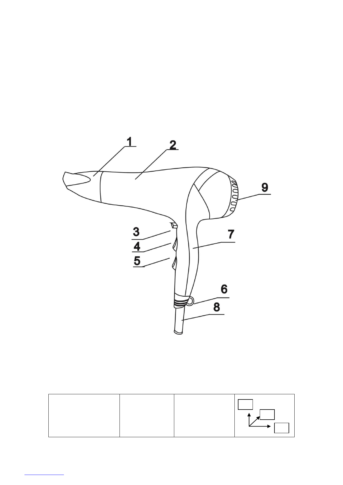
RO MDESCRIEREA APARATULUI
PL BUDOWA WYROBU
1.
Duză-concentrator
2.
Carcasă
3.
Tastă „AER RECE”
4. Cursor pentru reglarea temperaturii fluxului de aer
5. Cursor pentru reglarea vitezei fluxului de aer
6.
Inel de agăţare
7.
Mâner
8.
Siguranţă pentru prevenirea răsucirii cablului
9.
Grilaj detaşabil pentru aer
1.
Nakładka skupiająca – koncentrator
2. Obudowa
3.
Przycisk trybu „ZIMNE POWIETRZE”
4.
Przełącznik temperatury przepływu powietrza
5.
Przełącznik prędkości przepływu powietrza
6.
Pętelka do zawieszania
7. Uchwyt
8. Bezpiecznik
przewodu
zasilania
przed
przekręceniem
9.
Otwory zapewniające przepływ powietrza
220-240 V~ 50 Hz
Класс защиты II
2000-2200 W
0.6 / 0.7 kg
mm
290
265
90
Характеристики
Остались вопросы?Не нашли свой ответ в руководстве или возникли другие проблемы? Задайте свой вопрос в форме ниже с подробным описанием вашей ситуации, чтобы другие люди и специалисты смогли дать на него ответ. Если вы знаете как решить проблему другого человека, пожалуйста, подскажите ему :)













