Страница 3 - КОНСТРУКТИВНЫЕ
Простота эксплуатации • Пять лет ограниченной гарантии • Упрощённое техническое обслуживание в течение трёх лет при использовании мотора в личных целях • Отсутствие периода обкатки • Простой запуск ( без обогатителя и подкачки топлива ) • Электронное управление двигателем • Система охлаждения сконст...
Страница 6 - ОГЛАВЛЕНИЕ; ЭКСПЛУАТАЦИЯ
ОГЛАВЛЕНИЕ КАК ПОЛЬЗОВАТЬСЯ РУКОВОДСТВОМ ........................................................................ 6 ВАЖНЫЕ УКАЗАНИЯ ПО МЕРАМ БЕЗОПАСНОСТИ .................................................... 7 ССЫЛКИ , ИЛЛЮСТРАЦИИ И ТЕХНИЧЕСКИЕ ХАРАКТЕРИСТИКИ ............................................
Страница 8 - ОПАСНОСТЬ
6 КАК ПОЛЬЗОВАТЬСЯ РУКОВОДСТВОМ Настоящее Руководство является неотъемлемой ча - стью комплектации подвесного мотора Evinrude Е - ТЕС . Оно содержит информацию , необходимую для пра - вильной эксплуатации , технического обслуживания , а главное — для безопасного использования Вашего подвесного мотор...
Страница 9 - ПРЕДОСТЕРЕЖЕНИЕ; ОБЩИЕ; ВАЖНЫЕ
7 Данное Руководство содержит информацию , необходи - мую для того , чтобы предотвратить возможные травмы или повреждение имущества . Предупредительные со - общения находятся в тексте Руководства . Будьте внимательны ! Ошибка человека может быть вызвана различными причинами : небрежностью , уста - л...
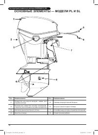
Страница 16 - ОСНОВНЫЕ
14 Эксплуатация подвесного мотора EVINRUDE E-TEC ОСНОВНЫЕ ЭЛЕМЕНТЫ — МОДЕЛИ RL Поз . Наименование Поз . Наименование 1 Отверстие для впуска воздуха , захват для подъёма мотора 5 Выключатель двигателя / аварийный выклю - чатель 2 Контрольное отверстие системы охлаждения , отверстие для промывки систе...
Страница 17 - RL; Правый борт
15 ►О СНОВНЫЕ ЭЛЕМЕНТЫ — МОДЕЛИ RL Правый борт Левый борт Поз . Наименование Поз . Наименование 9 Топливный фильтр 14 Румпель и рукоятка управления дросселем Twist Grip ™ 10 Свечи зажигания 15 Глушитель шума впуска воздуха 11 Винт регулировки усилия на приводе дросселя 16 Крышка заливной горловины м...
Страница 19 - TL; Левый борт
17 ►О СНОВНЫЕ ЭЛЕМЕНТЫ — МОДЕЛИ TL Левый борт Правый борт Поз . Наименование Поз . Наименование 13 Масляный бак 19 Переключатель подъёма мотора ( модели с си - стемой автоматического подъёма и трима ) 14 Крышка заливной горловины масляного бака 20 Винт регулировки усилия на приводе дросселя 15 Предо...
Страница 22 - ТРЕБОВАНИЯ; СИСТЕМА; Прок ачк а; МАСЛО
20 Эксплуатация подвесного мотора EVINRUDE E-TEC ТРЕБОВАНИЯ К МАСЛАМ М асла марки Evinrude/Johnson Масла марки Evinrude/Johnson обеспечивают наи - более эффективную работу двигателя , не дают на - гара на поршне и в камере сгорания , имеют высокие смазывающие качества , продлевают срок службы свечи ...
Страница 23 - Заправк а
21 ►М АСЛО И ТОПЛИВО Заправк а масляного бак а Откройте защёлки крышки двигателя по левому и пра - вому борту — для этого поверните вниз обе рукоятки . Потяните крышку за захват для подъёма мотора и от - соедините крышку по уплотнительному стыку . 1. Захват для подъёма двигателя Снимите крышку мотор...
Страница 24 - Минима льное; ПРИСАДКИ
22 Эксплуатация подвесного мотора EVINRUDE E-TEC ТРЕБОВАНИЯ К ТОПЛИВУ ПРЕДОСТЕРЕЖЕНИЕ Бензин при определённых условиях является легковоспламеняющимся и взрывоопасным п р од у к том . С т р о го с ле д у й т е и н с т ру к ц и я м данного ра здела . Неправильное обращение с то п л и вом может п р и в...
Страница 25 - ТОПЛИВНАЯ
23 ►М АСЛО И ТОПЛИВО ТОПЛИВНАЯ СИСТЕМА ПРЕДОСТЕРЕЖЕНИЕ Е с л и д в и г а т е л ь о б о р у д о в а н т о п л и в н ы м шлангом с быстрора зъемными соединения - ми , СЛЕД УЕТ отсоединять его от двигателя и топливного бака , чтобы предотвратить утечку топлива : • Если двигатель не используется ; • При...
Страница 26 - Аварийный
24 Эксплуатация подвесного мотора EVINRUDE E-TEC ЭКСПЛУАТАЦИЯ МЕРЫ БЕЗОПАСНОСТИ ПРЕДОСТЕРЕЖЕНИЕ НЕ ЗАПУСКАЙТЕ двигатель в закрытом по - мещении без надлеж ащей вентиляции либо о б ес п еч ьт е н а д ё ж н ы й от вод от р а б от а в ш и х га зов . В выхлопных га зах содержится монок - с и д у гле р о...
Страница 30 - Замок
28 Эксплуатация подвесного мотора EVINRUDE E-TEC ПРЕДОСТЕРЕЖЕНИЕ Не ст учите по к липсу и не сдёргивайте к липс с аварийного вык лючателя , если к этому не выну ждают чрезвычайные обстоятельства . Из - за внезапной потери хода пасс ажиры мо - гу т выпасть из лодки и получить травмы . Шнур безопаснос...
Страница 33 - Запуск
31 ►Э КСПЛУАТАЦИЯ Установите рукоятку переключения режима движения системы дистанционного управления в Нейтральное положение (NEUTRAL). ПРЕДОСТЕРЕЖЕНИЕ Если Вы используете систему дистанционно - го управления , в которой не пред усмотрена функция предотвращения запуска при вк лю - чённом режиме хода...
Страница 34 - После; ЭКСТРЕННЫЙ
32 Эксплуатация подвесного мотора EVINRUDE E-TEC После запуск а двигате ля Проверьте наличие стабильного поток а воды , истекающего из контрольного отверстия системы охлаждения . Устойчивый поток воды свидетельствует о нормальной работе помпы . Если поток воды прерывается , выключите двигатель . См ...
Страница 35 - ОСТОРОЖНО
33 ►Э КСПЛУАТАЦИЯ 2) Снимите держатель предохранителя с крышки ма - ховика . 1. Предохранитель 3) Открепите защитную крышку — стяните её вверх с передних фиксирующих выступов . 1. Фиксирующие выступы 4) Закрепите узел шнура аварийного запуска двигателя в пазу на маховике . Намотайте шнур вокруг махо...
Страница 40 - ПОДЪЁМ; ОПУСКАНИЕ
38 Эксплуатация подвесного мотора EVINRUDE E-TEC ПОДЪЁМ МОТОРА И РЕГУЛИРОВКА ТРИМА ПОДЪЁМ МОТОРА И РЕГУЛИРОВКА ТРИМА ( РУЧНОЙ ПОДЪЁМ ) — МОДЕ - ЛИ RL ВАЖНО : Для подъёма мотора используйте захват для подъёма мотора . Не используйте румпель как рычаг . ПОДЪЁМ МОТОРА Переместите рукоятку ПОДЪЁМ / ДВИЖ...
Страница 41 - Фиксирующий
39 ►П ОДЪЁМ МОТОРА И РЕГУЛИРОВКА ТРИМА Фиксирующий упор Установка упора Полностью поднимите мотор в положение TILT. Пере - местите кронштейн упора фиксации мотора в положе - ние (LOCK). 1. Кронштейн упора , положение фиксации Снятие с упора Переместите рукоятку ПОДЪЕМ / ДВИЖЕНИЕ в поло - жение RUN (...
Страница 42 - Регулировк а
40 Эксплуатация подвесного мотора EVINRUDE E-TEC Регулировк а трима ПРЕДОСТЕРЕЖЕНИЕ Остойчивость судна и усилие , прикладываемое для поворота при рулении , зависят от состояния акватории . Если ск ладываются условия , неблагоприятные для нормального движения судна , прикройте дроссельную заслонку и ...
Страница 43 - DTL
41 ►П ОДЪЁМ МОТОРА И РЕГУЛИРОВКА ТРИМА ПОДЪЁМ МОТОРА И РЕГУЛИРОВКА ТРИМА ( МОДЕЛИ С АВТОМАТИЧЕСКИМ ПОДЪЁМОМ И ТРИМОМ ) — МОДЕЛИ PL, SL И DTL ПРЕДОСТЕРЕЖЕНИЕ Любая неисправность системы автоматического подъёма и трима делает мотор незащищён - ным от удара при столкновении с подводным объектом . Кроме...
Страница 46 - КОНТРОЛЬ; ПРИБОРЫ; Работа; АМОДИАГНОСТИКА
44 Эксплуатация подвесного мотора EVINRUDE E-TEC КОНТРОЛЬ СОСТОЯНИЯ ДВИГАТЕЛЯ ВАЖНО : Подвесной мотор может быть оснащён системой контроля состояния двигателя , например I- Command , SystemCheck ( или аналогичной ). Система предупреждает водителя о возникновении ситуаций , которые могут привести к п...
Страница 47 - «CHECK ENGINE»
45 ►К ОНТРОЛЬ СОСТОЯНИЯ ДВИГАТЕЛЯ На дисплее контрольного прибора могут появляться следующие сообщения . «LOW OIL» ( низкий уровень масла ) Причина В баке остался только резервный запас масла (1/4 ёмкости бака ) Действие системы EMM включает световой индикатор или подаёт предупредительный сигнал Ваш...
Страница 48 - ПЕРЕГРЕВ
46 Эксплуатация подвесного мотора EVINRUDE E-TEC ПЕРЕГРЕВ ДВИГАТЕЛЯ ВАЖНО ВАЖНО Не запускайте двигатель даже на короткое время без подачи воды в систему охлаждения . См . раздел « ПРОМЫВКА СИСТЕМЫ ОХЛАЖДЕНИЯ » на странице 54. Отверстия водозабора должны быть чистыми и во время работы мотора постоянн...
Страница 49 - ОСОБЫЕ
47 ►О СОБЫЕ УСЛОВИЯ ЭКСПЛУАТАЦИИ ОСОБЫЕ УСЛОВИЯ ЭКСПЛУАТАЦИИ ЭКСПЛУАТАЦИЯ ПОДВЕСНОГО МОТО - РА В СОЛЕНОЙ ВОДЕ Подняв мотор из соленой воды , оставьте его в верти - кальном положении до тех пор , пока вся вода не вытечет из системы охлаждения . При длительной швартовке под - нимайте редуктор мотора и...
Страница 51 - ПЕРЕВОЗКА; ТРАНСПОРТИРОВКА
49 ТРАНСПОРТИРОВКА МОТОРА ПРЕДОСТЕРЕЖЕНИЕ Е с л и д в и г а т е л ь о б о р у д о в а н т о п л и в н ы м шлангом с быстрора зъемными соединения - ми , СЛЕД УЕТ отсоединять его от двигателя и топливного бака , чтобы предотвратить утечку топлива : • Если двигатель не используется ; • При транспортиро...
Страница 54 - ИНФОРМАЦИЯ
52 Техническое обслуживание ИНФОРМАЦИЯ О ВЫБРОСАХ ВРЕДНЫХ ВЕЩЕСТВ Техническое обслу живание , замену и ремонт устройств и систем защиты от выбросов вред - ных веществ в атмосферу можно производить в любой мастерской по обслу живанию морских двигателей с искровым зажиганием (SI) или с а - мостоятельн...
Страница 56 - РЕКОМЕНДАЦИИ
54 Техническое обслуживание ПРОМЫВКА СИСТЕМЫ ОХЛАЖДЕНИЯ Подвесной мотор желательно промывать после каждой поездки , поставив лодку на трейлер или у причала . 1) Расположите мотор в вертикальном положении в ме - сте с хорошим стоком воды . 2) Подсоедините садовый шланг к промывочному шту - церу . 3) ...
Страница 57 - СВЕЧИ; ПРЕДОХРАНИТЕЛЬ
55 ►Р ЕКОМЕНДАЦИИ ПО ТЕХНИЧЕСКОМУ ОБСЛУЖИВАНИЮ СВЕЧИ ЗАЖИГАНИЯ ОСТОРОЖНО Система зажигания представляет собой се - рьёзную опасность поражения электрическим током . Будьте предельно осторожны , чтобы не допустить травм , вызванных поражени - ем электрическим током или Вашей реакцией на удар тока . Н...
Страница 58 - ХРАНЕНИЕ; КОНСЕРВАЦИЯ
56 Техническое обслуживание ХРАНЕНИЕ ПОДВЕСНОГО МОТОРА ОПАСНОСТЬ НЕ ЗАПУСКАЙТЕ двигатель в закрытом по - мещении без надлеж ащей вентиляции либо о б ес п еч ьт е н а д ё ж н ы й от вод от р а б от а в ш и х га зов . В выхлопных га зах содержится монок - с и д у гле р од а ( у г а р н ы й г а з ) , к...
Страница 59 - Подготовк а; Мотор
57 ►Х РАНЕНИЕ ПОДВЕСНОГО МОТОРА Подготовк а Консервацию подвесного мотора можно провести на воде . В этом случае необходимо в первую очередь убедиться , что отверстия водозабора полностью на - ходятся под водой . 1) Стабилизируйте топливо . Для этого добавьте в то - пливо кондиционер 2+4 Fuel Condit...
Страница 62 - ДИАГНОСТИКА
60 Техническое обслуживание ДИАГНОСТИКА И УСТРАНЕНИЕ НЕИСПРАВНОСТЕЙ НЕИСПРАВНОСТЬ ВОЗМОЖНАЯ ПРИЧИНА , МЕРЫ ПО УСТРАНЕНИЮ Электростартер не работает • Рукоятка переключения режимов не находится в НЕЙТРАЛЬНОМ по - ложении . • Перегорел предохранитель . Двигатель не запускается • Неправильный запуск мо...
Страница 64 - УСТАНОВКА; ВЫСОТА
62 УСТАНОВКА ПРЕДОСТЕРЕЖЕНИЕ Не устанавливайте мотор , мощность которого превышает технические характеристики Ва - шего судна , ука занные в заводской табличке . В противном случае судно может выйти из - под контроля . Если заводская табличка от - су тствует или у теряна , обратитесь к дилеру или не...
Страница 65 - Установк а
63 УСТАНОВКА ПОДВЕСНОГО МОТОРА ПРЕДОСТЕРЕЖЕНИЕ Очень важно — правильно установить под - весной мотор . Неправильная установка может привести к серьёзным травмам , гибели лю - дей или причинению ущерба имуществу . Для установки мотора настоятельно рекомендуем обратиться к Вашему дилеру . ВАЖНО : Ради...
Страница 66 - Техниче ские
64 АККУМУЛЯТОРНАЯ БАТАРЕЯ — МО - ДЕЛИ C ЭЛЕКТРОЗАПУСКОМ Техниче ские тре бования • Напряжение 12 В ; батарея должна быть рассчитана на тяжёлые режимы эксплуатации и предназначена для установки на водно - моторных судах . • Батарея с вентиляцией отсеков , обслуживаемая или необслуживаемая . • Батарея...
Страница 67 - Обслу живание; ВИНТ; Выбор
65 ВАЖНО ВАЖНО НЕ ИСПОЛЬЗУЙТЕ крыльчатые гайки для крепления кабелей к батарее , даже ес л и о н и п ос т а вл я ютс я с б а т а р е е й . З а т я ж к а таких гаек может ослабну ть , что приведёт к ак - тивизации пред упредительных сигналов или повреждению электрических систем мотора . Обслу живание...
Страница 68 - Ремонт; ДАВЛЕНИЕ
66 Информация об изделии Установк а винта ВАЖНО ВАЖНО Покройте смазкой Triple Guard весь вал винта перед тем , как устанавливать сам винт . Не реже одного раза в год снимайте винт и осматривайте на предмет отсутствия посто - ронних предметов . Перед установкой винта очи - стите вал и нанесите на нег...
Страница 69 - РЕГУЛИРОВКИ
67 ►Р ЕГУЛИРОВКИ Холостые обороты в режиме хода Если это необходимо , возможна регулировка оборотов холостого хода в режиме хода , чтобы обеспечить луч - ший контроль оборотов холостого хода , управляемость и тишину в определенных условиях эксплуатации . ВАЖНО : Регулировка оборотов холостого хода в...
Страница 70 - ТЕХНИЧЕСКИЕ; Модели
68 Информация об изделии ТЕХНИЧЕСКИЕ ХАРАКТЕРИСТИКИ Модели 40, 50, 60 Рабочий объём , куб . см . 864 Тип двигателя Рядный , двухтактный , 2- цилиндровый , E-TEC Рабочие обороты при полностью открытом дросселе , об / мин 40 HP: 5000 — 6000 50 HP: 5500 — 6000 60 HP: 5500 — 6000 Мощность (1) , л . с ./...
Страница 71 - СВЕДЕНИЯ
69 ►С ВЕДЕНИЯ О ГАРАНТИИ СВЕДЕНИЯ О ГАРАНТИИ МЕЖДУНАРОДНАЯ ОГРАНИЧЕННАЯ ГАРАНТИЯ НА ПОДВЕСНЫЕ МОТОРЫ * EVINRUDE 2011, ИСПОЛЬ - ЗУЕМЫЕ В АФРИКЕ , НА БЛИЖНЕМ ВОСТОКЕ , ЛАТИНСКОЙ АМЕРИКЕ , ОСТРОВАХ ТИХОГО ОКЕАНА , АЗИИ , А ЛБАНИИ , БЫВШЕЙ ЮГОСЛАВСКОЙ РЕСПУБЛИКИ МАКЕДОНИИ , СЕРБИИ И ЧЕРНОГОРИИ , БОСНИИ ...
Страница 73 - BRP
71 e. Продукт должен своевременно и регулярно проходить технический осмотр и обслуживание в порядке , уста - новленном данным Руководством по эксплуатации . Компания BRP оставляет за собой право на изменение условий гарантии в зависимости от предоставления доказательств проведения технического обслу...
Страница 75 - ПРОВЕРКА
73 Готовы ли Вы к управлению лодкой ? 1. Прочитали ли Вы это Руководство от начала до конца ? 2. Готовы ли Вы взять на себя ответственность за безопасную эксплуатацию лодки и мотора ? 3. Понятны ли Вам все предупреждения о безопасности , указанные в этом Руководстве ? 4. Понимаете ли Вы , что это Ру...
Страница 77 - ЧАСТО
75 ►Ч АСТО ЗАДАВАЕМЫЕ ВОПРОСЫ Правда ли , что в течение первых трёх лет нормальной эксплуатации мотора , используемого в личных целях , можно не обращаться к дилеру по поводу регламентного технического обслуживания ? • Да ! Компания BRP знает , что Вам больше нравится проводить время на воде , чем в...
Страница 79 - ТЕХНИЧЕСКОЕ; Предпродажная
77 ОТМЕТКИ О ПРОХОЖДЕНИИ РЕГЛАМЕНТНЫХ РАБОТ Проведение регулярного и квалифицированного технического обслуживания изделия является очень важным фактором для поддержания его в технически исправном и безопасном для экс - плуатации состоянии . Периодически проверяйте техническое состояние изделия и сле...
Страница 81 - Прежний адрес/предыдущий владелец
79 Гарантия на технику BRP распространяется на последующих владельцев в течение всего срока действия гарантии . Прилагаемая форма заполняется в случае смены владельца и передается дилеру . Смена адреса Номер модели Серийный номер Смена владельца Прежний адрес/предыдущий владелец Новый адрес/новый вл...
Страница 83 - ПОДТВЕРЖДЕНИЕ
81 Остается у дилера Остается у владельца Имя: Имя: Адрес: Адрес: Подпись: Дата: После получения нового подвесного мотора Evinrude/Johnson заполните и подпишите приведенную ниже форму. Эта информация нужна дилеру. Номер модели: Серийный номер: (заполняется дилером или владельцем) С правилами эксплуа...