Электропилы Makita BUC250 - инструкция пользователя по применению, эксплуатации и установке на русском языке. Мы надеемся, она поможет вам решить возникшие у вас вопросы при эксплуатации техники.
Если остались вопросы, задайте их в комментариях после инструкции.
"Загружаем инструкцию", означает, что нужно подождать пока файл загрузится и можно будет его читать онлайн. Некоторые инструкции очень большие и время их появления зависит от вашей скорости интернета.

23
•
När maskinen är överbelastad:
släpp då avtryckaren och åtgärda orsaken till
överbelastningen, och tryck sedan in
avtryckaren igen för att starta om. Om
maskinen inte startar även om avtryckaren är
intryckt, är batteriströmmens auto-stopp
fortfarande aktiverat. Ladda batterikassetten
före användning.
•
När den kvarvarande batterikapaciteten blir låg:
ladda batterikassetten på nytt.
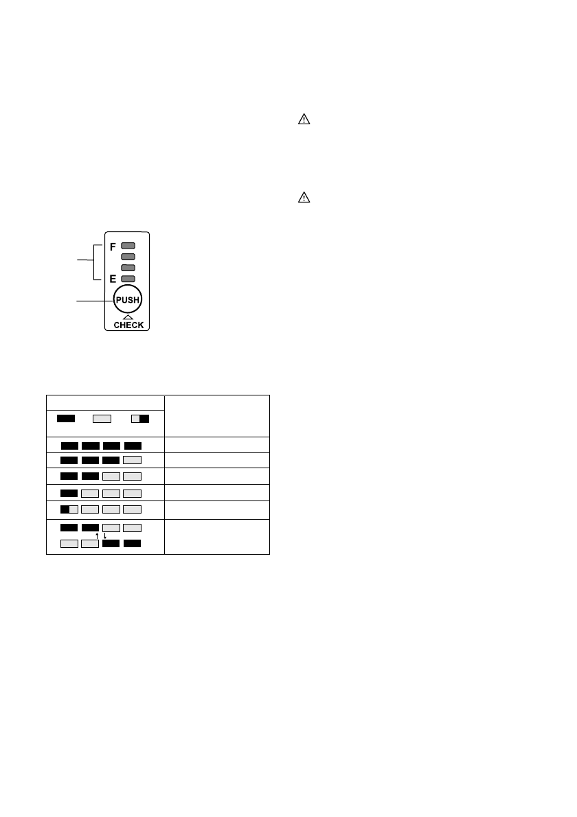
Indikator för batterikapaciteten (endast för
modeller med batteri BL3622A)
Batteri BL3622A är utrustat med indikator för
batterikapaciteten.
1
2
011715
Tryck på CHECK-knappen för att se kvarvarande
batterikapacitet. Indikatorlamporna lyser då i cirka tre
sekunder.
Indikatorlampor
Tänd
OFF
Blinkar
E
F
Kvarvarande kapacitet
70% till 100%
45% till 70%
20% till 45%
0% till 20%
Ladda batteriet.
Kan bero på felaktig
funktion hos batteriet.
011713
•
När endast indikatorlampan längst ner (intill “E”)
blinkar, eller när inte någon av indikatorlamporna
lyser, är batteriet urladdat och maskinen startar
inte. Ladda då batteriet eller byt ut det mot ett fullt
laddat batteri.
•
När två eller fler indikatorlampor inte lyser, även
efter det att laddningen är klar, är batteriet slut.
•
När de övre två och de nedre två indikatorlamporna
lyser växelvis, kan det bero på felaktig funktion hos
batteriet. Kontakta ditt lokala Makita servicecenter.
OBS!
•
Den indikerade kapaciteten kan vara lägre än den
faktiska nivån under användning eller direkt efter
användningen av maskinen.
•
Beroende på användningsförhållanden och den
omgivande temperaturen kan indikationen skilja
sig lätt från den faktiska batterikapaciteten.
MONTERING
FÖRSIKTIGT!
•
Se alltid till att maskinen är avstängd och
batterikassetten borttagen innan du underhåller
maskinen.
Montering eller demontering av sågkedja
FÖRSIKTIGT!
•
Se alltid till att maskinen är avstängt och att
batterikassetten är urtagen innan du monterar eller
demonterar sågkedjan.
•
Använd alltid handskar när du hanterar kedjan.
1.
För att ta bort sågkedjan skjuter du skruvhandtaget
lätt i pilens riktning så att den frigörs från det låsta
läget och flyttar skruvhandtaget i upprätt läge,
såsom visas i figuren.
Fig.5
Fig.6
2.
För att lossa muttern som fäster kopplingskåpan
trycker du på skruvhandtaget och håller det
intryckt samtidigt som du vrider det moturs.
(Skruvhandtaget trycks in i muttern när du trycker
på det.)
3. Vrid kedjesträckaren moturs för att släppa
kedjesträckningen.
4. Ta
bort
kopplingskåpan.
5.
Ta bort kedjan och svärdet från kedjesågen.
6.
När du ska montera en ny kedja passar du först in
den på svärdet och sedan på kedjehjulet.
Fig.7
Montera sågkedjan på det sätt som visas i figuren
eftersom den roterar i pilens riktning.
7.
Skjut in svärdet på plats i kedjesågen
8. Vrid kedjesträckaren moturs för att skjuta
sträckartappen i pilens riktning.
Fig.8
9. Placera kopplingskåpan på kedjesågen så att
sträckartappen placeras i ett litet hål i svärdet.
Fig.9
10. Tryck in skruvhandtaget och håll det nedtryckt
samtidigt som du vrider verktyget medurs för att
dra fast muttern. Lossa därefter muttern något
genom att vrida handtaget ungefär ett kvarts varv
moturs.
Fig.10
Justering av kedjesträckning
Fig.11
Kedjan kan förlora sin sträckning efter ett antal timmars
användning. Kontrollera därför emellanåt
1. Indikatorlampor
2. CHECK-knapp