Электропилы Champion 424N-18 - инструкция пользователя по применению, эксплуатации и установке на русском языке. Мы надеемся, она поможет вам решить возникшие у вас вопросы при эксплуатации техники.
Если остались вопросы, задайте их в комментариях после инструкции.
"Загружаем инструкцию", означает, что нужно подождать пока файл загрузится и можно будет его читать онлайн. Некоторые инструкции очень большие и время их появления зависит от вашей скорости интернета.

24
Для заточки пильной цепи используется
специальный круглый напильник соот
-
ветствующего диаметра. Для более точ
-
ной заточки цепи напильник рекоменду
-
ется установить в специальную обойму,
на корпусе которой нанесены справоч
-
ные данные (Рис.17). Для поперечного
пиления древесины угол заточки состав
-
ляет 25-30°, для продольного пиления
древесины вдоль волокон угол заточки
составляет 10°.
1
2
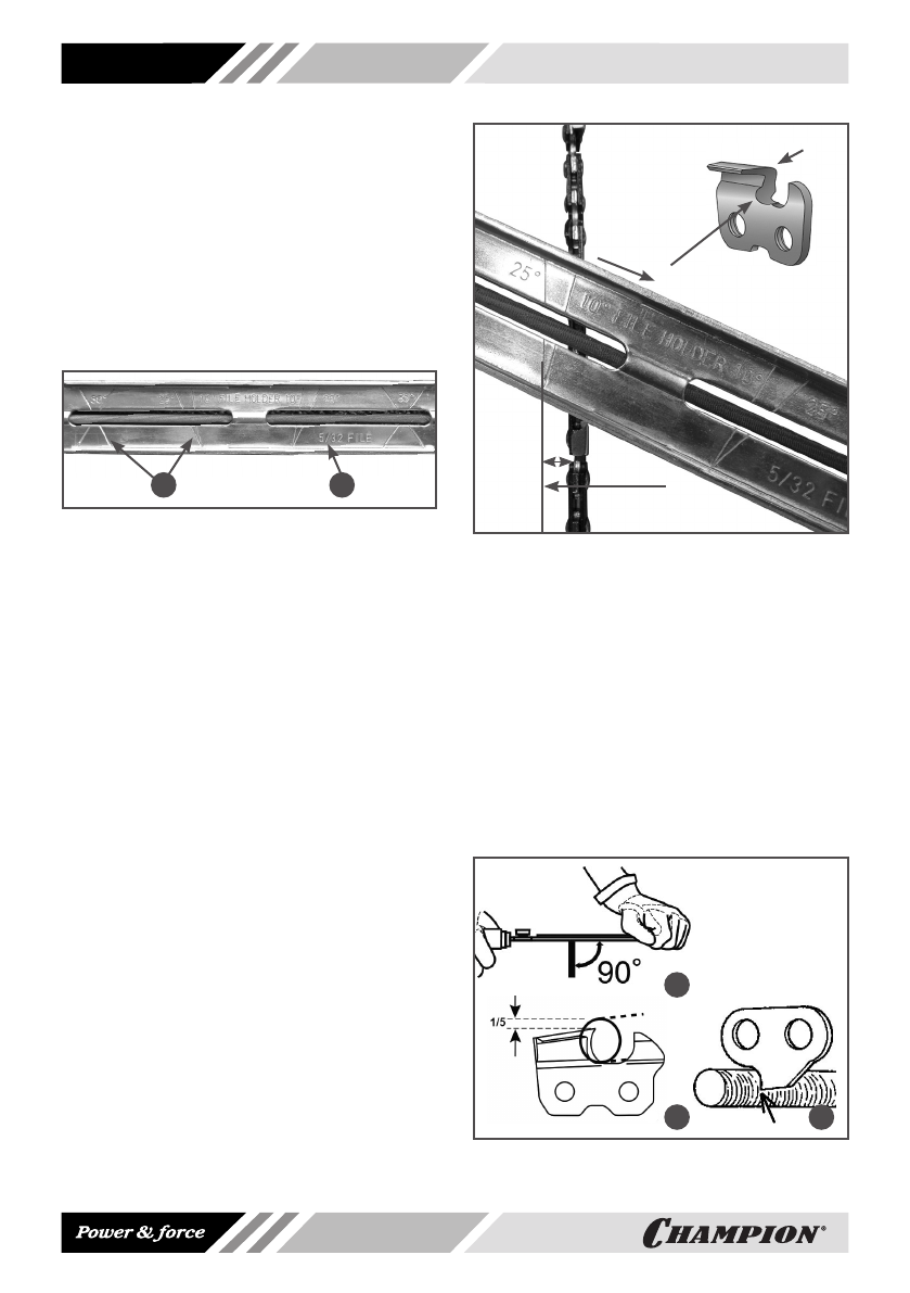
Рис.17 Обойма напильника
1. Линии углов заточки цепи
2. Диаметр напильника в дюймах,
для которого предназначена эта оправка
Заточку цепи с помощью оправки можно
производить непосредственно на пиле.
Для этого очистите пильную цепь от опи
-
лок, установите на шину и произведите
натяжку цепи. Заблокируйте цепь с помо
-
щью ручного тормоза. Сначала затачива
-
ются режущие зубья одного ряда (левые
или правые). При правильно подобран
-
ной оправке и напильнике передний угол
и угол верхнего лезвия получаются авто
-
матически. Для получения правильного
угла заточки, необходимо метку с соот
-
ветствующим углом заточки (10º,25º,30º),
располагать параллельно шине (Рис.18).
Заточку цепи производите только при
движении напильника вперед, «изну
-
три-наружу». При движении напильни
-
ка назад (на себя), приподнимайте его.
Напильник регулярно поворачивайте в
оправке, во избежание одностороннего
износа. Для того, чтобы длина зуба была
одинаковой, количество движений на
-
пильником при заточке на каждом зубе и
давление на него должно быть одинако
-
вым. Для заточки одного зуба достаточно
3-4 движения напильником.
Линия угла заточки
параллельно шине
Направление заточки
«изнутри-наружу»
Свободный ход
Рис.18 Определение угла заточки
При заточке цепи следите за тем, чтобы
между оправкой с напильником и шиной с
цепью выдерживался угол 90º (Рис.19А).
При правильно подобранном напильнике
и оправке, при заточке
цепи 1/5 часть напильника (примерно
20%), должна выступать над верхней
гранью режущего зуба (Рис.19В). Следи
-
те за тем, чтобы нижний край ведущего
звена всегда оставался острым.
При наличии заусенцев сточите их кру
-
глым напильником (Рис.19С).
A
B
C
Рис.19 Заточка цепи













