Душевые кабины Niagara NG-7711GL - инструкция пользователя по применению, эксплуатации и установке на русском языке. Мы надеемся, она поможет вам решить возникшие у вас вопросы при эксплуатации техники.
Если остались вопросы, задайте их в комментариях после инструкции.
"Загружаем инструкцию", означает, что нужно подождать пока файл загрузится и можно будет его читать онлайн. Некоторые инструкции очень большие и время их появления зависит от вашей скорости интернета.

•
В случае если уход за кабиной включает в себя замену каких-либо деталей, необходимо
использовать только соответствующие запчасти, в противном случае компания не несет
ответственности за какие-либо проблемы, которые могут возникнуть впоследствии.
•
Каждые полгода следует приглашать дипломированного специалиста для проверки
вашей душевой кабины и проведения профилактических работ.
Уход за изделием.
•
Нижний поддон необходимо содержать в чистоте во избежание засорения сливного
отверстия посторонними предметами.
•
Если на поверхности поддона появляются следы водного камня, для того чтобы очистить
поверхность, возьмите кусок мягкой ткани, нанесите на пятно немного зубной пасты и протрите
поверхность.
•
Категорически запрещается использование сильных кислотных или щелочных моющих
средств (таких как спирт, растворитель, нашатырный спирт, ацетон и другие) для очистки
поверхностей данного изделия. Рекомендуется использование нейтрального моющего
средства.
•
Для очистки деталей с электрическим покрытием используйте только фланелевую ткань,
протрите поверхность аккуратно, не нажимая. Нельзя использовать грубую ткань и тереть
поверхность.
•
В случае появления небольших царапин или следов от сигарет на поверхности данной
продукции отполируйте поврежденную поверхность влажной полирующей песчаной бумагой
№1200, затем потрите песчаной бумагой №2000 и, наконец, отполируйте полирующим
средством или зубной пастой и мягкой тряпочкой.
•
После принятия душа всегда оставляйте подвижную дверь открытой, для того чтобы
проветрить помещение, в противном случае пар и использованная вода будут скапливаться в
душевой кабине, образуя плесень или неприятных затхлый запах.
Электрические параметры.
Напряжение: АС 220W , Частота : 50/60 HZ ,Мощность : 500W
Потребляемый ток : 2А
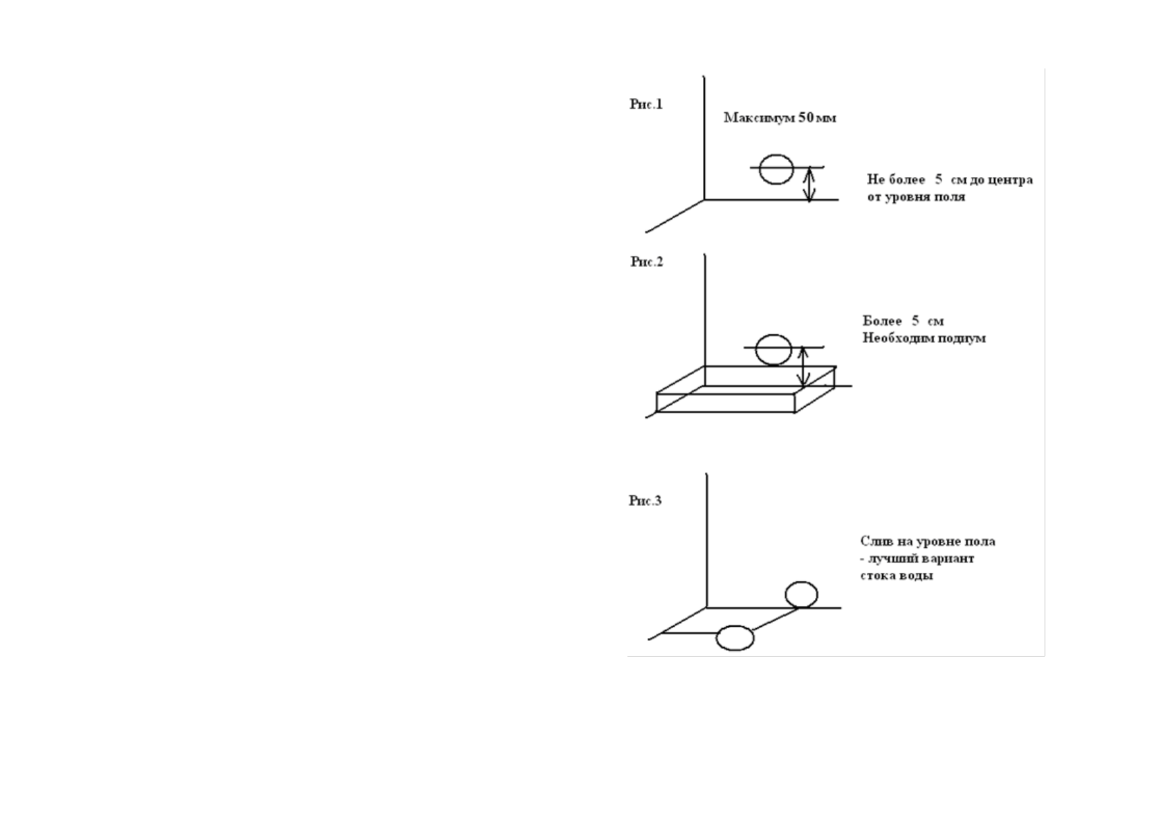
Подготовка площадки.
Характеристики
Остались вопросы?Не нашли свой ответ в руководстве или возникли другие проблемы? Задайте свой вопрос в форме ниже с подробным описанием вашей ситуации, чтобы другие люди и специалисты смогли дать на него ответ. Если вы знаете как решить проблему другого человека, пожалуйста, подскажите ему :)













