Духовые шкафы Zigmund Shtain EN 119.622 X - инструкция пользователя по применению, эксплуатации и установке на русском языке. Мы надеемся, она поможет вам решить возникшие у вас вопросы при эксплуатации техники.
Если остались вопросы, задайте их в комментариях после инструкции.
"Загружаем инструкцию", означает, что нужно подождать пока файл загрузится и можно будет его читать онлайн. Некоторые инструкции очень большие и время их появления зависит от вашей скорости интернета.

РУС
■ РУКОВОДСТВО ПО ЭКСПЛУАТАЦИИ ДУХОВОГО ШКАФА ■
НИЖЕ ОПИСАНЫ ОСНОВНЫЕ ФУНКЦИИ, РАСПРОСТРАНЯЮЩИЕСЯ
НА ВСЕ МОДЕЛИ ДУХОВЫХ ШКАФОВ ПРОИЗВОДИТЕЛЯ.
ОЗНАОМЬТЕСЬ
С
ТЕМИ,
КОТОРЫЕ
ОТНОСЯТСЯ
К
ПРИОБРЕТЕННОМУ ВАМИ ДУХОВОМУ ШКАФУ.
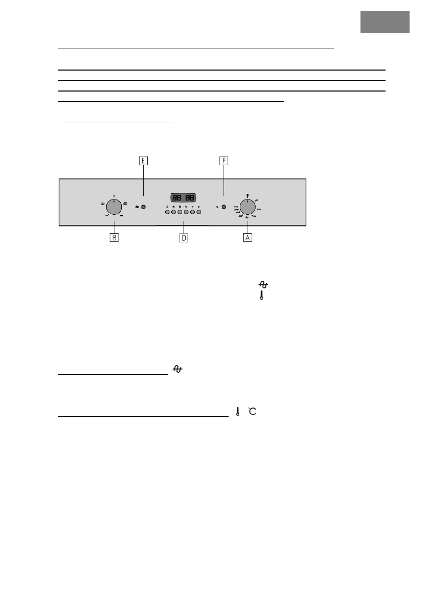
■ПАНЕЛЬ УПРАВЛЕНИЯ ■
A
= ТЕРМОСТАТ
D
= Часы / Программатор OE/OR/PE
B
= ПЕРЕКЛЮЧАТЕЛЬ РЕЖИМОВ
E
=
Индикатор питания LED
C
= CM/PSC
таймер
F
=
Индикатор работы LED
Расположение и типы могут различаться на разных моделях.
Внимание:
Перед первым использованием духового шкафа, дайте ему поработать около 1
часа на максимально возможном температурном режиме. Это позволит вывести
дым от производственных отходов, таких как жир, масло и полимер.
Индикатор питания LED
Когда он включен, это означает, что духовой шкаф подключен к электропитанию
и включен.
Индикатор работы духового шкафа LED
Когда включен этот индикатор, то духовой шкаф находится на этапе
предварительного разогрева. Когда индикатор выключен, то духовой шкаф достиг
установленной температуры. Если индикатор периодически мигает, это означает,
что температура внутри духового шкафа постоянна и находится на уровне,
установленном на термостате.
EN 119_110180715
6
Характеристики
Остались вопросы?Не нашли свой ответ в руководстве или возникли другие проблемы? Задайте свой вопрос в форме ниже с подробным описанием вашей ситуации, чтобы другие люди и специалисты смогли дать на него ответ. Если вы знаете как решить проблему другого человека, пожалуйста, подскажите ему :)













