Духовые шкафы Zigmund & Shtain E 139 B - инструкция пользователя по применению, эксплуатации и установке на русском языке. Мы надеемся, она поможет вам решить возникшие у вас вопросы при эксплуатации техники.
Если остались вопросы, задайте их в комментариях после инструкции.
"Загружаем инструкцию", означает, что нужно подождать пока файл загрузится и можно будет его читать онлайн. Некоторые инструкции очень большие и время их появления зависит от вашей скорости интернета.

24
Примечание
:
при отключении электричества на несколько часов
система сохранит
режим.
Примечание
:
если вы не собираетесь пользоваться
прибором
не забудьте привести е
го
регулятор в выключенное положение
.
ФУНКЦИЯ БЛОКИРОВКИ
ОТ ДЕТЕЙ
Данная функция служит
для защиты против
нежелаемого изменения
ваших
настроек часов
прибора
. При активации блокировки от детей
все
кнопки
будут
˛
еактивными.
При
активации
блокировки
кнопок при
работающей
программе
приготовления
блокируются только кнопки
,
при
активации
блокировки
в
ручном режиме блокируются кнопки, а также деактивируется
духовой шкаф.
Примечание:
При активации блокировки кнопок в момент
,
когда не
действует ни одна из программ
приготовления
в целях безопасности
прибор
будет деактивирован
.
При отмене блокировки кнопок
прибора
снова можно пользоваться
.
Примечание
Чтобы отменить блокировку, необходимо снова нажать на кнопки
ручного режима в течение 3 секунд.
Примечание В случае если зуммер сработает при активированной
блокировке от детей вы можете отключить его нажатием на кнопки
ручного режима Блокировка останется активированной
РЕЖИМ ЧАСОВ (12/24 ЧАСА)
Вы можете настроить часы на работу в режиме 12 или 24 часа.
МИГАЮЩАЯ НАДПИСЬ "auto" ОЗНАЧАЕТ, ЧТО ДУХОВ
ОЙ ШКАФ
ДЕАКТИВИРОВАН, ДЛЯ ВОЗВРАЩЕНИЯ В НОРМАЛЬНЫЙ РЕЖИМ
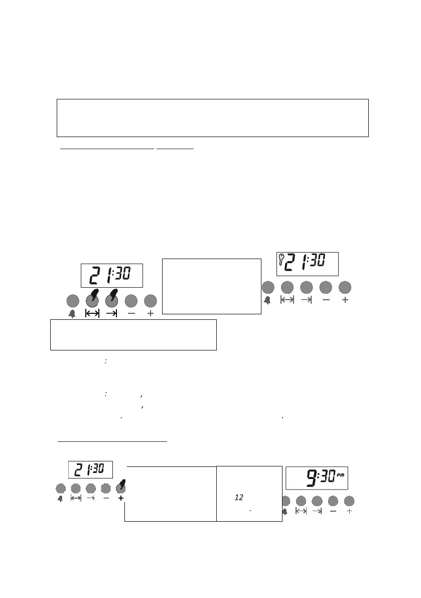
1- Нажмите на кнопки ручного режима и
удерживайте в течение 3 секунд.
2-
На экране
отобразиться символ
ключа. (Блокировка от
детей
активирована)
1- Сейчас часы
настроены на 24
-
часовой режим.
Нажмите на кнопку (+)
в течение
3
еку
˘
д
.
2-
Часы
настроены
на -часовой
режим
Характеристики
Остались вопросы?Не нашли свой ответ в руководстве или возникли другие проблемы? Задайте свой вопрос в форме ниже с подробным описанием вашей ситуации, чтобы другие люди и специалисты смогли дать на него ответ. Если вы знаете как решить проблему другого человека, пожалуйста, подскажите ему :)