Духовые шкафы Zanussi ZOU 481 N (X) - инструкция пользователя по применению, эксплуатации и установке на русском языке. Мы надеемся, она поможет вам решить возникшие у вас вопросы при эксплуатации техники.
Если остались вопросы, задайте их в комментариях после инструкции.
"Загружаем инструкцию", означает, что нужно подождать пока файл загрузится и можно будет его читать онлайн. Некоторые инструкции очень большие и время их появления зависит от вашей скорости интернета.

electrolux
48
ПРИМЕЧАНИЕ:
выключение
акустического сигнала возвращает
духовой шкаф к работе в ручном
режиме, и если функции духового
шкафа и ручки термостата не
установлены на ноль, то духовой
шкаф начнет нагреваться вновь.
О т м е н а з а д а н н о й
п р о д о л ж и т е л ь н о с т и
приготовления продукта:
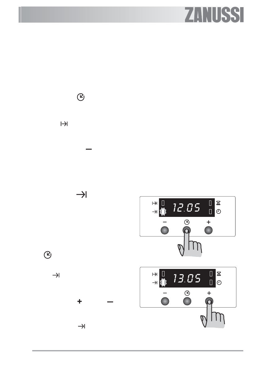
1.
Нажимая кнопку
несколько раз
подряд, выберите режим
“ П р о д о л ж и т е л ь н о с т ь
приготовления”. Соответствующий
индикатор
начнет мигать, и на
дисплее отобразится время,
остающееся до окончания
приготовления.
2 .
Нажимайте кнопку “
” до тех пор,
пока на дисплее не появится
значение “0:00”. Через 5 секунд
индикатор погаснет, и дисплей
вернется в режим отображения
времени суток.
Режим “Окончание
приготовления”
С помощью этого режима вы можете
устанавливать автоматическое
выключение духового шкафа при
наступлении заданного времени
окончания приготовления. Поместите
продукты в духовой шкаф, выберите
нужный режим духового шкафа и
отрегулируйте температуру
приготовления продукта. Нажмите
кнопку
несколько раз подряд и
выберите режим “Окончание
приготовления”. Соответствующий
индикатор
начнет мигать. Затем
действуйте следующим образом:
Чтобы задать время окончания
приготовления продукта:
1.
Нажмите кнопку “ ” или же “
”.
2 .
После установки параметров
подождите 5 секунд: загорится
индикатор “Окончание
приготовления”
и дисплей
вернется в режим отображения
времени суток.
Характеристики
Остались вопросы?Не нашли свой ответ в руководстве или возникли другие проблемы? Задайте свой вопрос в форме ниже с подробным описанием вашей ситуации, чтобы другие люди и специалисты смогли дать на него ответ. Если вы знаете как решить проблему другого человека, пожалуйста, подскажите ему :)