Духовые шкафы Zanussi ZOBK 91 X - инструкция пользователя по применению, эксплуатации и установке на русском языке. Мы надеемся, она поможет вам решить возникшие у вас вопросы при эксплуатации техники.
Если остались вопросы, задайте их в комментариях после инструкции.
"Загружаем инструкцию", означает, что нужно подождать пока файл загрузится и можно будет его читать онлайн. Некоторые инструкции очень большие и время их появления зависит от вашей скорости интернета.

59
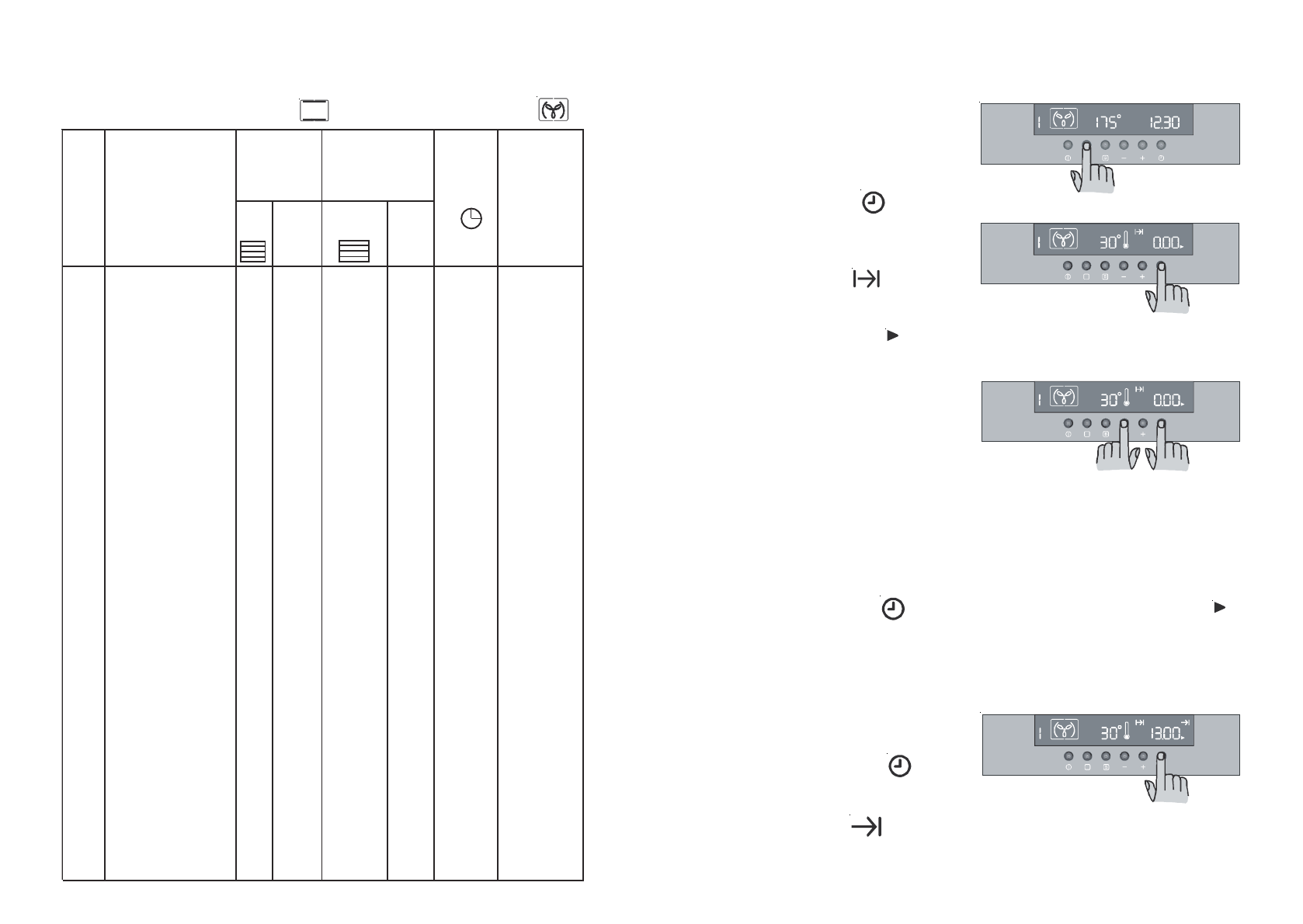
Àâòîîòêëþ÷åíèå äóõîâîãî øêàôà
1) Ïîñòàâüòå áëþäî â äóõîâîé øêàô,
â ê ë þ ÷ è ò å ä ó õ î â î é ø ê à ô è
âûáåðèòå ðåæèì ïðèãîòîâëåíèÿ è
íåîáõîäèìóþ òåìïåðàòóðó, åñëè
ýòî òðåáóåòñÿ (ðèñ.11).
2) Íàæìèòå êëàâèøó
,
÷ ò î á û
â û á ð à ò ü ô ó í ê ö è þ « â ð å ì ÿ
ïðèãîòîâëåíèÿ» (ðèñ. 12). Íà÷íåò
ì è ã à ò ü ç í à ÷ î ê « â ð å ì å í è
ïðèãîòîâëåíèÿ»
, à í à
äèñïëåå ïàíåëè óïðàâëåíèÿ
ïîÿâèòñÿ «0.00».
3) Ïîêà ìèãàåò ñèìâîë
,
ñ
ï î ì î ù ü þ ê ë à â è ø è «
+
»
óñòàíîâèòå íåîáõîäèìîå âðåìÿ.
Ìàêñèìàëüíîå âðåìÿ 23 ÷àñà 59
ì è í ó ò. × å ð å ç 3 ñ å ê ó í ä û
ïðîãðàììà áóäåò ïðèâåäåíà â
äåéñòâèå.
4) Ï î è ñ ò å ÷ å í è è â ð å ì å í è
ïðèãîòîâëåíèÿ äóõîâîé øêàô
àâòîìàòè÷åñêè âûêëþ÷èòñÿ, è
ðàçäàñòñÿ çâóêîâîé ñèãíàë. Íà äèñïëåå ïàíåëè óïðàâëåíèÿ ïîÿâèòñÿ
«0.00».
5) Äëÿ îòêëþ÷åíèÿ çâóêîâîãî ñèãíàëà, íàæìèòå ëþáóþ êëàâèøó.
Îòìåíà âðåìåíè ïðèãîòîâëåíèÿ
-
Íàæèìàéòå êëàâèøó äî òåõ ïîð, ïîêà íå íà÷íåò ìèãàòü ñèìâîë .
-
Ñ ïîìîùüþ êëàâèøè «
-
» óìåíüøàéòå âðåìÿ äî òåõ ïîð, ïîêà íà äèñïëåå
íå ïîÿâèòñÿ «0.00» (ðèñ. 13).
Ðèñ. 11
Ðèñ. 12
Ðèñ. 13
Àâòîâêëþ÷åíèå è àâòîîòêëþ÷åíèå äóõîâêè
1) Óñòàíîâèòå âðåìÿ ïðèãîòîâëåíèÿ,
ê à ê ó ê à ç à í î â ï ð å ä û ä ó ù å ì
ðàçäåëå.
2) Íàæèìàéòå êëàâèøó
ä î
ò å õ ï î ð , ï î ê à í å â û á å ð å ò å
ôóíêöèþ «îêîí÷àíèå âðåìåíè
ïðèãîòîâëåíèÿ»
è ïîêà íå
Ðèñ. 14
íà÷íåò ìèãàòü ñîîòâåòñòâóþùèé ñèìâîë. Íà äèñïëåå ïàíåëè óïðàâëåíèÿ
îòîáðàçèòñÿ âðåìÿ îêîí÷àíèÿ ïðèãîòîâëåíèÿ (ò.å. òåêóùåå âðåìÿ + âðåìÿ
ïðèãîòîâëåíèÿ – ðèñ. 14).
66
Òðàäèöèîííîå ïðèãîòîâëåíèå
è êîíâåêöèîííûé íàãðåâ
Ñ
Å
Â
)
Ã
(
Î
Ä
Þ
Ë
Á
.
ö
è
ä
à
ð
Ò
-
å
ë
â
î
ò
î
ã
è
ð
ï
å
è
í
é
û
í
í
î
è
ö
ê
å
â
í
î
Ê
â
å
ð
ã
à
í
ÿ
ì
å
ð
Â
-
â
î
ò
î
ã
è
ð
ï
ÿ
è
í
å
ë
í
è
ì
â
-
À
×
Å
Ì
È
Ð
Ï
ß
È
Í
-
î
ð
Ó
ü
í
å
â
.
ï
ì
å
Ò
Ñ
°
-
î
ð
Ó
ü
í
å
â
.
ï
ì
å
Ò
Ñ
°
à
ê
÷
å
ï
û
Â
î
ò
ñ
å
ò
å
î
ò
è
á
ç
Â
2
0
7
1
*
)
3
è
1
(
2
0
6
1
0
6
-
5
4
å
ì
ð
î
ô
â
î
ò
ñ
å
ò
å
î
í
÷
î
ñ
å
Ï
2
0
7
1
*
)
3
è
1
(
2
0
6
1
0
3
-
0
2
å
ì
ð
î
ô
â
ã
î
ð
è
ï
é
û
í
æ
î
ð
î
â
Ò
1
0
6
1
2
0
5
1
0
8
-
0
6
å
ì
ð
î
ô
â
ã
î
ð
è
ï
é
û
í
÷
î
ë
á
ß
1
0
8
1
*
)
3
è
1
(
2
0
7
1
0
6
-
0
4
å
ì
ð
î
ô
â
ü
ë
å
ä
ó
ð
ò
Ø
ì
å
ü
í
å
ð
à
â
ñ
ã
î
ð
è
Ï
ã
î
ð
è
ï
é
û
â
î
ò
ê
ó
ð
Ô
ò
è
â
ê
ñ
è
Á
ã
î
ð
è
ï
.
â
ò
ñ
å
ä
æ
î
Ð
ã
î
ð
è
ï
é
û
â
î
â
è
ë
Ñ
û
ñ
ê
å
Ê
å
ü
í
å
÷
å
Ï
è
ã
í
å
ð
å
Ì
è
ê
÷
î
ë
ó
á
å
û
í
á
î
ä
Ñ
å
û
í
æ
î
ð
è
Ï
2
2
1
1
1
1
2
2
2
2
2
5
7
1
5
7
1
5
7
1
5
7
1
0
7
1
0
7
1
5
7
1
0
6
1
0
0
1
0
9
1
0
0
2
2
*
)
3
è
1
(
2
1
*
)
3
è
1
(
2
1
1
*
)
3
è
1
(
2
*
)
3
è
1
(
2
*
)
3
è
1
(
2
*
)
3
è
1
(
2
*
)
3
è
1
(
2
0
5
1
0
6
1
0
6
1
0
6
1
0
6
1
0
6
1
0
6
1
0
5
1
0
0
1
0
8
1
0
9
1
0
8
-
0
6
0
4
-
0
3
0
6
-
5
4
0
4
-
0
3
0
6
-
0
4
0
6
-
0
5
5
3
-
5
2
0
3
-
5
2
0
2
1
-
0
9
0
2
-
2
1
5
2
-
5
1
å
ä
î
ð
î
â
î
ê
ñ
â
å
ì
ð
î
ô
â
å
ì
ð
î
ô
â
å
ä
î
ð
î
â
î
ê
ñ
â
å
í
â
è
ò
î
ð
ï
à
í
å
í
â
è
ò
î
ð
ï
à
í
å
í
â
è
ò
î
ð
ï
à
í
å
í
â
è
ò
î
ð
ï
à
í
å
í
â
è
ò
î
ð
ï
à
í
à
ö
ö
è
ï
è
á
å
ë
Õ
0
0
0
1
0
0
5
0
0
5
0
5
2
á
å
ë
õ
é
û
ë
å
Á
á
å
ë
õ
é
î
í
à
æ
Ð
è
ê
÷
î
ë
ó
Á
a
ö
ö
è
Ï
1
1
2
1
0
9
1
0
9
1
0
0
2
0
1
2
2
1
*
)
3
è
1
(
2
*
)
3
è
1
(
2
0
8
1
0
8
1
5
7
1
0
9
1
0
6
-
0
4
5
4
-
0
3
5
3
-
0
2
0
3
-
5
1
à
ê
ñ
ó
ê
2
-
1
å
ä
î
ð
î
â
î
ê
ñ
â
ê
ó
ò
ø
8
-
6
å
í
â
è
ò
î
ð
ï
à
í
è
ã
î
ð
è
ï
å
û
ò
û
ð
ê
ò
Î
é
î
ê
í
è
÷
à
í
ñ
ÿ
à
í
í
î
ð
à
ê
à
Ì
à
ê
í
à
ê
å
ï
à
ç
2
0
0
2
*
)
3
è
1
(
2
5
7
1
0
5
-
0
4
å
ì
ð
î
ô
â
è
ì
à
ù
î
â
î
ñ
ã
î
ð
è
Ï
2
0
0
2
*
)
3
è
1
(
2
5
7
1
0
6
-
5
4
å
ì
ð
î
ô
â
s
e
h
c
i
u
Q
1
0
0
2
*
)
3
è
1
(
2
0
8
1
5
4
-
5
3
å
ì
ð
î
ô
â
ÿ
ü
í
à
ç
à
Ë
à
ò
ñ
å
ò
ç
è
è
ê
÷
î
á
ó
ð
Ò
2
2
0
8
1
0
0
2
2
2
0
6
1
5
7
1
0
6
-
5
4
5
5
-
0
4
å
ì
ð
î
ô
â
å
ì
ð
î
ô
â
î
ñ
ÿ
Ì
0
0
0
1
0
0
2
1
0
0
0
1
à
í
è
ä
ÿ
â
î
Ã
à
í
è
í
è
â
Ñ
à
í
è
ò
ÿ
ë
å
Ò
2
2
2
0
9
1
0
8
1
0
9
1
2
2
2
5
7
1
5
7
1
5
7
1
0
7
-
0
5
0
3
1
-
0
0
1
0
2
1
-
0
9
å
ê
ò
å
ø
å
ð
à
Í
å
ê
ò
å
ø
å
ð
à
Í
å
ê
ò
å
ø
å
ð
à
Í
0
0
5
1
0
0
5
1
0
0
5
1
ô
è
á
ò
ñ
î
ð
é
è
ê
ñ
é
è
ë
ã
í
À
þ
ü
â
î
ð
ê
ñ
å
í
ä
å
ð
ñ
é
û
í
í
å
ð
à
æ
î
ð
ï
î
ø
î
ð
î
õ
é
û
í
í
å
ð
à
æ
î
ð
ï
2
2
2
0
1
2
0
1
2
0
1
2
2
2
2
0
0
2
0
0
2
0
0
2
0
6
-
0
5
0
7
-
0
6
0
8
-
0
7
å
ê
ò
å
ø
å
ð
à
Í
å
ê
ò
å
ø
å
ð
à
Í
å
ê
ò
å
ø
å
ð
à
Í
4
3
2
1
Òàáëèöû âûïåêàíèÿ è æàðêè
4
3
2
1