Духовые шкафы Zanussi ZOB 471 X - инструкция пользователя по применению, эксплуатации и установке на русском языке. Мы надеемся, она поможет вам решить возникшие у вас вопросы при эксплуатации техники.
Если остались вопросы, задайте их в комментариях после инструкции.
"Загружаем инструкцию", означает, что нужно подождать пока файл загрузится и можно будет его читать онлайн. Некоторые инструкции очень большие и время их появления зависит от вашей скорости интернета.

electrolux
1 0
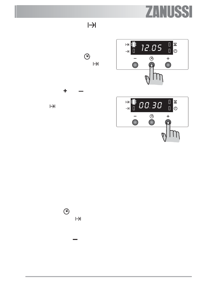
Funkcja “Czas pieczenia”
Funkcja ta umożliwia automatyczne
wyłącznie piekarnika po zakończeniu
zaprogramowanego czasu pieczenia.
Włożyć potrawę do piekarnika, wybrać
funkcję pieczenia i ustawić temperaturę
pieczenia. Naciskać przycisk
aż
pojawi się funkcja “Czas pieczenia”
.
Zacznie migać odpowiednia kontrolka.
Następnie, wykonać następujące
czynności:
Ustawianie czasu pieczenia:
1.
Naciskać przycisk “ “ lub “
“.
2.
Po ustawieniu godziny, należy
poczekać 5 sekund: kontrolka “Czas
pieczenia”
zapali się, a na
wyświetlaczu ponownie pojawi się
godzina.
3.
Po upływie czasu pieczenia, piekarnik
automatycznie wyłączy się, słyszalny
będzie alarm akustyczny, a kontrolka
zacznie migać. Ustawić pokrętło
wyboru funkcji piekarnika i pokrętło
termostatu w położenie zero.
Wyłączyć sygnał dźwiękowy
wciskając dowolny przycisk.
UWAGA:
wyłączenie alarmu
dźwiękowego powoduje przejście
piekarnika w tryb ręczny. Brak
ustawienia pokręteł wyboru funkcji
piekarnika i termostatu w położeniu
zero spowoduje ponowne włączenie
się piekarnika.
Kasowanie ustawionego
czasu pieczenia:
1. Naciskać przycisk
aż pojawi się
funkcja “Czas pieczenia”
. Zacznie
migać odpowiednia kontrolka, a na
wyświetlaczu zostanie pokazany
pozostały czas pieczenia.
2.
Naciskać przycisk “
“ aż na
wyświetlaczu pojawi się “0:00”. Po 5
sekundach, kontrolka zgaśnie, a na
wyświetlaczu ponownie pojawi się
godzina.












