Духовые шкафы Zanussi ZOB 35712 BK (WK) (XK) - инструкция пользователя по применению, эксплуатации и установке на русском языке. Мы надеемся, она поможет вам решить возникшие у вас вопросы при эксплуатации техники.
Если остались вопросы, задайте их в комментариях после инструкции.
"Загружаем инструкцию", означает, что нужно подождать пока файл загрузится и можно будет его читать онлайн. Некоторые инструкции очень большие и время их появления зависит от вашей скорости интернета.

Прилади з алюмінію або іржостійкої
сталі
.
’
.
,
,
.
,
,
.
Чищення ущільнювача дверцят
•
.
.
.
.
•
,
є
.
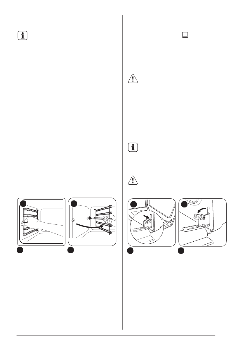
Виймання опор поличок
,
.
Л
.
Л
2
1
М
.
М
.
йчищення водою
є
.
ЛИ
300
,
.
МИ
.
НИ
90°C.
ОИ
30
.
ПИ
,
.
РИ
,
.
ПОПЕРЕДЖЕННЯ!
,
,
. І
є
.
Чищення дверцят духовки
.
,
.
.
ОБЕРЕЖНО!
.
Л
.
Л
М
.
М
www.zanussi.com
69
Содержание
- 27 Общие правила техники безопасности
- 28 Указания по безопасности; Установка
- 29 Уход и очистка
- 30 Описание изделия; Общий обзор; Решетка; Перед первым использованием; Первая чистка
- 31 Ежедневное использование; Утапливаемые ручки
- 32 Режимы духового шкафа; Дисплей
- 33 Кнопки; Функции часов; Таблица функций часов; Установка функций часов; ЛИ
- 34 Отмена функций часовИ; Использование дополнительных принадлежностей; Использование вертела
- 35 Дополнительные функции; Вентилятор охлаждения; Полезные советы; Общая информация
- 36 Пироги
- 39 Открытые пироги
- 40 Мясо
- 41 Рыба; Малый гриль
- 42 Вертел
- 43 Овощи
- 44 Фрукты
- 46 Замена лампы; Поиск и устранение неисправностей
- 47 Что делатьЖ еслиИИИ; Информация для обращения в
- 48 Встраивание
- 49 Технические данные; Энергоэффективность; Справочный листок технических данных согласно Яп РПЗРРЙМКЛО; Экономия электроэнергии; Общие рекомендации
- 50 ОХРАНА ОКРУЖАЮЩЕЙ СРЕДЫ
Характеристики
Остались вопросы?Не нашли свой ответ в руководстве или возникли другие проблемы? Задайте свой вопрос в форме ниже с подробным описанием вашей ситуации, чтобы другие люди и специалисты смогли дать на него ответ. Если вы знаете как решить проблему другого человека, пожалуйста, подскажите ему :)