Духовые шкафы Zanussi ZOB 35701 XK - инструкция пользователя по применению, эксплуатации и установке на русском языке. Мы надеемся, она поможет вам решить возникшие у вас вопросы при эксплуатации техники.
Если остались вопросы, задайте их в комментариях после инструкции.
"Загружаем инструкцию", означает, что нужно подождать пока файл загрузится и можно будет его читать онлайн. Некоторые инструкции очень большие и время их появления зависит от вашей скорости интернета.

Модели из нержавеющей стали или
алюминия
.
.
,
,
, . .
.
.
Очистка уплотнения дверцы
•
.
.
.
.
•
.
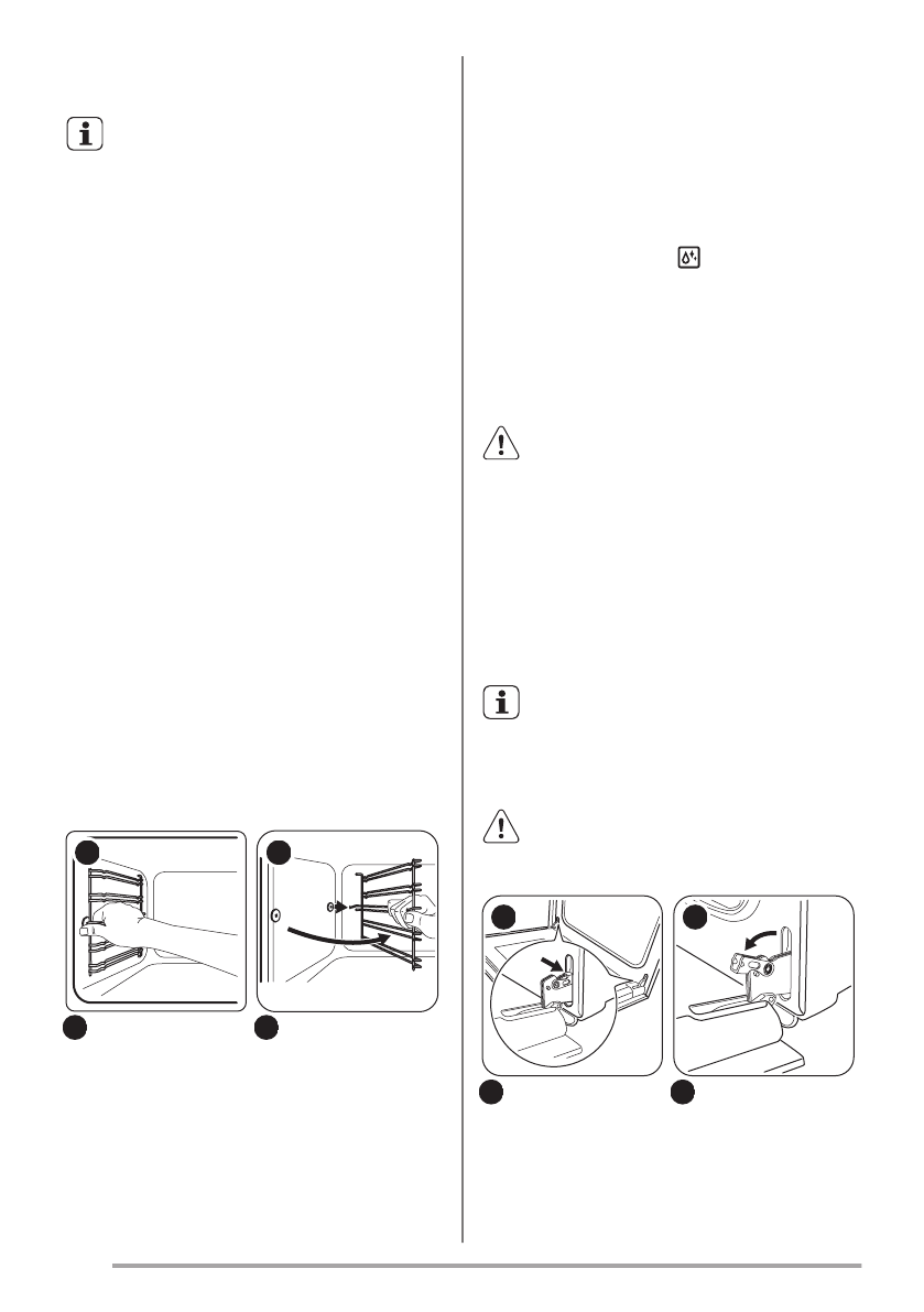
Снятие направляющих для
противнейЖ а также снятие
,
.
Л
,
.
Л
2
1
М
.
М
.
Водяная очистка
.
ЛИ
300
.
МИ
.
НИ
90°C.
ОИ
30
.
ПИ
.
РИ
.
ВНИМАНИЕ!
,
.
.
Очистка дверцы духового шкафа
.
,
.
,
.
ОСТОРОЖНО!
.
Л
.
Л
М
,
.
М
42
www.zanussi.com
Содержание
- 25 Общие правила техники безопасности
- 26 Указания по безопасности; Установка
- 27 Уход и очистка
- 28 Описание изделия; Общий обзор; Решетка; Перед первым использованием; Первая чистка
- 29 Ежедневное использование
- 31 Дисплей; Кнопки; Функции часов; Таблица функций часов
- 32 Дополнительные функции; Вентилятор охлаждения; Полезные советы
- 37 Открытые пироги
- 38 Мясо
- 39 Рыба; Малый гриль
- 41 Примечание относительно очистки
- 43 Замена лампы; ЛИ
- 44 Поиск и устранение неисправностей; Что делатьЖ еслиИИИ; Информация для обращения в
- 45 Встраивание
- 46 Технические данные; Энергоэффективность
- 47 Экономия электроэнергии; Общие рекомендации; ОХРАНА ОКРУЖАЮЩЕЙ СРЕДЫ












