Духовые шкафы Zanussi ZOB 331 X - инструкция пользователя по применению, эксплуатации и установке на русском языке. Мы надеемся, она поможет вам решить возникшие у вас вопросы при эксплуатации техники.
Если остались вопросы, задайте их в комментариях после инструкции.
"Загружаем инструкцию", означает, что нужно подождать пока файл загрузится и можно будет его читать онлайн. Некоторые инструкции очень большие и время их появления зависит от вашей скорости интернета.

electrolux
8
A sütő első alkalommal történő használata előtt
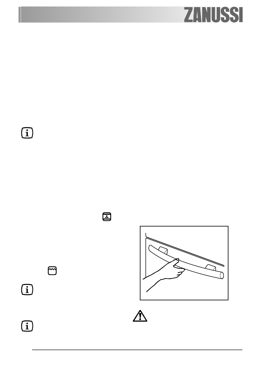
A sütő ajtajának kinyitásához
mindig középen fogja meg a
sütőajtó fogantyúját.
A sütő használata előtt a sütő
belsejéből és külsejéről is távolítson
el
minden csomagolóanyagot
.
A legelső használat előtt a sütőt
üresen fel kell melegíteni.
Ekkor kellemetlen szag jöhet a
sütőből. Ez teljesen normális jelenség. A
gyár tás során keletkezett maradványok
okozzák.
Ügyeljen rá, hogy jól kiszellőztesse a
szobát.
1. A sütő funkció
szabályozógombját kapcsolja
légkeveréses sütésre
.
2. A hőfokszabályozó gombot
kapcsolja 250° állásba.
4. Nyisson ablakot.
5. Körülbelül 45 percen keresztül
hagyja a sütőt üresen
bekapcsolva.
Ezt az eljárást meg kell ismételni a
teljes grill
funkcióval körülbelül 5-10
percen keresztül.
Hagyja lehűlni a sütőt. Majd
nedvesítsen meg meleg vízzel és
kevés gyenge folyékony
mosogatószerrel egy puha ruhát,
és ennek segítségével tisztítsa ki a
sütő belsejét.
A legelső használat előtt gondosan
mosogassa el a sütő tartozékait is.
)
készülék nem megfelelő használata miatt
bekapcsol, elegendő, ha a hibát a sütő kihűlése
után javítja ki. Ha viszont a hőfokszabályozó
valamelyik elem meghibásodása miatt lép
működésbe, forduljon az Ügyfélszolgálathoz.
A hűtőventilátor
A sütőben hűtőventilátor működik
azzal a céllal, hogy ne hagyja
felmelegedni az előlapot, a gombokat és a
sütő ajtajának fogóját. A ventilátor a sütő
bekapcsolásakor automatikusan elindul.
A sütőajtó fogantyúja közelében a
nyíláson keresztül meleg levegő áramlik
ki. A ventilátor akkor kapcsol ki, amikor a
sütő funkciószabályozó gombját sütés
után KI pozícióba állítja
0
.