Духовые шкафы Zanussi ZOB 32702 XD - инструкция пользователя по применению, эксплуатации и установке на русском языке. Мы надеемся, она поможет вам решить возникшие у вас вопросы при эксплуатации техники.
Если остались вопросы, задайте их в комментариях после инструкции.
"Загружаем инструкцию", означает, что нужно подождать пока файл загрузится и можно будет его читать онлайн. Некоторые инструкции очень большие и время их появления зависит от вашей скорости интернета.

•
.
•
.
.
.
•
.
•
.
,
.
•
,
,
. Э
.
Модели из нержавеющей стали или
алюминия
.
.
,
,
,
. .
.
.
Очистка уплотнения дверцы
•
.
.
.
.
•
.
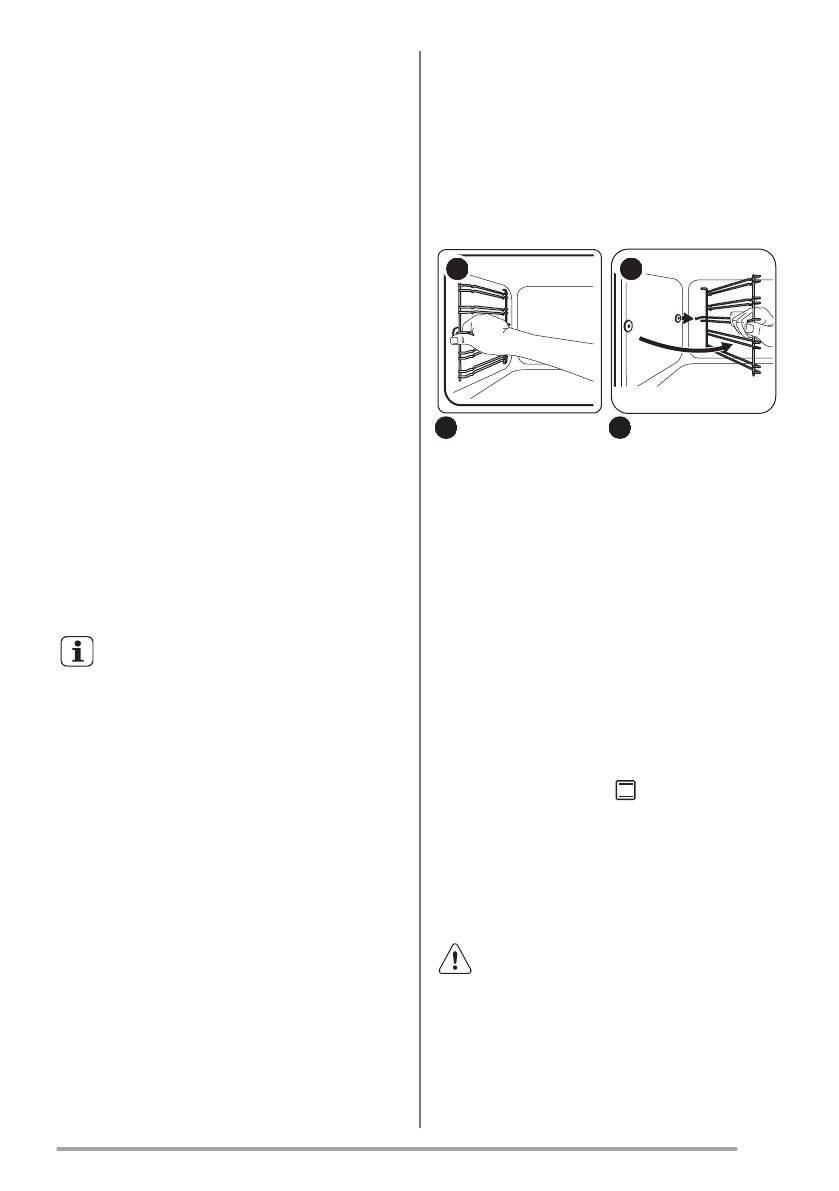
Снятие направляющих для
противнейЖ а также снятие
,
.
Л
,
.
Л
2
1
М
.
М
.
Водяная очистка
.
ЛИ
300
.
МИ
.
НИ
90°C.
ОИ
30
.
ПИ
.
РИ
.
ВНИМАНИЕ!
,
.
.
www.zanussi.com
39
Содержание
- 24 Общие правила техники безопасности
- 25 Указания по безопасности; Установка
- 26 Уход и очистка
- 27 Описание изделия; Общий обзор; Решетка; Перед первым использованием; Первая очистка
- 28 Предварительный нагрев; Ежедневное использование; Утапливаемые ручки
- 29 Режимы духового шкафа; Функции часов; Таймер Е Окончание приготовления
- 30 Дополнительные функции; Вентилятор охлаждения; Полезные советы; Общая информация
- 31 Пироги
- 34 Открытые пироги
- 35 Мясо
- 36 Рыба; Малый гриль
- 37 Размораживание
- 38 Высушивание Горячий воздух; Овощи; Примечание относительно очистки
- 40 Очистка дверцы духового шкафа
- 41 Замена лампы; Поиск и устранение неисправностей; Что делатьЖ еслиИИИ
- 42 Информация для обращения в; Встраивание
- 43 Технические данные
- 44 Энергоэффективность; Справочный листок технических данных согласно Яп РПЗРРЙМКЛО; Экономия электроэнергии; Общие рекомендации
- 45 ОХРАНА ОКРУЖАЮЩЕЙ СРЕДЫ












