Духовые шкафы Zanussi ZOB 21301 XA - инструкция пользователя по применению, эксплуатации и установке на русском языке. Мы надеемся, она поможет вам решить возникшие у вас вопросы при эксплуатации техники.
Если остались вопросы, задайте их в комментариях после инструкции.
"Загружаем инструкцию", означает, что нужно подождать пока файл загрузится и можно будет его читать онлайн. Некоторые инструкции очень большие и время их появления зависит от вашей скорости интернета.

•
.
•
.
’
.
•
є
,
.
.
Прилади з алюмінію або іржостійкої
сталі
.
’
.
,
,
.
,
,
.
Чищення ущільнювача дверцят
•
.
.
.
.
•
,
є
.
йчищення водою
є
.
ЛИ
300
,
.
МИ
.
НИ
90°C.
ОИ
30
.
ПИ
,
.
РИ
,
.
ПОПЕРЕДЖЕННЯ!
,
,
. І
є
.
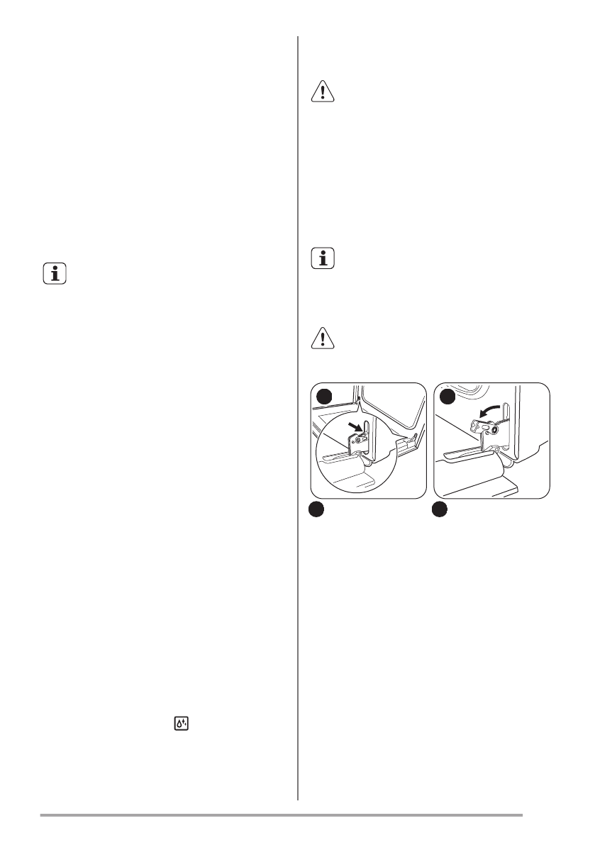
Чищення дверцят духовки
.
,
.
.
ОБЕРЕЖНО!
.
Л
.
Л
М
.
М
www.zanussi.com
35
Содержание
- 3 Общие правила техники безопасности
- 4 Указания по безопасности; Установка
- 6 Утилизация; Описание изделия; Общий обзор; Перед первым использованием; Первая очистка
- 7 Ежедневное использование; Включение и выключение прибора
- 8 Функции часов; Таймер; ЛИ; Дополнительные функции; Вентилятор охлаждения; Полезные советы; Общая информация
- 9 Пироги
- 14 Рыба; Малый гриль
- 15 Высушивание Режим конвекции; Овощи; Уход и очистка; Примечание относительно очистки
- 17 Замена лампы
- 18 Поиск и устранение неисправностей; Что делатьЖ еслиИИИ; Информация для обращения в
- 20 Технические данные; Энергоэффективность; Справочный листок технических данных согласно Яп РПЗРРЙМКЛО; Экономия электроэнергии; Общие рекомендации
- 21 ОХРАНА ОКРУЖАЮЩЕЙ СРЕДЫ












