Духовые шкафы Zanussi ZOA 35701 XK - инструкция пользователя по применению, эксплуатации и установке на русском языке. Мы надеемся, она поможет вам решить возникшие у вас вопросы при эксплуатации техники.
Если остались вопросы, задайте их в комментариях после инструкции.
"Загружаем инструкцию", означает, что нужно подождать пока файл загрузится и можно будет его читать онлайн. Некоторые инструкции очень большие и время их появления зависит от вашей скорости интернета.

ЕсіктіҢ тыҒыздаҒышын тазалау
•
ң
ң .
ң
ң
.
ң
,
ң .
ң .
•
ң
ң .
Сӧре сырҒытпаларын алу жӗне
каталитті панельдерді алу
ң .
САҙТАНДЫРУ ТУРАЛЫ
ЕСКЕРТУ!
ң .
ң
.
Л
ң
ң
ң .
ң
ң
ң
ң .
Л
2
1
М
ң
ң .
М
ң .
Каталитпен тазалау
САҙТАНДЫРУ ТУРАЛЫ
ЕСКЕРТУ!
,
,
ң .
.
ң
ң
ң
ң
.
НАЗАРЫҡЫЗДА БОЛСЫН!
ң .
ң
,
.
ң
-
ң .
.
ң
.
ң
-
ң .
ЛИ
ң
,
ң .
МИ
ң .
НИ
250 °C
ң , 1
ң .
ОИ
ң .
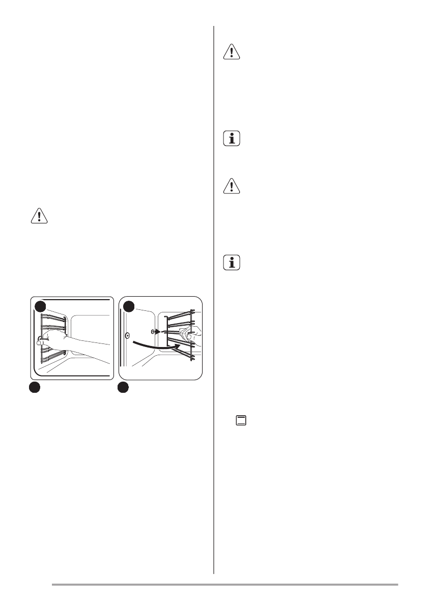
ТұмшапештіҢ есігін тазалау
ң
.
ң
.
18
www.zanussi.com
Содержание
- 25 Общие правила техники безопасности
- 26 Указания по безопасности; Установка
- 27 Уход и очистка
- 28 Описание изделия; Общий обзор; Решетка; Перед первым использованием; Первая очистка
- 29 Ежедневное использование; Включение и выключение прибора
- 30 Режимы духового шкафа; Дисплей
- 31 Кнопки; Функции часов; Таблица функций часов; Установка функций часов; ЛИ
- 32 Дополнительные функции
- 33 Пироги
- 36 Открытые пироги
- 37 Мясо
- 38 Рыба; Малый гриль
- 39 Размораживание
- 40 Высушивание Горячий воздух; Овощи; Примечание относительно очистки
- 42 Каталитическая очистка; Очистка дверцы духового шкафа
- 43 Замена лампы; Поиск и устранение неисправностей
- 44 Что делатьЖ еслиИИИ; Информация для обращения в
- 45 Встраивание
- 46 Технические данные; Энергоэффективность; Справочный листок технических данных согласно Яп РПЗРРЙМКЛО; Экономия электроэнергии; Общие рекомендации
- 47 ОХРАНА ОКРУЖАЮЩЕЙ СРЕДЫ












