Духовые шкафы Zanussi ZBN 722 X - инструкция пользователя по применению, эксплуатации и установке на русском языке. Мы надеемся, она поможет вам решить возникшие у вас вопросы при эксплуатации техники.
Если остались вопросы, задайте их в комментариях после инструкции.
"Загружаем инструкцию", означает, что нужно подождать пока файл загрузится и можно будет его читать онлайн. Некоторые инструкции очень большие и время их появления зависит от вашей скорости интернета.

13
Ðèñ. 15
Ýëåêòðè÷åñêîå ïîäêëþ÷åíèå
Ïåðåä òåì, êàê ïîäñîåäèíÿòü äóõîâêó:
1. Ïðîâåðüòå, ñìîæåò ëè ïðåäîõðàíèòåëü ñåòè è
ðàçâîäêà âûäåðæàòü ýòó íàãðóçêó.
2. Ïðîâåðüòå, íàäëåæàùèì ëè îáðàçîì çàçåìëåí
è ñ ò î ÷ í è ê ý ë å ê ò ð î ý í å ð ã è è â ñ î î ò â å ò ñ ò â è è ñ
äåéñòâóþùèìè ïðàâèëàìè.
3. Ïðîâåðüòå, ëåãêî ëè áóäåò äîáðàòüñÿ äî ðîçåòêè
èëè äâóõïîëþñíîãî ïåðåêëþ÷àòåëÿ, êîòîðûå
èñïîëüçóþòñÿ äëÿ ýëåêòðè÷åñêîãî ïîäêëþ÷åíèÿ,
êîãäà äóõîâêà áóäåò âñòðîåíà â ìåáåëü.
Íåçàâèñèìûé äóõîâîé øêàô
Äàííàÿ ìîäåëü ïîñòàâëÿåòñÿ ñ ñîåäèíèòåëüíûì
ê à á å ë å ì è â è ë ê î é . Â è ë ê ó ñ ë å ä ó å ò â ñ ò à â è ò ü â
íàäëåæàùóþ ðîçåòêó.
Ï ð è ï î ñ ò î ÿ í í î ì ï î ä ñ î å ä è í å í è è ä ó õ î â ê è
í å ï î ñ ð å ä ñ ò â å í í î ê ý ë å ê ò ð è ÷ å ñ ê î é ñ è ñ ò å ì å ,
íåîáõîäèìî óñòàíîâèòü ìåæäó äóõîâêîé è èñòî÷íèêîì
ýëåêòðîýíåðãèè äâóõïîëþñíûé ïåðåêëþ÷àòåëü ñ
ìèíèìàëüíûì çàçîðîì ìåæäó êîíòàêòàìè 3 ìì òàêîãî
òèïà, êîòîðûé ïîäõîäèò äëÿ òðåáóåìîé íàãðóçêè â
ñîîòâåòñòâèè ñ ñîâðåìåííûìè ïðàâèëàìè. Ýòîò
äâóõïîëþñíûé ïåðåêëþ÷àòåëü íå äîëæåí ðàçðûâàòü
ïðîâîä çàçåìëåíèÿ. Ñîåäèíèòåëüíûé êàáåëü ñëåäóåò
ðàçìåùàòü òàêèì îáðàçîì, ÷òîáû íè îäèí åãî ó÷àñòîê
íå ìîã íàãðåòüñÿ áîëüøå, ÷åì íà 50°Ñ ïî îòíîøåíèþ
ê îêðóæàþùåé ñðåäå.
Ïîñëå òîãî, êàê ñîåäèíåíèå âûïîëíåíî, ïðîâåðüòå âñå
íàãðåâàòåëüíûå ýëåìåíòû â òå÷åíèå ïðèìåðíî 3 ìèíóò.
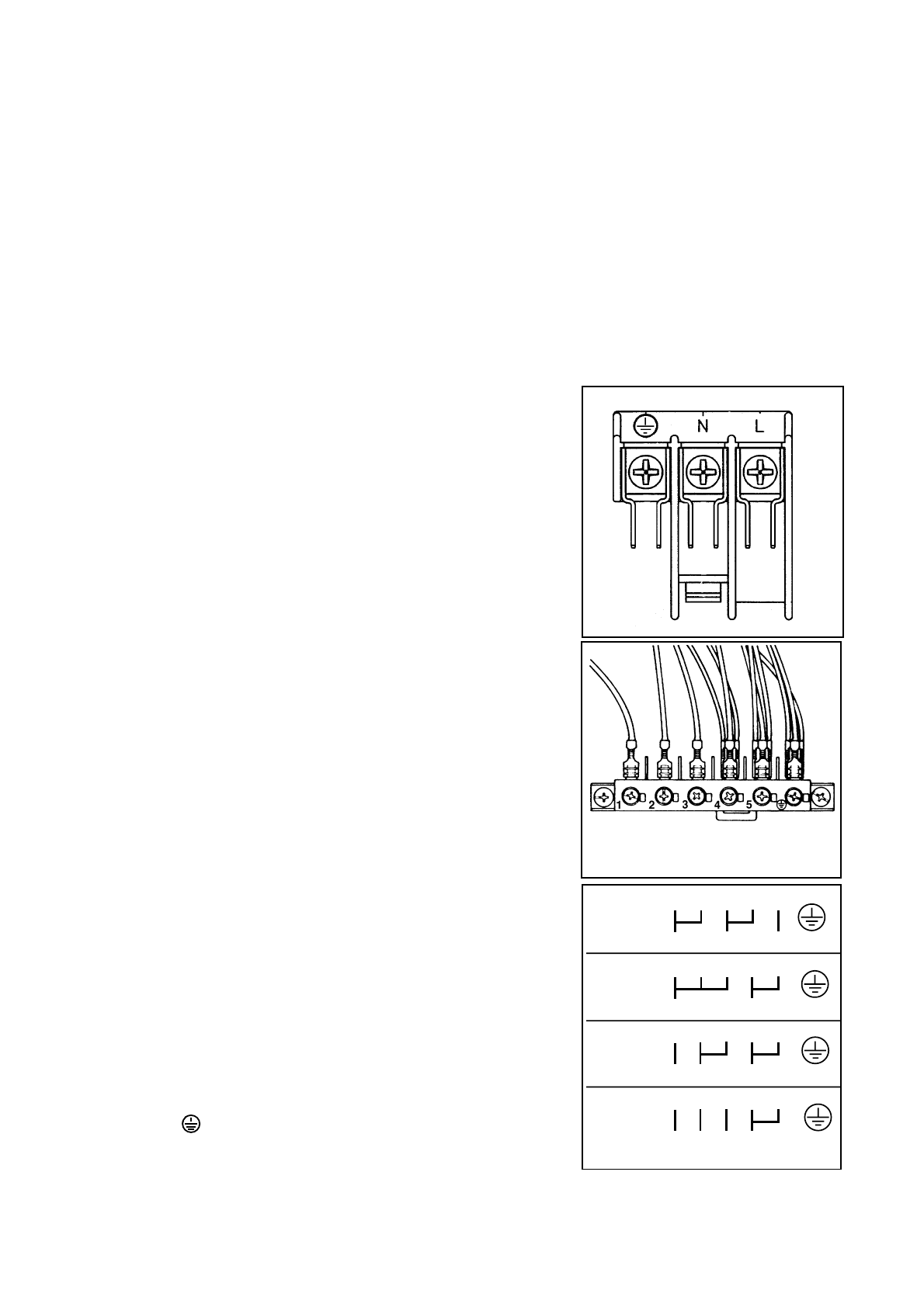
Êëåììíàÿ êîëîäêà (Ðèñ. 15)
Ïðèáîð èìååò ëåãêî äîñòóïíóþ êëåììíóþ êîëîäêó,
êîòîðàÿ ïðåäíàçíà÷åíà äëÿ ðàáîòû íà îäíîôàçíîì
íàïðÿæåíèè ïèòàíèÿ, íîìèíàëüíîå íàïðÿæåíèå 230 Â.
Çàâèñèìûé äóõîâîé øêàô
Äàííàÿ ìîäåëü ïîñòàâëÿåòñÿ áåç ñîåäèíèòåëüíîãî
êàáåëÿ. Ê ïðèáîðó ñëåäóåò ïîäêëþ÷èòü êàáåëü,
ñ î î ò â å ò ñ ò â ó þ ù è é ò ð å á î â à í è ÿ ì ï î ý ë å ê ò ð î -
ï î ä ê ë þ ÷ å í è þ , î ñ í à ù å í í û é ñ î î ò â å ò ñ ò â ó þ ù è ì
ð à ç ú å ì î ì è ñ ï î ñ î á í û é â û ä å ð æ à ò ü í à ã ð ó ç ê ó,
óêàçàííóþ íà òàáëè÷êå ñ òåõíè÷åñêèìè äàííûìè. Ýòî
äîëæåí áûòü òðåõæèëüíûé êàáåëü, ïðîâîä çàçåìëåíèÿ
êîòîðîãî ìàðêèðîâàí êàê æåëòûé ñ çåëåíûì.
Òèïû ïîäõîäÿùèõ êàáåëåé ïèòàíèÿ: H07 RN-F, H05 RN-
F, H05 RR-F, H05 VV-F, H05V2V2-F (T90), H05 BB-F.
Êëåììíàÿ êîëîäêà
×åðåç 6-òè ïîëþñíóþ êëåììíóþ êîëîäêó (ðèñ. 16)
ï ð è á î ð ì î æ í î ï î ä ê ë þ ÷ è ò ü ê ý ë å ê ò ð î ñ å ò è ñ
íàïðÿæåíèåì 400Â (òðè ôàçû+íåéòðàëü). Âîçìîæíûå
ñõåìû ïîäêëþ÷åíèÿ ïðèâåäåíû íà ðèñ. 17. Ïðîâîä
çàçåìëåíèÿ äîëæåí áûòü ïîäêëþ÷åí ê êëåììå,
îáîçíà÷åííîé
.Ðàçúåì êàáåëÿ ñëåäóåò âñòàâèòü â
íàäëåæàùóþ ðîçåòêó.
Ïîäêëþ÷åíèå âàðî÷íîé ïîâåðõíîñòè
Ê äàííîìó äóõîâîìó øêàôó ìîæåò áûòü ïîäêëþ÷åíà
î ä í à è ç ï å ð å÷ è ñ ë å í í û õ í à ñ ò ð . 11 âà ð î÷ í û õ
ïîâåðõíîñòåé.Ðàçúåì äëÿ ïîäêëþ÷åíèÿ âàðî÷íîé
ïîâåðõíîñòè ðàñïîëîæåí â âåðõíåé ÷àñòè êîðïóñà
äóõîâêè. Ñîåäèíèòåëüíûé êàáåëü âõîäèò â êîìïëåêò
âàðî÷íîé ïîâåðõíîñòè. Ðàçúåì ïîäêëþ÷åíèÿ óñòðîåí
òàê, ÷òî íåïðàâèëüíîå ïîäêëþ÷åíèå èñêëþ÷åíî.
Ô è ð ì à - è ç ã î ò î â è ò å ë ü í å ï ð è ç í à å ò ç à ñ î á î é
îòâåòñòâåííîñòè, åñëè ïðèâåä¸ííûå ìåðû ïî
îáåñïå÷åíèþ áåçîïàñíîñòè íå âûïîëíÿþòñÿ.
230V 3~
1 2 3 4 5
L1 L2 L3 PE
230V 1~
1 2 3 4 5
L1 N PE
400V 2N~
1 2 3 4 5
L1 L2 N PE
400V 3N~
1 2 3 4 5
L1 L2 L3 N PE
Ðèñ. 16
Ðèñ. 17












