Духовые шкафы Whirlpool AKP 808 - инструкция пользователя по применению, эксплуатации и установке на русском языке. Мы надеемся, она поможет вам решить возникшие у вас вопросы при эксплуатации техники.
Если остались вопросы, задайте их в комментариях после инструкции.
"Загружаем инструкцию", означает, что нужно подождать пока файл загрузится и можно будет его читать онлайн. Некоторые инструкции очень большие и время их появления зависит от вашей скорости интернета.

38
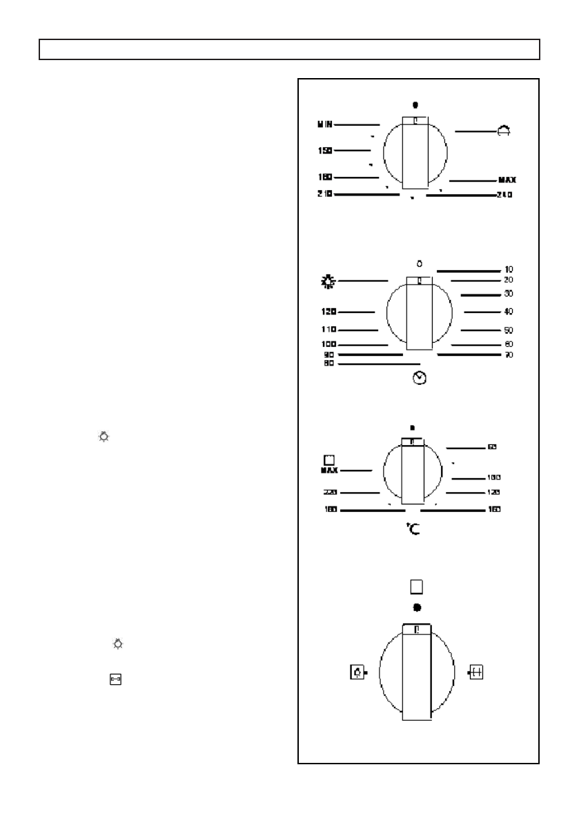
РУЧКАТЕРМОСТАТА
(ТОЛЬКО НА НЕКОТОРЫХ МОДЕЛЯХ)
Эта ручка позволяет зажечь газ внутри
духовки.
Температура
приготовления
устанавливается вращением ручки против
часовой стрелки до необходимого значения
между минимумом и максимумом.
Указания по разжиганию газовой духовки
см. в п. «7.3 Пользование газовой духовкой».
РУЧКА ТАЙМЕРА
(ТОЛЬКО НА НЕКОТОРЫХ МОДЕЛЯХ)
Чтобы воспользоваться таймером, установите
зуммер, повернув ручку по часовой стрелке.
Цифры соответствуют минутам (максимум
120 минут). Настройка имеет непрерывную
шкалу. При этом вы можете использовать
промежуточные положения между цифрами.
При срабатывании зуммера таймера духовка
не выключается.
Настройка обеспечивает подсветку духовки
изнутри в нормальном режиме (без таймера).
РУЧКА ТЕРМОСТАТА
(ТОЛЬКО НА НЕКОТОРЫХ МОДЕЛЯХ)
Температура
приготовления
устанавливается вращением ручки против
часовой стрелки до необходимого значения
между минимумом и максимумом.
РУСКА ПЕРЕКЛЮЧЕНИЯ ФУНКЦИЙ
(ТОЛЬКО НА НЕКОТОРЫХ МОДЕЛЯХ)
Настройка
обеспечивает подсветку
духовки изнутри в нормальном режиме.
Настройка
обеспечивает включение
подсветки духовки и вертела внутри в
нормальном режиме.
РУКОВОДСТВО ПО МОНТАЖУ