Духовые шкафы WEISSGAUFF EOA 29 PDB - инструкция пользователя по применению, эксплуатации и установке на русском языке. Мы надеемся, она поможет вам решить возникшие у вас вопросы при эксплуатации техники.
Если остались вопросы, задайте их в комментариях после инструкции.
"Загружаем инструкцию", означает, что нужно подождать пока файл загрузится и можно будет его читать онлайн. Некоторые инструкции очень большие и время их появления зависит от вашей скорости интернета.
Загружаем инструкцию

7
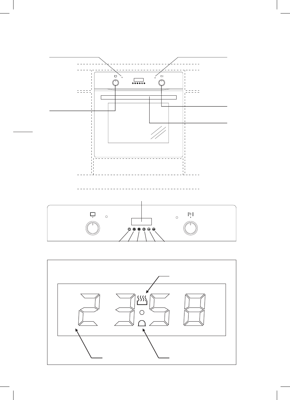
ОПИСАНИЕ ДЕТАЛЕЙ ПРИБОРА
3
2
1
4
5
10
6 7 8 9
12
11
A
U
T
O
1 5
1 4
1 3
TO U C H
C O N T R O L
TO U C H
C O N T R O L
Содержание
- 4 ПРАВИЛА И УСЛОВИЯ БЕЗОПАСНОЙ ЭКСПЛУАТАЦИИ; РЕКОМЕНДАЦИИ ПО ТЕХНИКЕ БЕЗОПАСНОСТИ; БУДЬТЕ ОСТОРОЖНЫ! Опасность поражения электрическим током!
- 5 УСТАНОВКА; БЕЗОПАСНОЕ ПОДСОЕДИНЕНИЕ К ЭЛЕКТРОСЕТИ
- 6 При подключении к электросети:
- 8 Необходимые примечания для установки:
- 9 СХЕМА ВСТРАИВАНИЯ
- 10 ИСПОЛЬЗОВАНИЕ ДУХОВОГО ШКАФА; ПЕРВИЧНОЕ ТЕХНИЧЕСКОЕ ОБСЛУЖИВАНИЕ И ЧИСТКА
- 11 РЕЖИМ «AUTO» - УСТАНОВКА ПРОДОЛЖИТЕЛЬНОСТИ РАБОТЫ; УСТАНОВКА ВРЕМЕНИ ЗАВЕРШЕНИЯ РАБОТЫ ДУХОВКИ
- 12 ПРОГРАММИРОВАНИЕ ВРЕМЕНИ НАЧАЛА И ОКОНЧАНИЯ ПРИ-
- 13 РЕГУЛЯТОР ТЕМПЕРАТУРЫ:; РЕЖИМЫ РАБОТЫ ДУХОВОГО ШКАФА
- 14 ТЕХНИЧЕСКОЕ ОБСЛУЖИВАНИЕ И ЧИСТКА
- 17 Экономия электроэнергии
- 18 СОВЕТЫ ПО ПРИГОТОВЛЕНИЮ ПИЩИ; Приготовление пищи на двух полках; Выпечка; Приготовление пиццы
- 19 Приготовление на гриле
- 20 КОМПЛЕКТАЦИЯ ПРОДУКЦИИ:













