Духовые шкафы Smeg Coloniale SF800PO - инструкция пользователя по применению, эксплуатации и установке на русском языке. Мы надеемся, она поможет вам решить возникшие у вас вопросы при эксплуатации техники.
Если остались вопросы, задайте их в комментариях после инструкции.
"Загружаем инструкцию", означает, что нужно подождать пока файл загрузится и можно будет его читать онлайн. Некоторые инструкции очень большие и время их появления зависит от вашей скорости интернета.

Описание
216
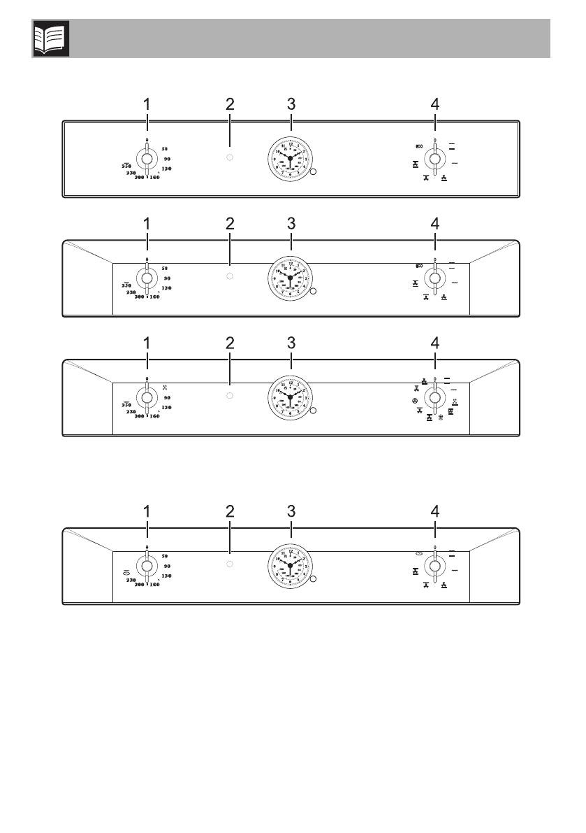
2.2 Панель управления
Многофункциональные модели
Модели с плиткой для приготовления пиццы
Ручка температуры (1)
При помощи этой ручки можно выбирать
температуру приготовления пищи.
Повернуть ручку по часовой стрелке на
желаемое значение от минимума до
максимума.
Индикаторная лампа термостата (2)
Когда мигает, означает, что духовка
нагревается для достижения
установленной температуры. При
достижении температуры, индикатор
остается зажженным, пока духовка не
выключилась.













