Духовые шкафы REEX OE 6060 RBk - инструкция пользователя по применению, эксплуатации и установке на русском языке. Мы надеемся, она поможет вам решить возникшие у вас вопросы при эксплуатации техники.
Если остались вопросы, задайте их в комментариях после инструкции.
"Загружаем инструкцию", означает, что нужно подождать пока файл загрузится и можно будет его читать онлайн. Некоторые инструкции очень большие и время их появления зависит от вашей скорости интернета.

28
Примечание при отключении электричества на несколько часов
система сохранит состояние
Примечание если вы не собираетесь пользоваться духовкой не
забудьте привести ее регулятор в выключенное положение
ФУНКЦИЯ БЛОКИРОВКИ ОТ ДЕТЕЙ
Данная функция служит для защиты против нежелаемого изменения ваших
настроек часов духовки. При активации блокировки от детей все кнопки будут
неактивными. При активации блокировки кнопок при работающей программе
готовки блокируются только кнопки, при активации блокировки в ручном
режиме блокируются кнопки, а также деактивируется духовка.
Примечание:
При активации блокировки кнопок в момент когда не
действует ни одна из программ готовки в целях безопасности духовка
будет деактивирована При отмене блокировки кнопок духовкой снова
можно пользоваться
Примечание
Чтобы отменить блокировку, необходимо снова нажать на кнопки
ручного режима в течение 3 секунд.
Примечание В случае если зуммер сработает при активированной
блокировке от детей вы можете отключить его нажатием на кнопки
ручного режима Блокировка останется активированной
РЕЖИМ ЧАСОВ (12/24 ЧАСА)
Вы можете настроить часы на работу в режиме 12 или 24 часа.
МИГАЮЩАЯ НАДПИСЬ "auto" ОЗНАЧАЕТ, ЧТО ДУХОВКА
ДЕАКТИВИРОВАНА, ДЛЯ ВОЗВРАЩЕНИЯ В НОРМАЛЬНЫЙ РЕЖИМ
Й
Й
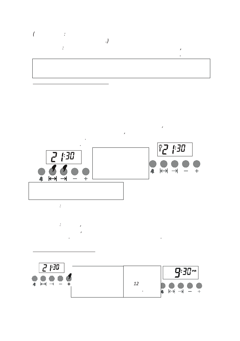
1- Нажмите на кнопки ручного режима и
удерживайте в течение 3 секунд.
2- На экране
отобразиться символ
ключа. (Блокировка от
детей
активирована)
1- Сейчас часы
настроены на 24-
часовой режим.
Нажмите на кнопку (+)
в течение 3 секунд.
2- Часы
настроены
на -часовой
режим
Характеристики
Остались вопросы?Не нашли свой ответ в руководстве или возникли другие проблемы? Задайте свой вопрос в форме ниже с подробным описанием вашей ситуации, чтобы другие люди и специалисты смогли дать на него ответ. Если вы знаете как решить проблему другого человека, пожалуйста, подскажите ему :)