Духовые шкафы Maunfeld MEOXS.436RIB.TA - инструкция пользователя по применению, эксплуатации и установке на русском языке. Мы надеемся, она поможет вам решить возникшие у вас вопросы при эксплуатации техники.
Если остались вопросы, задайте их в комментариях после инструкции.
"Загружаем инструкцию", означает, что нужно подождать пока файл загрузится и можно будет его читать онлайн. Некоторые инструкции очень большие и время их появления зависит от вашей скорости интернета.

6
9880127100-RU-110417
РУС
С
■
РУКОВОДСТВО
ПО ЭКСПЛУАТАЦИИ ДУХОВОГО ШКАФА
■
НИЖЕ ОПИСАНЫ ОСНОВНЫЕ ФУНКЦИИ, РАСПРОСТРАНЯЮЩИЕСЯ
НА
ВСЕ
МОДЕЛИ
ДУХОВЫХ
ШКАФОВ
ПРОИЗВОДИТЕЛЯ.
ОЗНАОМЬТЕСЬ
С
ТЕМИ,
КОТОРЫЕ
ОТНОСЯТСЯ
К
ПРИОБРЕТЕННОМУ ВАМИ ДУХОВОМУ ШКАФУ.
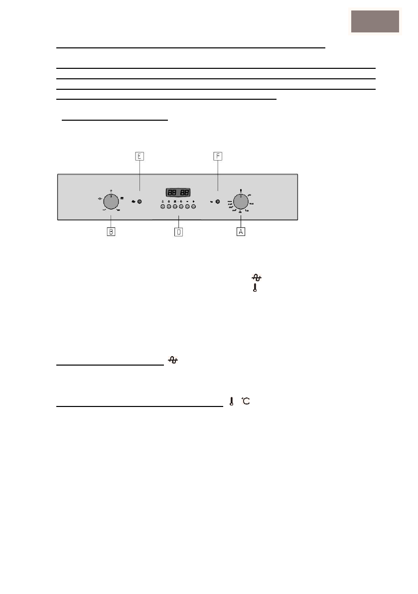
■ПАНЕЛЬ УПРАВЛЕНИЯ
■
A
= ТЕРМОСТАТ
D
= Часы / Программатор
OE/OR/PE
B
= ПЕРЕКЛЮЧАТЕЛЬ РЕЖИМОВ
E
=
Индикатор питания
LED
C
= CM/PSC
таймер
F
=
Индикатор работы
LED
Расположение и типы могут различаться на разных моделях.
Внимание:
Перед первым использованием духового шкафа, дайте ему поработать около 1 часа
на максимально возможном
температурном режиме. Это позволит вывести дым от
производственных отходов, таких как жир, масло и полимер.
Индикатор питания
LED
Когда
он
включен
,
это
означает
,
что
духовой
шкаф
подключен
к
электропитанию
и
включен
.
Индикатор работы духового шкафа
LED
Когда
включен
этот
индикатор,
то
духовой
шкаф
находится
на этапе
предварительного разогрева. Когда
индикатор
выключен
,
то
духовой шкаф достиг
установленной температуры. Если
индикатор
периодически
мигает
,
это
означает
,
что
температура
внутри
духового
шкафа постоянна и находится на уровне,
установленном на термостате.
Характеристики
Остались вопросы?Не нашли свой ответ в руководстве или возникли другие проблемы? Задайте свой вопрос в форме ниже с подробным описанием вашей ситуации, чтобы другие люди и специалисты смогли дать на него ответ. Если вы знаете как решить проблему другого человека, пожалуйста, подскажите ему :)