Духовые шкафы LEX EDP 092 IX - инструкция пользователя по применению, эксплуатации и установке на русском языке. Мы надеемся, она поможет вам решить возникшие у вас вопросы при эксплуатации техники.
Если остались вопросы, задайте их в комментариях после инструкции.
"Загружаем инструкцию", означает, что нужно подождать пока файл загрузится и можно будет его читать онлайн. Некоторые инструкции очень большие и время их появления зависит от вашей скорости интернета.

7
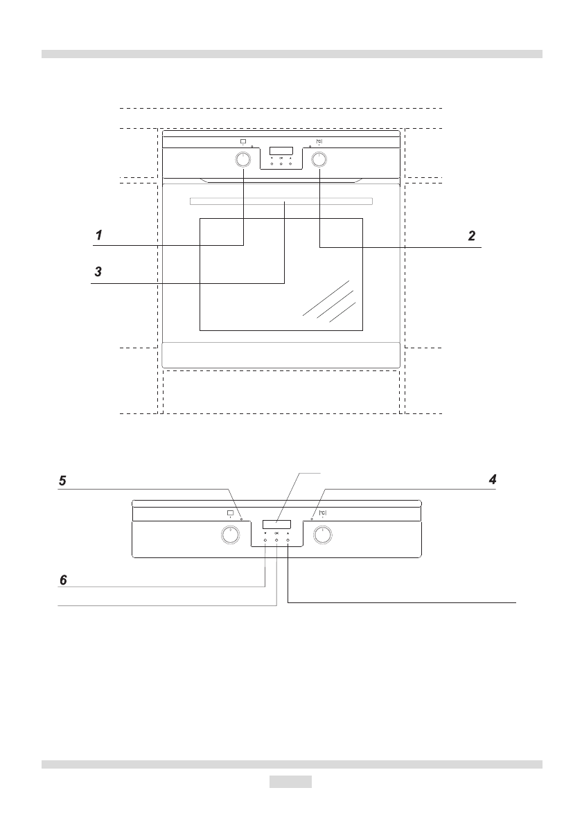
ОПИСАНИЕ УСТРОЙСТВА
1 Переключатель режимов духового шкафа
2 Регулятор температуры
3 Ручка дверцы
6 Кнопка уменьшения заданных параметров (-)
Кнопка подтверждения
8 Кнопка увеличения заданных параметров (+)
7
8
ЖК-дисплей
7
4 Красный световой индикатор регулятора температуры
5 Желтый световой индикатор выбора режима













