Духовые шкафы Kuppersbusch EEB 6550.8 MX - инструкция пользователя по применению, эксплуатации и установке на русском языке. Мы надеемся, она поможет вам решить возникшие у вас вопросы при эксплуатации техники.
Если остались вопросы, задайте их в комментариях после инструкции.
"Загружаем инструкцию", означает, что нужно подождать пока файл загрузится и можно будет его читать онлайн. Некоторые инструкции очень большие и время их появления зависит от вашей скорости интернета.

EEB 6550.8
31
: Electronic Clock Settings. These let you programme timer
functions for use with your oven.
,
and
.
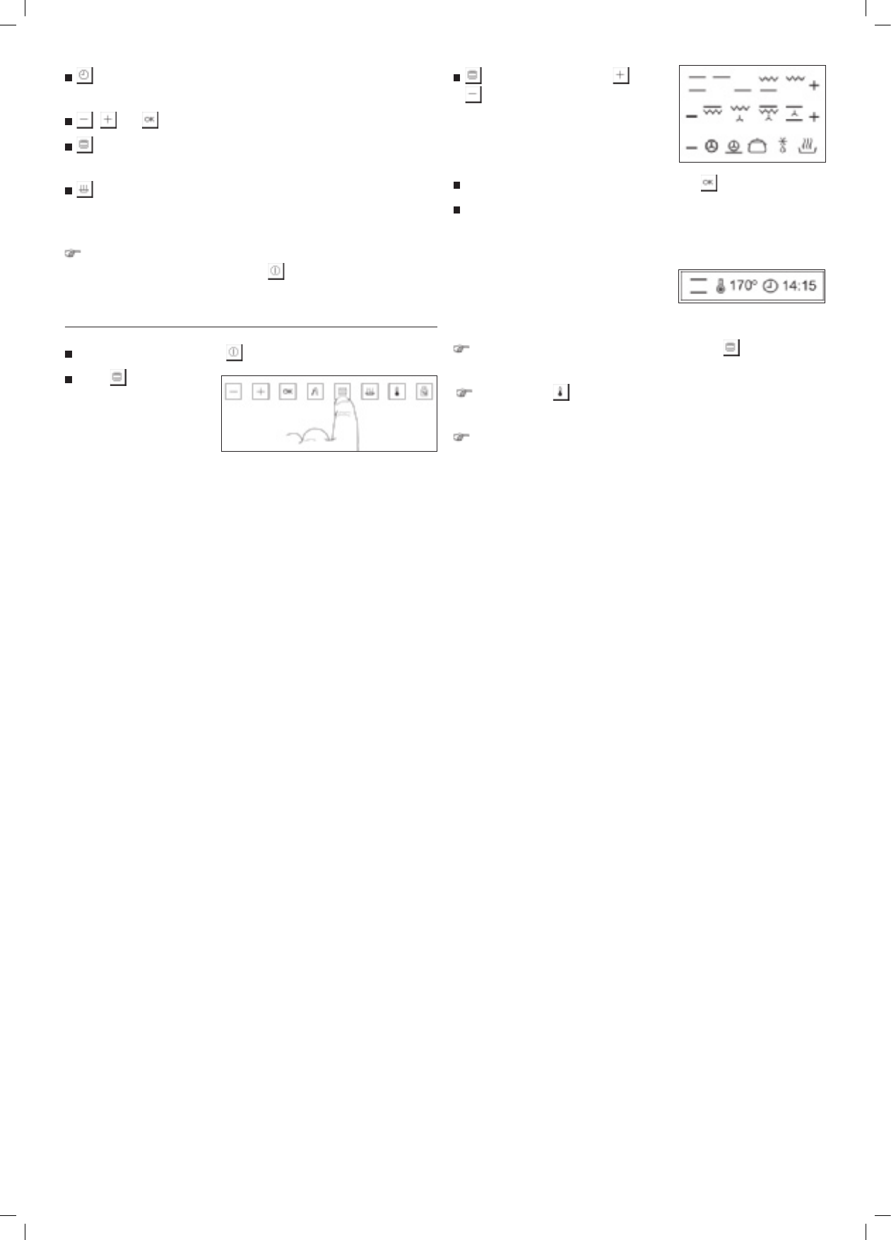
: Conventional oven cooking functions. This enables you to select
any cooking function by combining different heat sources.
: Automatic cooking recipe settings. Simply put the food into the
oven and indicate its weight on the display; the oven will cook it for you
automatically.
If you do not set any function or recipe, the oven will turn itself off
again, showing the current time and
in white.
Selecting a conventional cooking setting
Turn the oven on by touching
.
Touch
, which will light
up on the control panel.
will change to red. Touch
or
to set one of the following cooking
functions. (See Conventional oven
cooking functions below).
When you have set the desired function, touch
.
You will hear a double beep confi rming the chosen function has been
set. The oven will begin cooking and in most cases you will see the
following information on the display:
The set function, the pre-programmed
cooking temperature for that function
and the clock or timer function if any
have been set.
If you wish to change the cooking function, press
and follow the
above instructions.
During cooking
will fl ash, indicating that the oven is transmitting
heat to the food.
After the thermostat is turned off the fi rst time, you will hear a sound
indicating that pre-heating has fi nished.
Характеристики
Остались вопросы?Не нашли свой ответ в руководстве или возникли другие проблемы? Задайте свой вопрос в форме ниже с подробным описанием вашей ситуации, чтобы другие люди и специалисты смогли дать на него ответ. Если вы знаете как решить проблему другого человека, пожалуйста, подскажите ему :)












