Духовые шкафы Gorenje BCM598S18X - инструкция пользователя по применению, эксплуатации и установке на русском языке. Мы надеемся, она поможет вам решить возникшие у вас вопросы при эксплуатации техники.
Если остались вопросы, задайте их в комментариях после инструкции.
"Загружаем инструкцию", означает, что нужно подождать пока файл загрузится и можно будет его читать онлайн. Некоторые инструкции очень большие и время их появления зависит от вашей скорости интернета.

14
697180
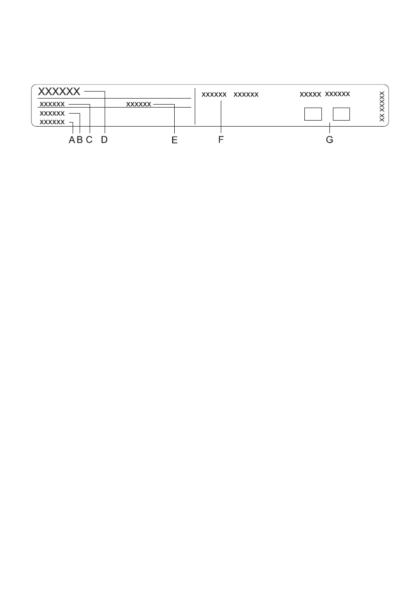
ТЕХНИЧЕСКИЕ ДАННЫЕ, ШИЛЬД ПРИБОРА
(В ЗАВИСИМОСТИ ОТ МОДЕЛИ)
Заводская табличка с основными данными
прибора находится на рамке духовой камеры и
видна при открытой дверце.
A
Серийный
номер
B
Артикул
C
Тип
D
Торговая
марка
E
Модель
F
Технические
данные
G
Знаки соответствия
697180_ru.indd 14
697180_ru.indd 14
4. 12. 2020 06:37:41
4. 12. 2020 06:37:41
Характеристики
Остались вопросы?Не нашли свой ответ в руководстве или возникли другие проблемы? Задайте свой вопрос в форме ниже с подробным описанием вашей ситуации, чтобы другие люди и специалисты смогли дать на него ответ. Если вы знаете как решить проблему другого человека, пожалуйста, подскажите ему :)












