Духовые шкафы Electrolux OPEB4230B - инструкция пользователя по применению, эксплуатации и установке на русском языке. Мы надеемся, она поможет вам решить возникшие у вас вопросы при эксплуатации техники.
Если остались вопросы, задайте их в комментариях после инструкции.
"Загружаем инструкцию", означает, что нужно подождать пока файл загрузится и можно будет его читать онлайн. Некоторые инструкции очень большие и время их появления зависит от вашей скорости интернета.

Внутри прибора или на стеклянных
панелях дверцы духового шкафа
может конденсироваться влага. Для
уменьшения конденсации прогрейте
духовой шкаф в течение 10 минут
перед началом приготовления.После
каждым использованием вытирайте
внутреннюю камеру от влаги.
11.2 Модели из нержавеющей
стали или алюминия
Очистку дверцы духового шкафа
можно производить только влажной
тряпкой или губкой. Протрите ее
насухо мягкой тряпкой.
Никогда не используйте абразивные
средства, металлические губки или
средства, содержащие кислоты, т.к.
они могут повредить поверхность
духового шкафа. Выполняйте чистку
панели управления духового шкафа с
соблюдением аналогичных
предосторожностей.
11.3 Очистка уплотнения
дверцы
Регулярно проверяйте состояние
уплотнения дверцы. Уплотнение
дверцы проходит по периметру рамки
камеры духового шкафа. В случае
повреждения уплотнения дверцы не
используйте духовой шкаф.
Обратитесь в авторизованный
сервисный центр.
Для очистки уплотнения дверцы
ознакомьтесь с общей информацией о
чистке прибора.
11.4 Снятие направляющих
для противней
Для очистки камеры духового шкафа
извлеките направляющие для
противней.
ПРЕДУПРЕЖДЕНИЕ
При извлечении
направляющих для
противней соблюдайте
осторожность.
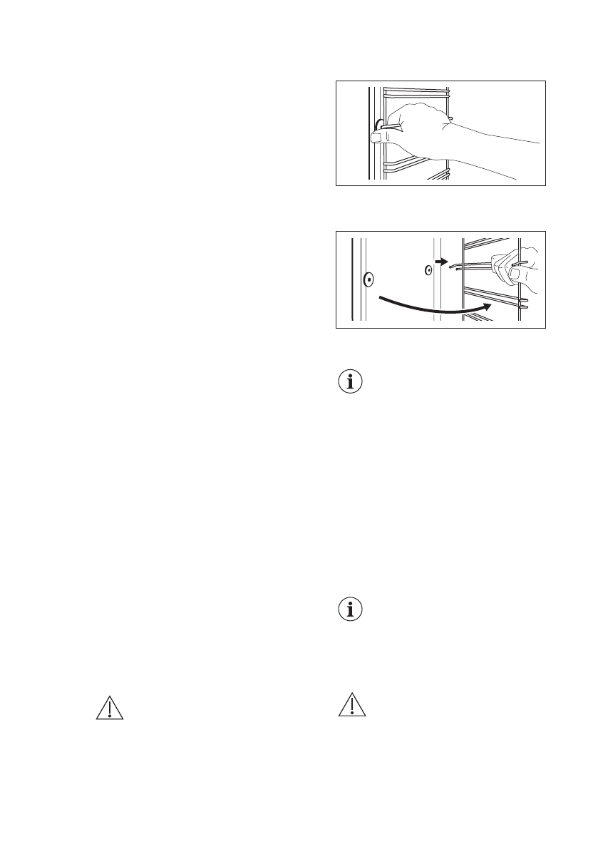
1. Потяните переднюю часть
направляющей для противня в
сторону, противоположную
боковой стенке.
2. Вытяните заднюю часть
направляющей из боковой стенки и
снимите ее.
2
1
Установите извлеченные аксессуары в
обратном порядке.
Удерживающие упоры на
телескопических
направляющих должны
быть обращены вперед.
11.5 Снятие и установка
дверцы
В дверце духового шкафа имеются
две стеклянные панели. И дверца
духового шкафа, и внутренняя
стеклянная панель снимаются для
чистки. Перед извлечением
стеклянных панелей прочитайте
инструкцию «Извлечение и установка
стеклянных панелей» целиком.
Если предварительно не
снять дверцу духового
шкафа, она может
захлопнуться при попытке
извлечь стеклянную
панель.
ПРЕДУПРЕЖДЕНИЕ
Не используйте духовой
шкаф без внутренней
стеклянной панели.
1. Откройте дверцу до конца и
возьмитесь за обе петли.
РУССКИЙ
23
Содержание
- 3 СВЕДЕНИЯ ПО ТЕХНИКЕ БЕЗОПАСНОСТИ; возможностями
- 4 Общие правила техники безопасности
- 5 УКАЗАНИЯ ПО БЕЗОПАСНОСТИ; электросети
- 7 Внутреннее освещение
- 9 ПЕРЕД ПЕРВЫМ ИСПОЛЬЗОВАНИЕМ; разогрев; ЕЖЕДНЕВНОЕ ИСПОЛЬЗОВАНИЕ; Утапливаемые ручки; нагрева
- 10 времени. Изменение времени
- 11 «ДЛИТЕЛЬНОСТЬ»; Установка функции; «ОКОНЧАНИЕ»; Установка функции; «ОТСРОЧКА ПУСКА»; Установка ТАЙМЕРА
- 12 ИСПОЛЬЗОВАНИЕ ДОПОЛНИТЕЛЬНЫХ; ПРИНАДЛЕЖНОСТЕЙ; Установка аксессуаров; телескопических
- 13 направляющие
- 14 ДОПОЛНИТЕЛЬНЫЕ ФУНКЦИИ; Вентилятор охлаждения; термостат
- 15 Таблица выпечки и жарки
- 21 тестирующих организаций
- 22 относительно очистки
- 23 Модели из нержавеющей; стали или алюминия; Очистка уплотнения; Снятие направляющих; для противней; Снятие и установка; дверцы
- 25 Задняя лампа; ПОИСК И УСТРАНЕНИЕ НЕИСПРАВНОСТЕЙ
- 26 обращения в сервис-центр
- 27 Крепление прибора к; мебели
- 28 ТЕХНИЧЕСКИЕ ДАННЫЕ; Технические данные; ЭНЕРГОЭФФЕКТИВНОСТЬ; электроэнергии
- 29 ОХРАНА ОКРУЖАЮЩЕЙ СРЕДЫ
Характеристики
Остались вопросы?Не нашли свой ответ в руководстве или возникли другие проблемы? Задайте свой вопрос в форме ниже с подробным описанием вашей ситуации, чтобы другие люди и специалисты смогли дать на него ответ. Если вы знаете как решить проблему другого человека, пожалуйста, подскажите ему :)