Духовые шкафы Electrolux OPEB2640R - инструкция пользователя по применению, эксплуатации и установке на русском языке. Мы надеемся, она поможет вам решить возникшие у вас вопросы при эксплуатации техники.
Если остались вопросы, задайте их в комментариях после инструкции.
"Загружаем инструкцию", означает, что нужно подождать пока файл загрузится и можно будет его читать онлайн. Некоторые инструкции очень большие и время их появления зависит от вашей скорости интернета.

По окончании каждого использования
функции приготовления на пару
следует выждать как минимум 60
минут, чтобы из клапана для слива
воды не вытекала горячая вода.
ПРЕДУПРЕЖДЕНИЕ
Прибор может сильно
нагреваться. Существует
риск получения ожогов.
Будьте осторожны при
сливе воды из выдвижного
резервуара.
6.5 Индикатор «Резервуар
пуст»
Индикатор указывает на то, что в
резервуаре закончилась вода, и его
необходимо наполнить.
Более подробную информацию см. в
Главе «Приготовление на пару».
6.6 Индикатор «Резервуар
для воды полон»
Индикатор показывает, что духовой
шкаф готов к приготовлению на пару.
Если в резервуар для воды
залить слишком много
воды, ее избыток будет
отведен на дно камеры
духового шкафа через
переливное отверстие.
Удалите вылившуюся воду
с помощью тряпки или
губки.
6.7 Слив воды из резервуара
для воды
ПРЕДУПРЕЖДЕНИЕ
Перед сливом воды
убедитесь, что духовой
шкаф остыл.
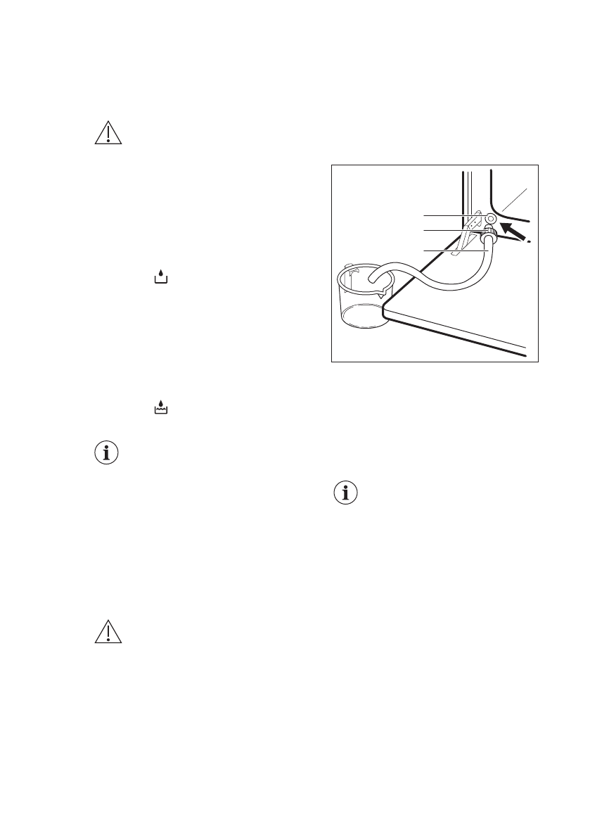
1. Приготовьте сливной шланг (С) из
пакета с руководством
пользователя. Наденьте на один
из концов сливного шланга штуцер
(В).
2. Поместите другой конец сливного
шланга (С) в резервуар. Он
должен находиться ниже клапана
для слива воды (А).
B
C
A
3. Откройте дверцу духового шкафа
и вставьте штуцер (В) в клапан для
слива воды (А).
4. При сливе воды из резервуара
прижимайте штуцер, не отпускайте
его.
5. Когда вода прекратит вытекать,
отсоедините штуцер от клапана.
Не используйте вытекшую
воду для повторного
заполнения резервуара.
РУССКИЙ
47
Содержание
- 36 ПОДДЕРЖКА ПОТРЕБИТЕЛЕЙ И СЕРВИСНОЕ
- 37 возможностями
- 38 Общие правила техники безопасности
- 39 УКАЗАНИЯ ПО БЕЗОПАСНОСТИ; Подключение к сети
- 43 Крепление духового; шкафа к кухонной мебели
- 44 ПЕРЕД ПЕРВЫМ ИСПОЛЬЗОВАНИЕМ; Предварительный нагрев
- 45 ЕЖЕДНЕВНОЕ ИСПОЛЬЗОВАНИЕ
- 46 Влажная конвекция; Способ настройки Режим; нагрева; Приготовление на пару
- 47 Индикатор «Резервуар; Индикатор «Резервуар; для воды полон»; Слив воды из резервуара; для воды
- 48 Настройка текущего; времени суток; Установка времени; окончания приготовления
- 49 ИСПОЛЬЗОВАНИЕ ДОПОЛНИТЕЛЬНЫХ; ПРИНАДЛЕЖНОСТЕЙ; Установка аксессуаров
- 50 ДОПОЛНИТЕЛЬНЫЕ ФУНКЦИИ; Вентилятор охлаждения; термостат; СОВЕТЫ И РЕКОМЕНДАЦИИ; приготовлению
- 59 воздух
- 62 тестирующих организаций
- 64 Примечание относительно очистки
- 65 Снятие направляющих; для противней
- 68 освещения; Задняя лампа
- 69 УСТРАНЕНИЕ НЕИСПРАВНОСТЕЙ; обращения в сервис-центр
- 70 ТЕХНИЧЕСКИЕ ДАННЫЕ; Технические данные; ЭНЕРГЕТИЧЕСКАЯ ЭФФЕКТИВНОСТЬ; электроэнергии; ОХРАНА ОКРУЖАЮЩЕЙ СРЕДЫ
Характеристики
Остались вопросы?Не нашли свой ответ в руководстве или возникли другие проблемы? Задайте свой вопрос в форме ниже с подробным описанием вашей ситуации, чтобы другие люди и специалисты смогли дать на него ответ. Если вы знаете как решить проблему другого человека, пожалуйста, подскажите ему :)