Духовые шкафы Electrolux OKE6P71X - инструкция пользователя по применению, эксплуатации и установке на русском языке. Мы надеемся, она поможет вам решить возникшие у вас вопросы при эксплуатации техники.
Если остались вопросы, задайте их в комментариях после инструкции.
"Загружаем инструкцию", означает, что нужно подождать пока файл загрузится и можно будет его читать онлайн. Некоторые инструкции очень большие и время их появления зависит от вашей скорости интернета.

• Термощуп не подходит для
использования с жидкими блюдами.
• В ходе приготовления термощуп
должен находиться внутри блюда, а
его штекер – включен в гнездо.
• Используйте рекомендуемые
настройки температуры внутри
продукта. См. Главу «Указания и
рекомендации».
При каждой установке
штекера термощупа в его
гнездо необходимо снова
задать значение
температуры. Выбрать
длительность и время
окончания невозможно.
Духовой шкаф
рассчитывает примерное
время приготовления,
которое может меняться.
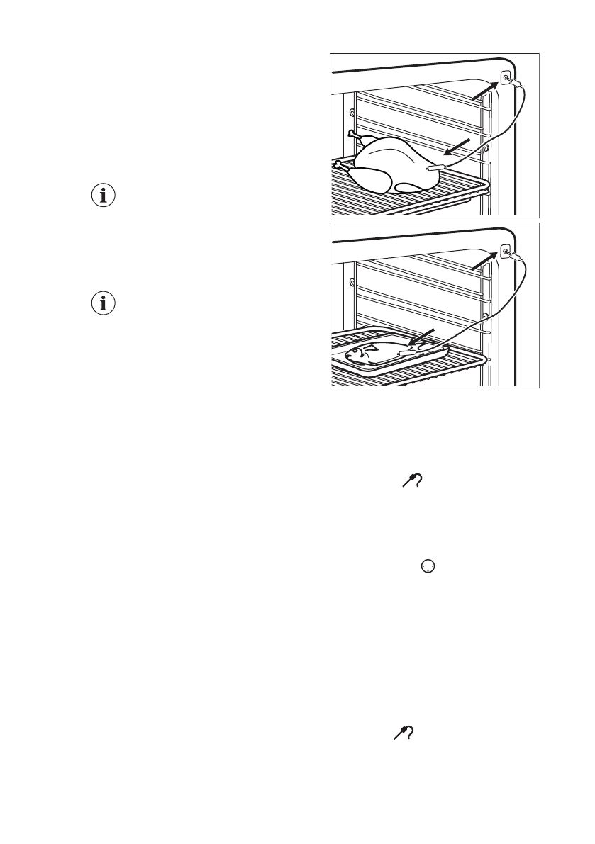
Категории блюд: мясо, птица
и рыба
1. Выберите режим нагрева и
задайте температуру духового
шкафа
2. Вставьте наконечник термощупа в
центр куска мяса или рыбы, по
возможности выбрав самую
толстую его часть. Убедитесь, что
как минимум 3/4 термощупа
находится внутри блюда.
3. Вставьте штекер термощупа в
гнездо, расположенное на
передней раме прибора.
На дисплее отобразится символ
термощупа.
По умолчанию при первом
использовании термощупа заданная
температура внутри продукта
составляет 60°C.
Пока мигает
, можно изменить
заданную по умолчанию температуру
внутри продукта при помощи ручки. На
дисплее отображается символ
термощупа и температура внутри
продукта.
4. Нажмите на для сохранения
новой температуры внутри
продукта или подождите 10 секунд,
и новое значение будет сохранено
автоматически.
Новое значение температуры внутри
продукта высветится на дисплее при
следующем использовании
термощупа.
При достижении заданной
температуры внутри продукта начнет
мигать значение температуры внутри
продукта и
. В течение двух минут
будет звучать звуковой сигнал.
5. Для выключения звукового сигнала
нажмите на любую кнопку или
откройте дверцу духового шкафа.
www.electrolux.com
16












