Духовые шкафы Electrolux EZC52430AX - инструкция пользователя по применению, эксплуатации и установке на русском языке. Мы надеемся, она поможет вам решить возникшие у вас вопросы при эксплуатации техники.
Если остались вопросы, задайте их в комментариях после инструкции.
"Загружаем инструкцию", означает, что нужно подождать пока файл загрузится и можно будет его читать онлайн. Некоторые инструкции очень большие и время их появления зависит от вашей скорости интернета.

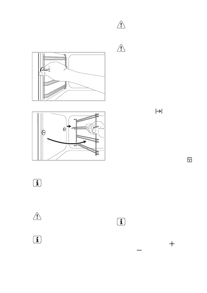
10.3 Виймання опор поличок
Щоб почистити духову шафу, вийміть
опорні рейки й .
1. Спочатку потягніть передню
частину опорної рейки від бічної
стінки.
2. Потягніть задню частину опорної
рейки від бічної стінки і зніміть її.
2
1
Для вставлення опорних рейок
виконайте наведену вище процедуру у
зворотній послідовності.
Виступні штифти на
телескопічних рейках для
поличок повинні бути
направлені вперед.
10.4 Піроліз
ОБЕРЕЖНО!
Уберіть усе додаткове
приладдя та з’ємні опори
полички.
Не запускайте піроліз,
якщо дверцята не зачинені
повністю. У деяких
моделях на дисплеї
відображається «C3» у разі
виникнення цієї помилки.
ПОПЕРЕДЖЕННЯ!
Прилад сильно
нагрівається. Існує ризик
отримання опіку.
ОБЕРЕЖНО!
Якщо в тій самій шафі
встановлені інші прилади,
не використовуйте їх
одночасно з функцією
піролізу. Це може
пошкодити прилад.
1. Вручну видаліть основний бруд.
2. Вимийте внутрішній бік дверцят
гарячою водою. Таким чином
залишки бруду не загоряться.
3. Встановіть функцію піролізу. Див.
розділ «Функції духової шафи».
4. Мигтить символ
.
Використовуйте функцію
«Завершення», щоб затримати
запуск процесу чищення.
Під час піролізу лампочка духової
шафи вимикається.
Процедура запускається через 2
секунди. Час процедури: 2 год.
Коли духова шафа досягає заданої
температури, дверцята блокуються.
На дисплеї відображаються символ
і смужки індикатора нагріву, доки двері
знову не розблокуються.
10.5 Нагадування про
чищення
Щоб нагадати про необхідність
піролізу, символ PYR мигтить на
дисплеї протягом 10 секунд після
кожного увімкнення або вимкнення
приладу.
Індикатор нагадування
про очищення зникає з
дисплея за таких умов:
• Після завершення
функції піролізу.
• Якщо натиснути та
одночасно, поки на
дисплеї миготить PYR.
УКРАЇНСЬКА
55
Содержание
- 3 возможностями
- 4 Общие правила техники безопасности
- 5 УКАЗАНИЯ ПО БЕЗОПАСНОСТИ; электросети
- 7 Пиролитическая очистка
- 8 Внутреннее освещение
- 9 ПЕРЕД ПЕРВЫМ ИСПОЛЬЗОВАНИЕМ; Установка времени; Изменение времени
- 10 ЕЖЕДНЕВНОЕ ИСПОЛЬЗОВАНИЕ; Утапливаемые ручки; прибора; Режимы духового шкафа
- 12 Индикация нагрева
- 13 Установка ТАЙМЕРА; приготовления
- 14 ИСПОЛЬЗОВАНИЕ ДОПОЛНИТЕЛЬНЫХ; ПРИНАДЛЕЖНОСТЕЙ; телескопических
- 15 ДОПОЛНИТЕЛЬНЫЕ ФУНКЦИИ; Использование функции; Индикация остаточного; тепла; Вентилятор охлаждения
- 16 Предохранительный; термостат; Приготовление выпечных; блюд; Приготовление мяса и; рыбы
- 24 относительно очистки; Модели из нержавеющей; стали или алюминия; Снятие направляющих; для противня
- 25 Напоминание о чистке
- 26 духового шкафа
- 28 Задняя лампа; ПОИСК И УСТРАНЕНИЕ НЕИСПРАВНОСТЕЙ
- 30 обращения в сервис-центр
- 31 Крепление прибора к; мебели
- 32 ТЕХНИЧЕСКИЕ ДАННЫЕ; Технические данные; ОХРАНА ОКРУЖАЮЩЕЙ СРЕДЫ