Electrolux EZC 52430 AX - Инструкция по эксплуатации - Страница 55

Духовые шкафы Electrolux EZC 52430 AX - инструкция пользователя по применению, эксплуатации и установке на русском языке. Мы надеемся, она поможет вам решить возникшие у вас вопросы при эксплуатации техники.

Если остались вопросы, задайте их в комментариях после инструкции.

"Загружаем инструкцию", означает, что нужно подождать пока файл загрузится и можно будет его читать онлайн. Некоторые инструкции очень большие и время их появления зависит от вашей скорости интернета.
Страница:
/ 64
Загружаем инструкцию
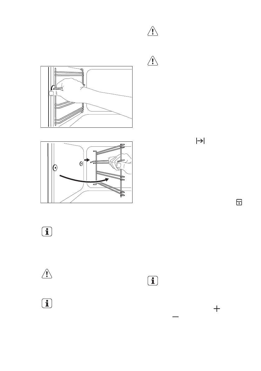
background image

1КИН 

 

 

 

 

 

 

   .

 

 

 

 

   

.

МИ

 

 

 

   

 

   

  .

2

1

 

 

 

 

 

 

 

 

.

 

 

 

 

 

 

 

.

1КИО 

ОБЕРЕЖНО!

 

 

    ’є

 

.

 

 

,

 

   

.   

   

є

 їC3»   

  є  

.

ПОПЕРЕДЖЕННЯ!

 

є

є 

 

.

ОБЕРЕЖНО!

     

 

 

 

,

 

 

   

є

.   

 

.

 

 

 

.

МИ

 

   

 

 

 

   

.

НИ

 

 

.

 ї

 

 

».

ОИ

 

 

 

ї

», 

 

 

 

.

 

 

 

 

 

є

.

 

є

 

 2

 

: 2 

.

 

 

 

є 

 

.

 

 

 

 

 

 

 

 

   

.

1КИП 

 

 

 

 

 МХО 

 

 

 10 

 

 

 

 

.

Індикатор нагадування

про очищення зникає з

дисплея за таких умовФ

 

 

.

 

   

 

 

 

 МХО.

УКРАЇНСЬКА

ПП

Характеристики

Оцените статью
tehnopanorama.ru
Остались вопросы?

Не нашли свой ответ в руководстве или возникли другие проблемы? Задайте свой вопрос в форме ниже с подробным описанием вашей ситуации, чтобы другие люди и специалисты смогли дать на него ответ. Если вы знаете как решить проблему другого человека, пожалуйста, подскажите ему :)

Задать вопрос

Часто задаваемые вопросы
Как посмотреть инструкцию к Electrolux EZC 52430 AX?
Необходимо подождать полной загрузки инструкции в сером окне на данной странице
Руководство на русском языке?
Все наши руководства представлены на русском языке или схематично, поэтому вы без труда сможете разобраться с вашей моделью
Как скопировать текст из PDF?
Чтобы скопировать текст со страницы инструкции воспользуйтесь вкладкой "HTML"