Духовые шкафы Electrolux EON 946 K (W) (X) - инструкция пользователя по применению, эксплуатации и установке на русском языке. Мы надеемся, она поможет вам решить возникшие у вас вопросы при эксплуатации техники.
Если остались вопросы, задайте их в комментариях после инструкции.
"Загружаем инструкцию", означает, что нужно подождать пока файл загрузится и можно будет его читать онлайн. Некоторые инструкции очень большие и время их появления зависит от вашей скорости интернета.

30
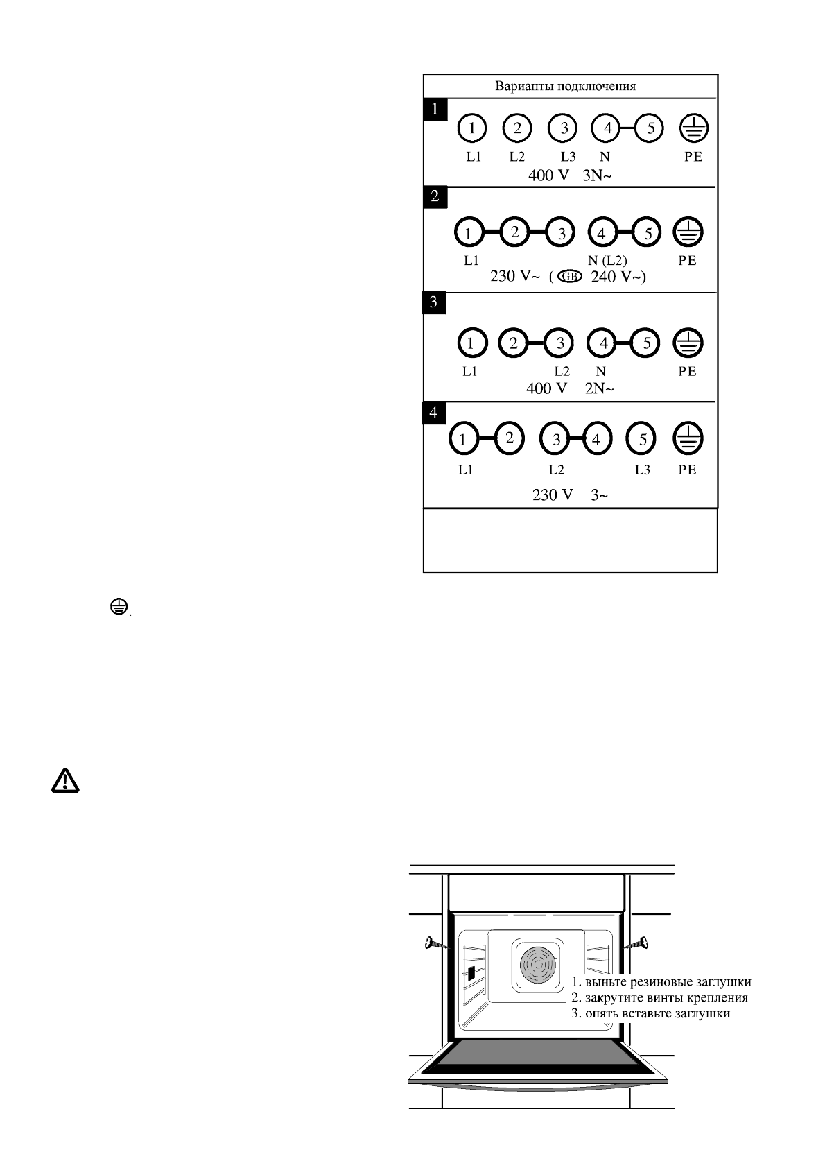
Ïîäêëþ÷åíèå ê ñåòè
Ïîäêëþ÷åíèå ê ñåòè îáÿçàòåëüíî äîëæíî áûòü
âûïîëíåíî êâàëèôèöèðîâàííûì ýëåêòðèêîì.
Ïðè ýòîì äîëæíû áûòü âûïîëíåíû äåéñòâóþùèå
ïðàâèëà.
 ç à â è ñ è ì î ñ ò è î ò í à ï ð ÿ æ å í è ÿ ñ å ò è ï ð è á î ð
ä î ë æ å í á û ò ü ï î ä ê ë þ ÷ å í ñ î î ò â å ò ñ ò â è è ñ
ïðèâåäåííîé äèàãðàììîé ñîåäèíåíèé.
Ïåðåä ïîäêëþ÷åíèåì ñëåäóåò óáåäèòüñÿ â òîì,
÷ ò î í à ï ð ÿ æ å í è å , ó ê à ç à í í î å í à ò à á ë è ÷ ê å ñ
òåõíè÷åñêèìè äàííûìè ïðèáîðà, - ò.å. ðàáî÷åå
íàïðÿæåíèå ïðèáîðà - ñîîòâåòñòâóåò íàïðÿæåíèþ
â ñ å ò è . Ò à á ë è ÷ ê à ñ ò å õ í è ÷ å ñ ê è ì è ä à í í û ì è
íàõîäèòñÿ ñëåâà íà íèæíåì êðàå ïðîåìà äâåðöû;
îíà âèäíà, êîãäà îòêðûòà äâåðöà äóõîâêè.
Ðàáî÷åå íàïðÿæåíèå íàãðåâàòåëüíûõ ýëåìåíòîâ
ðàâíî 230 Â ïåðåìåííîãî òîêà. Ïðèáîð òàêæå
õîðîøî ðàáîòàåò ïðè íàïðÿæåíèè â ñåòè 220 Â
ïåðåìåííîãî òîêà.
Ñîåäèíåíèå ñ ñåòüþ äîëæíî áûòü âûïîëíåíî
÷åðåç óíèâåðñàëüíîå èçîëèðóþùåå óñòðîéñòâî
ñ çàçîðîì ìåæäó êîíòàêòàìè íå ìåíåå 3 ìì,
íàïðèìåð, LS - àâòîìàòèêà, ïðåðûâàòåëü èëè
ïëàâêèé ïðåäîõðàíèòåëü.
Äëÿ ïîäà÷è ïèòàíèÿ ñëåäóåò èñïîëüçîâàòü êàáåëü
òèïà H05VV-F èëè áîëåå âûñîêîãî êà÷åñòâà.
Ðàçúåì ïèòàíèÿ ðàñïîëîæåí ïîä êðûøêîé íà
çàäíåé ñòåíêå äóõîâêè.
Ïðîâîä çàçåìëåíèÿ äîëæåí áûòü ïîäêëþ÷åí ê
âûõîäó
Ïåðåìû÷êè êîììóòàòîðà ðàçú¸ìà
ï è ò à í è ÿ ï ð è í å î á õ î ä è ì î ñ ò è ñ ë å ä ó å ò
ïåðåñòàâèòü.
Ý ë å ê ò ð è ÷ å ñ ê î å ï î ä ê ë þ ÷ å í è å ä î ë æ í î á û ò ü
â û ï î ë í å í î â ñ î î ò â å ò ñ ò â è è ñ ä å é ñ ò â ó þ ù è ì è
ïðàâèëàìè è êëåììû ðàçúåìîâ äîëæíû áûòü òóãî
çàòÿíóòû.
Âïîñëåäñòâèè êàáåëü ïèòàíèÿ äîëæåí
á û ò ü ç à ù è ù å í ï ð è ï î ì î ù è ó ñ ò ð î é ñ ò â à ,
ïðåäîòâðàùàþùåãî åãî íàòÿæåíèå.
Ï î ñ ë å ï î ä ê ë þ ÷ å í è ÿ ê ñ å ò è ñ ë å ä ó å ò ï î
î÷åðåäè ïðîâåðèòü ðàáîòîñïîñîáíîñòü
âñåõ íàãðåâàòåëüíûõ ýëåìåíòîâ ïðèáîðà,
âêëþ÷àÿ èõ íà ìàêñèìàëüíóþ ìîùíîñòü íà
êîðîòêîå âðåìÿ.
Çàêðåïëåíèå äóõîâîãî øêàôà
Ï î ñ ë å ï î ä ê ë þ ÷ å í è ÿ ê ñ å ò è â ñ ò ð à è â à å ì û é
äóõîâîé øêàô íóæíî óñòàíîâèòü íà ìåñòî è
î á å ñ ï å ÷ è ò ü å å ã î ð è ç î í ò à ë ü í î ñ ò ü . Â û í ü ò å
ðåçèíîâûå çàãëóøêè èç ïëàñòìàññîâûõ âòóëîê
ñïðàâà è ñëåâà íà êàðêàñå äóõîâêè, âñòàâüòå â
íèõ âèíòû, èìåþùèåñÿ â êîìïëåêòå, è çàêðåïèòå
ä ó õ î â î é ø ê à ô ê ò î ì ó ý ë å ì å í ò ó ê ó õ î í í î é
ìåáåëè, â êîòîðîì îí óñòàíàâëèâàåòñÿ. Çàòåì
ó ñ ò à í î â è ò å ð å ç è í î â û å ç à ã ë ó ø ê è î á ð à ò í î â
ïëàñòìàññîâûå âòóëêè.












