Electrolux EOG 92100 AX - Инструкция по эксплуатации - Страница 22

Духовые шкафы Electrolux EOG 92100 AX - инструкция пользователя по применению, эксплуатации и установке на русском языке. Мы надеемся, она поможет вам решить возникшие у вас вопросы при эксплуатации техники.

Если остались вопросы, задайте их в комментариях после инструкции.

"Загружаем инструкцию", означает, что нужно подождать пока файл загрузится и можно будет его читать онлайн. Некоторые инструкции очень большие и время их появления зависит от вашей скорости интернета.
Страница:
/ 56
Загружаем инструкцию
background image

!

 

 

 

 

   

 

 

 

 

.

!

 

   

 

   

 

 

   

 

   

 

.

 

:

 

   

   

 

.

 

 

 

    ‐

   

 

.

 

 

 

 

 

 

 

 

 

.

•  

 

 

 

 

 

 

   

 130  ².

 

 

 

 

 

   

   

   

,   

    ‐

 

 

 

 

 

 

 

 

 

  ‐

 

 

 (

). 

 

   

 

 

 

  ‐

 

 (

 

 

 

 

  ‐

 

 

,   

 

  ‐

 

 

).

13.2 

   

 

 

 

   

  ‐

 

 

.

!

 

 

 

!

!

 

 

 

 

 

 

 

 

 

 

 

   

.  ‐

 

 

 

 

 

.

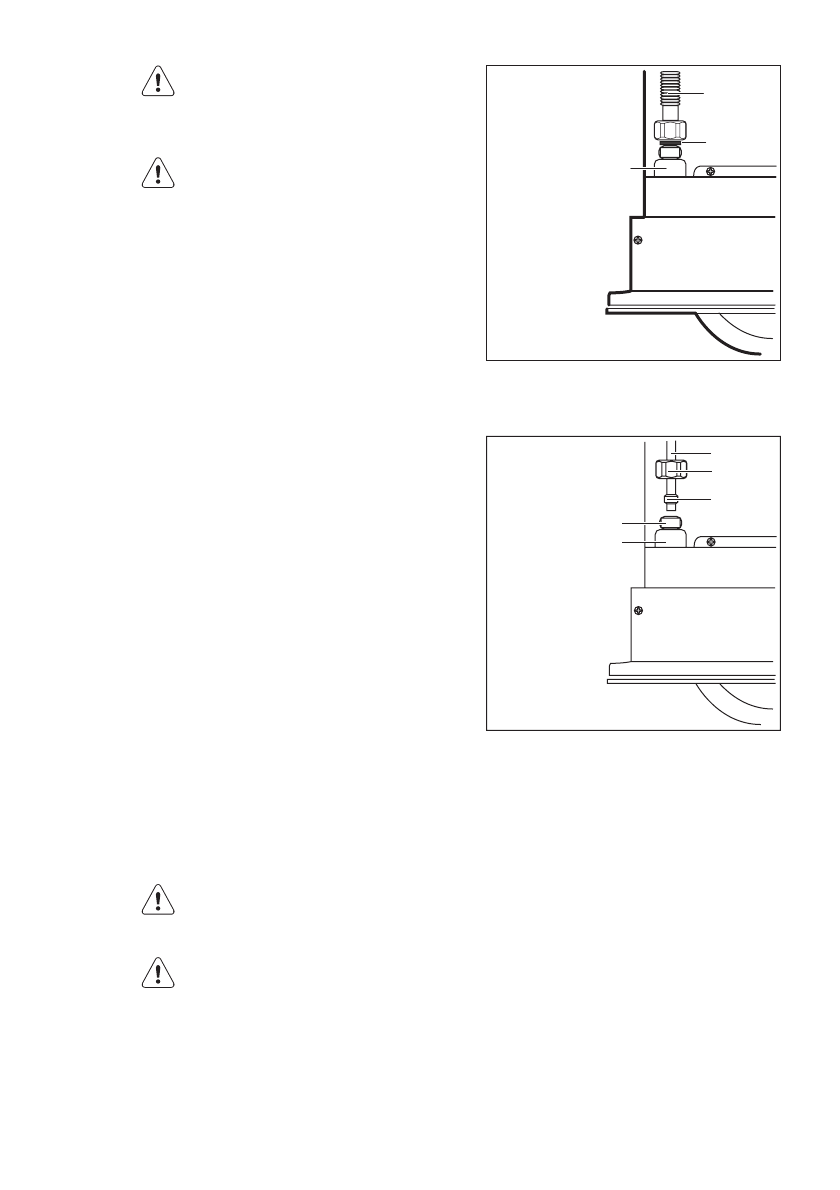
A

B

C

A)

 

 

B)
C)

 

A
B

C

D
E

A)

 

 

B)
C)

 

А)

/

   

 

Б)

 

1.

 

 

 

      ‐

   

 

   

 ( ‐

 

 30  ).

 

 

 

.

Э)

 

 

 (  

 2  ):

 

   

 

 

 

 

 

 

.

 

   

 

 

 

 1/2 

.

Ю)

 

 

 

 (

 

   

 8  ):

22

www.electrolux.com

Характеристики

Оцените статью
tehnopanorama.ru
Остались вопросы?

Не нашли свой ответ в руководстве или возникли другие проблемы? Задайте свой вопрос в форме ниже с подробным описанием вашей ситуации, чтобы другие люди и специалисты смогли дать на него ответ. Если вы знаете как решить проблему другого человека, пожалуйста, подскажите ему :)

Задать вопрос

Часто задаваемые вопросы
Как посмотреть инструкцию к Electrolux EOG 92100 AX?
Необходимо подождать полной загрузки инструкции в сером окне на данной странице
Руководство на русском языке?
Все наши руководства представлены на русском языке или схематично, поэтому вы без труда сможете разобраться с вашей моделью
Как скопировать текст из PDF?
Чтобы скопировать текст со страницы инструкции воспользуйтесь вкладкой "HTML"