Духовые шкафы Electrolux EOC95651BX - инструкция пользователя по применению, эксплуатации и установке на русском языке. Мы надеемся, она поможет вам решить возникшие у вас вопросы при эксплуатации техники.
Если остались вопросы, задайте их в комментариях после инструкции.
"Загружаем инструкцию", означает, что нужно подождать пока файл загрузится и можно будет его читать онлайн. Некоторые инструкции очень большие и время их появления зависит от вашей скорости интернета.

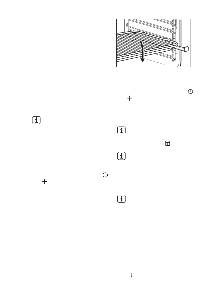
противень для жарки на
телескопические направляющие.
8. ДОПОЛНИТЕЛЬНЫЕ ФУНКЦИИ
8.1 Использование функции
«Защита от детей».
Функция «Защита от детей»
предотвращает случайное включение
прибора.
В случае выполнения
пиролитической чистки
дверца блокируется.
При нажатии на любую
кнопку и при повороте
ручки на дисплее будет
появляться символ SAFE.
1. Поверните ручку выбора режима
духового шкафа в положение
«Выкл».
2. Одновременно нажмите и
удерживайте около двух секунд
и .
Прозвучит звуковой сигнал. На
дисплее отобразится SAFE.
Для выключения функции «Защита от
детей» повторите действие 2.
8.2 Использование
блокировки кнопок
Режим «Блокировка кнопок» можно
включить только когда прибор
работает.
Блокировка кнопок позволяет
предотвратить случайное изменение
настроек температуры и времени
текущего режима духового шкафа.
1. Выберите режим духового шкафа
и установите его согласно своим
предпочтениям.
2. Одновременно нажмите и
удерживайте около двух секунд
и .
Прозвучит звуковой сигнал. На
дисплее отобразится Loc.
Для выключения функции «БЛОКИР.
КНОПОК» повторите действие 2.
При выполнения функции
«Пир.чистка» дверца
блокируется, а на дисплее
высвечивается « ».
При при повороте ручки
или нажатии на любую
кнопку на дисплее будет
появляться символ Loc.
При повороте ручки для
выбора режима духового
шкафа прибор будет
выключаться.
Если включена функция
блокировки кнопок, при
выключении прибора она
автоматически заменяется
функцией «Защита от
детей». См. «Отключение
функции «Защита от
детей».
8.3 Индикация остаточного
тепла
Если температура внутри духового
шкафа превышает 40°C, после
выключения прибора на дисплее
высвечивается индикация остаточного
тепла . Поверните ручку термостата
www.electrolux.com
16