Духовые шкафы Electrolux EOC 6697 U - инструкция пользователя по применению, эксплуатации и установке на русском языке. Мы надеемся, она поможет вам решить возникшие у вас вопросы при эксплуатации техники.
Если остались вопросы, задайте их в комментариях после инструкции.
"Загружаем инструкцию", означает, что нужно подождать пока файл загрузится и можно будет его читать онлайн. Некоторые инструкции очень большие и время их появления зависит от вашей скорости интернета.

15
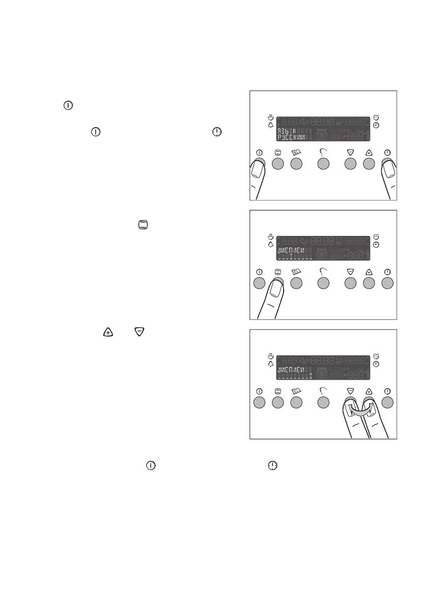
Ðåãóëèðîâàíèå ÿðêîñòè èíäèêàöèè
Äëÿ óëó÷øåíèÿ ÷èòàåìîñòè â äóõîâûõ øêàôàõ, âñòðîåííûõ â âûñîêóþ íèøó,
ïðåäóñìîòðåíà âîçìîæíîñòü ðåãóëèðîâàíèÿ ÿðêîñòè èíäèêàöèè.
1.
Âêëþ÷èòå ïðèáîð êíîïêîé Âêë./Âûêë.
.
2.
Îäíîâðåìåííî íàæìèòå êíîïêó Âêë./
Âûêë. è êíîïêó Ôóíêöèè ÷àñîâ .
3.
Îäíîêðàòíî íàæìèòå êíîïêó Ôóíêöèè
äóõîâîãî øêàôà .
4.
Êíîïêîé
èëè óñòàíîâèòå íóæíóþ
ÿðêîñòü.
5.
Îäíîâðåìåííûì íàæàòèåì
êíîïêè Âêë./Âûêë. è êíîïêè Ôóíêöèè ÷àñîâ , ñîõðàíèòå âûáðàííóþ
ÿðêîñòü â ýëåêòðîííîé ïàìÿòè.












