Духовые шкафы Electrolux EOC 5410 AOX - инструкция пользователя по применению, эксплуатации и установке на русском языке. Мы надеемся, она поможет вам решить возникшие у вас вопросы при эксплуатации техники.
Если остались вопросы, задайте их в комментариях после инструкции.
"Загружаем инструкцию", означает, что нужно подождать пока файл загрузится и можно будет его читать онлайн. Некоторые инструкции очень большие и время их появления зависит от вашей скорости интернета.

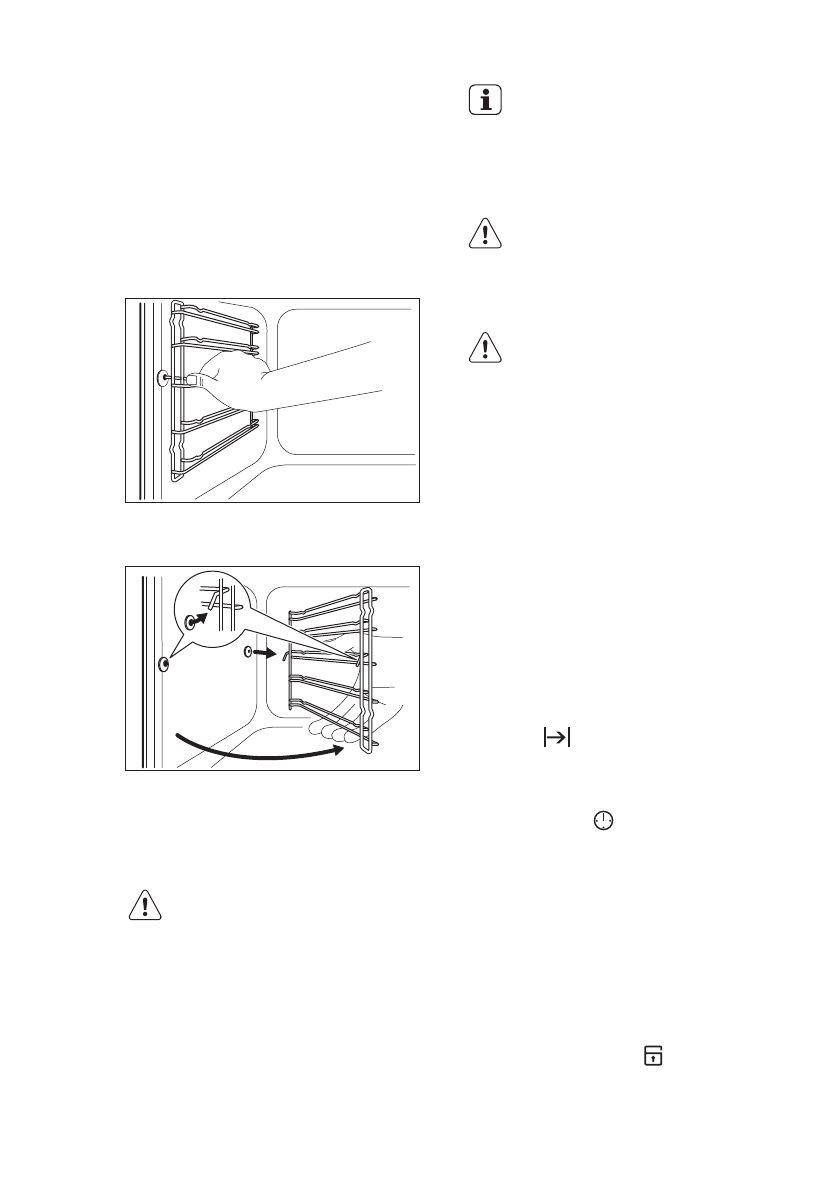
10.2 Снятие направляющих
для противней, а также
снятие
Для очистки камеры духового шкафа
извлеките направляющие для
противней, а также извлеките .
1. Потяните переднюю часть
направляющей для противня в
сторону, противоположную
боковой стенке.
2. Вытяните заднюю часть
направляющей для противня из
боковой стенки и снимите ее.
1
2
Установка направляющих для
противня производится в обратном
порядке.
10.3 Пир.чистка
ОСТОРОЖНО!
Извлеките все
дополнительные
принадлежности и
съемные направляющие
для полок.
Не запускайте функцию
пиролитической чистки при
неплотно закрытой дверце.
При этом в ряде моделей
на дисплее высвечивается
код ошибки символ «С3».
ВНИМАНИЕ!
Прибор при этом очень
сильно нагревается.
Существует риск
получения ожогов.
ОСТОРОЖНО!
Если в той же мебельной
нише или шкафу
установлены другие
приборы, не используйте
их одновременно с
выполнением функции
пиролитической чистки.
Это может привести к
повреждению прибора.
1. Удалите наихудшие загрязнения
вручную.
2. Очистите внутреннюю сторону
дверцы горячей водой чтобы
избежать пригорания остатков
пищи при нагревании воздуха до
высокой температуры.
3. Установите режим «Пир.чистка».
См. раздел «Режимы духового
шкафа».
Замигает
.
4. Чтобы отложить запуск процесса
очистки, выберите функцию
«Окончание».
5. Нажмите на или поверните
ручку термостата по часовой
стрелке, чтобы запустить
процедуру очистки.
Продолжительность процедуры: 1
час 30 мин.
Во время работы функции
«Пир.чистка» лампа освещения
духового шкафа отключена.
При работе духового шкафа при
заданной пользователем температуре
дверца блокируется. На дисплее
отображается символ и полоски до
тех пор, пока не будет снята
блокировка дверцы.
www.electrolux.com
32