Electrolux EOB 95751 AK (AX) (BX) - Инструкция по эксплуатации - Страница 36

Духовые шкафы Electrolux EOB 95751 AK (AX) (BX) - инструкция пользователя по применению, эксплуатации и установке на русском языке. Мы надеемся, она поможет вам решить возникшие у вас вопросы при эксплуатации техники.

Если остались вопросы, задайте их в комментариях после инструкции.

"Загружаем инструкцию", означает, что нужно подождать пока файл загрузится и можно будет его читать онлайн. Некоторые инструкции очень большие и время их появления зависит от вашей скорости интернета.
Страница:
/ 44
Загружаем инструкцию
background image

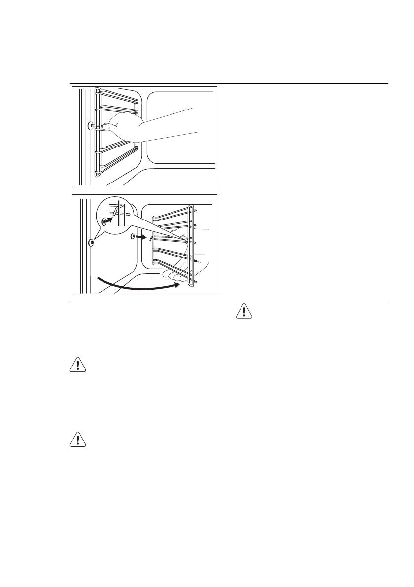
12.2 

 

 

 

 

 

 

 

 

 

 

 

 

 

 

.

1.

 

 

 

 

 

   

    ‐

 

.

1

2

2.

 

 

 

 

 

   

  .

 

 

 

 

 

 

   

 

.

 

 

   

 

:

 

   

 

 

 

 

.

12.3 

 

!

 

 

 

.

 

   

 

 

 

 

.

 

 

:

 

.

 

   

 

 

 

 

 

.

!

   

 

 

 

 

.   

 

 

   

 

   

.

 

 

 

 

   

.

 

   

 

:

1.

 

 

    ‐

 

 

.

2.

 

 

.

3.

 

 

   

 

   

 300°C.

4.

 

 

   

.

 

   

 

 

.

1.

 

 

 

  ‐

.

2.

 

 

 

 

 

 

 

 (

 

). 

 

 

.

36 ууу.бибЯролисф.Ялй

Полезные видео

Характеристики

Оцените статью
tehnopanorama.ru
Остались вопросы?

Не нашли свой ответ в руководстве или возникли другие проблемы? Задайте свой вопрос в форме ниже с подробным описанием вашей ситуации, чтобы другие люди и специалисты смогли дать на него ответ. Если вы знаете как решить проблему другого человека, пожалуйста, подскажите ему :)

Задать вопрос

Часто задаваемые вопросы
Как посмотреть инструкцию к Electrolux EOB 95751 AK (AX) (BX)?
Необходимо подождать полной загрузки инструкции в сером окне на данной странице
Руководство на русском языке?
Все наши руководства представлены на русском языке или схематично, поэтому вы без труда сможете разобраться с вашей моделью
Как скопировать текст из PDF?
Чтобы скопировать текст со страницы инструкции воспользуйтесь вкладкой "HTML"