Electrolux EOB 95750 AX - Инструкция по эксплуатации - Страница 31

Духовые шкафы Electrolux EOB 95750 AX - инструкция пользователя по применению, эксплуатации и установке на русском языке. Мы надеемся, она поможет вам решить возникшие у вас вопросы при эксплуатации техники.

Если остались вопросы, задайте их в комментариях после инструкции.

"Загружаем инструкцию", означает, что нужно подождать пока файл загрузится и можно будет его читать онлайн. Некоторые инструкции очень большие и время их появления зависит от вашей скорости интернета.
Страница:
/ 80
Загружаем инструкцию
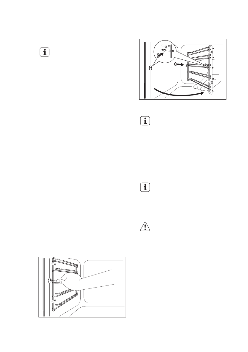
background image

ЛМИМ 

 

 

 

 

і   і і

 

 

 

.

і  

 

і і 

і

 

і  

і  

і і 

і .

і  

і    

 

 

.

ЛМИН 

і і  

і і  

 

і і .  і і  

 

 

.  і і

 

 

,

 

.

і

і 

 

 

.

і і  

 

  і

 

 

 

.

ЛМИО 

 

і 

  і  

 

.

ЛИ

 

 

 

 

.

МИ

 

 

 

 

.

1

2

 

 

і 

і і

.

 

і і

 

 

  і .

ЛМИП 

і   і і

і   і і 

 

 

.

і   і і

 і і 

 

і  

 

.

і   і і

 

 

,

 

і

 

,

і   і і

 

 

і .

Ы  

Ы

!

 

і  

.

ЛИ

і і 

 

  ,  і і  

 

 

.

МИ

 

і 

 

і і .

НЛ

Полезные видео

Характеристики

Оцените статью
tehnopanorama.ru
Остались вопросы?

Не нашли свой ответ в руководстве или возникли другие проблемы? Задайте свой вопрос в форме ниже с подробным описанием вашей ситуации, чтобы другие люди и специалисты смогли дать на него ответ. Если вы знаете как решить проблему другого человека, пожалуйста, подскажите ему :)

Задать вопрос

Часто задаваемые вопросы
Как посмотреть инструкцию к Electrolux EOB 95750 AX?
Необходимо подождать полной загрузки инструкции в сером окне на данной странице
Руководство на русском языке?
Все наши руководства представлены на русском языке или схематично, поэтому вы без труда сможете разобраться с вашей моделью
Как скопировать текст из PDF?
Чтобы скопировать текст со страницы инструкции воспользуйтесь вкладкой "HTML"