Духовые шкафы Electrolux EOB 93434 AK (AW) (AX) - инструкция пользователя по применению, эксплуатации и установке на русском языке. Мы надеемся, она поможет вам решить возникшие у вас вопросы при эксплуатации техники.
Если остались вопросы, задайте их в комментариях после инструкции.
"Загружаем инструкцию", означает, что нужно подождать пока файл загрузится и можно будет его читать онлайн. Некоторые инструкции очень большие и время их появления зависит от вашей скорости интернета.

ему растворить известковый
налет.
3. Протрите внутреннюю камеру
мягкой тряпкой, смоченной в
теплой воде.
10.4 Очистка уплотнения
дверцы
• Регулярно проверяйте состояние
уплотнения дверцы. Уплотнение
дверцы проходит по периметру
рамки камеры духового шкафа. В
случае повреждения уплотнения
дверцы не используйте прибор.
Обратитесь в авторизованный
сервисный центр.
• Для очистки уплотнения дверцы
ознакомьтесь с общей
информацией о чистке прибора.
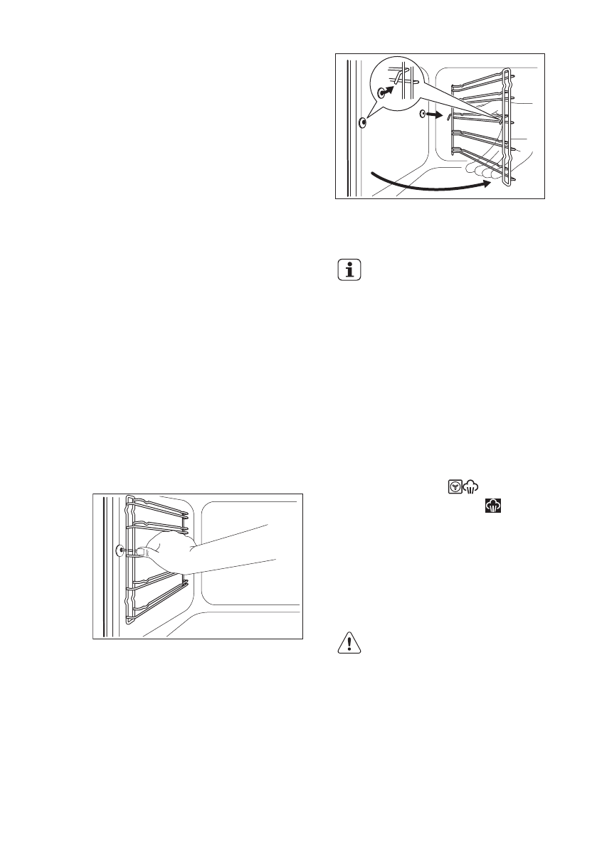
10.5 Снятие направляющих
для противней, а также
снятие
Для очистки камеры духового шкафа
извлеките направляющие для
противней, а также извлеките .
1. Потяните переднюю часть
направляющей для противня в
сторону, противоположную
боковой стенке.
2. Вытяните заднюю часть
направляющей для противня из
боковой стенки и снимите ее.
1
2
Установка направляющих для
противня производится в обратном
порядке.
Удерживающие упоры на
телескопических
направляющих должны
быть обращены вперед.
10.6 Водная очистка.
Механизм водной очистки
заключается в использовании влаги
для удаления остающихся в духовом
шкафу загрязнений в виде жира и
частиц пищи.
1. Налейте 200 мл воды в выемку
внутренней камеры на дне
духового шкафа.
2. Включите функцию «Горячий
воздух ПЛЮС»:
и нажмите
на кнопку «Пар Плюс» .
3. Установите температуру 90°C.
4. Дайте прибору поработать
примерно 30 минут.
5. Выключите прибор и дайте ему
остыть.
6. После остывания прибора
очистите внутренние поверхности
духового шкафа тряпкой.
ВНИМАНИЕ!
Прежде чем касаться
прибора, убедитесь что
он остыл. Существует
риск получения ожогов.
РУССКИЙ
59
Содержание
- 3 возможностями
- 4 Общие правила техники безопасности
- 5 УКАЗАНИЯ ПО БЕЗОПАСНОСТИ; электросети
- 7 Внутреннее освещение
- 8 ПЕРЕД ПЕРВЫМ ИСПОЛЬЗОВАНИЕМ; Установка текущего; времени
- 9 ЕЖЕДНЕВНОЕ ИСПОЛЬЗОВАНИЕ; Утапливаемые ручки; прибора
- 11 Включение функции; «Горячий воздух ПЛЮС»
- 13 ИСПОЛЬЗОВАНИЕ ДОПОЛНИТЕЛЬНЫХ; ПРИНАДЛЕЖНОСТЕЙ; дополнительных
- 14 направляющие; ДОПОЛНИТЕЛЬНЫЕ ФУНКЦИИ; Вентилятор охлаждения; термостат
- 15 Приготовление выпечных; блюд; Приготовление мяса и; рыбы; Время приготовления
- 16 Горячий воздух ПЛЮС
- 18 Таблица выпечки и жарки
- 26 Высушивание – Горячий; воздух
- 27 относительно очистки; Модели из нержавеющей; стали или алюминия
- 28 Очистка уплотнения; дверцы; Снятие направляющих; для противней, а также
- 29 Потолок духового шкафа; духового шкафа
- 31 Задняя лампа; ПОИСК И УСТРАНЕНИЕ НЕИСПРАВНОСТЕЙ
- 33 обращения в сервис-центр
- 34 Крепление прибора к; мебели
- 35 ТЕХНИЧЕСКИЕ ДАННЫЕ; Технические данные; ОХРАНА ОКРУЖАЮЩЕЙ СРЕДЫ












