Electrolux EOB 93301 AX - Инструкция по эксплуатации - Страница 10

Духовые шкафы Electrolux EOB 93301 AX - инструкция пользователя по применению, эксплуатации и установке на русском языке. Мы надеемся, она поможет вам решить возникшие у вас вопросы при эксплуатации техники.

Если остались вопросы, задайте их в комментариях после инструкции.

"Загружаем инструкцию", означает, что нужно подождать пока файл загрузится и можно будет его читать онлайн. Некоторые инструкции очень большие и время их появления зависит от вашей скорости интернета.
Страница:
/ 52
Загружаем инструкцию
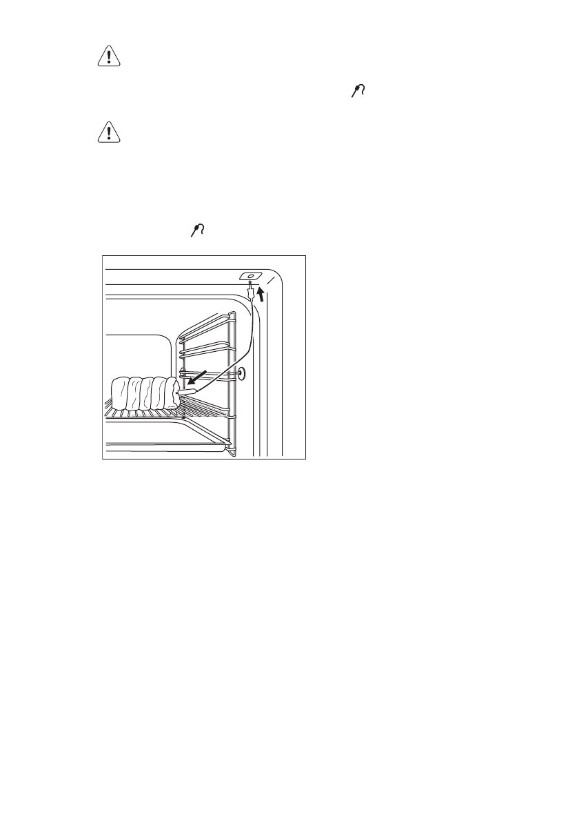
background image

 

 

 

 

   

 

   

 

,

 

 

 

 

.

!

 

   

   

 

 

 

 

 

 

 

.

1.

 

 

 

  ‐

 (  

     

)   

 

 

.

2.

 

 

 

 

 

 

 

.   

 

 

 

 

 .

3.

 

 ї+» 

 ї » 

 

 

 

 

 

 

   

 

30°C   99°C.

4.

 

   

 

 

.

5.

,     

 

 

 

 

 

 

,     

 

   

 

 

 

.

6.

 

 

 

 

 

 

  ‐

 

 

 

   

 

.

7.

 

.

8.

 

 

 

  ‐

   

 

   

.

 

 

 

 

 

   

 

 

 

 

.

8. 

 

8.1 

 

 

 

 

 

 

 

 

 

 

  ‐

 

 

      ,  ‐

 

 

 

   

.

8.2 

 

 

 

 

 

-

 

 

 

   

 

 

 

 

 

 

 

 

,   

 

 

.

 

 

 

 

 

І 

 

  ‐

.

10

www.electrolux.com

Полезные видео

Характеристики

Оцените статью
tehnopanorama.ru
Остались вопросы?

Не нашли свой ответ в руководстве или возникли другие проблемы? Задайте свой вопрос в форме ниже с подробным описанием вашей ситуации, чтобы другие люди и специалисты смогли дать на него ответ. Если вы знаете как решить проблему другого человека, пожалуйста, подскажите ему :)

Задать вопрос

Часто задаваемые вопросы
Как посмотреть инструкцию к Electrolux EOB 93301 AX?
Необходимо подождать полной загрузки инструкции в сером окне на данной странице
Руководство на русском языке?
Все наши руководства представлены на русском языке или схематично, поэтому вы без труда сможете разобраться с вашей моделью
Как скопировать текст из PDF?
Чтобы скопировать текст со страницы инструкции воспользуйтесь вкладкой "HTML"