Духовые шкафы Electrolux EOB 67200 X - инструкция пользователя по применению, эксплуатации и установке на русском языке. Мы надеемся, она поможет вам решить возникшие у вас вопросы при эксплуатации техники.
Если остались вопросы, задайте их в комментариях после инструкции.
"Загружаем инструкцию", означает, что нужно подождать пока файл загрузится и можно будет его читать онлайн. Некоторые инструкции очень большие и время их появления зависит от вашей скорости интернета.

electrolux
25
Èíñòðóêöèè, òàáëèöû è ñîâåòû
Ïðèãîòîâëåíèå âûïå÷íûõ
èçäåëèé
Ôóíêöèÿ äóõîâêè Ãîðÿ÷èé âîçäóõ c
êðórëü²ì íàrðåâàòåëüíü²ì çëåìåíòîì
èëè Íàãðåâ ñâåðõó è ñíèçó
Âûïå÷íûå ôîðìû
•
Äëÿ ðàáîòû â ðåæèìå Íàãðåâ ñâåðõó è
ñíèçó
ïðèãîäíû ôîðìû äëÿ âûïå÷êè
èç òåìíîãî ìåòàëëà è ôîðìû ñ
ïîêðûòèåì.
•
Äëÿ èñïîëüçîâàíèÿ â ðåæèìå Ãîðÿ÷èé
âîçäóõ c êðórëü²ì íàrðåâàòåëüíü²ì
çëåìåíòîì
ïîäõîäÿò òàêæå ôîðìû
èç ñâåòëîãî ìåòàëëà.
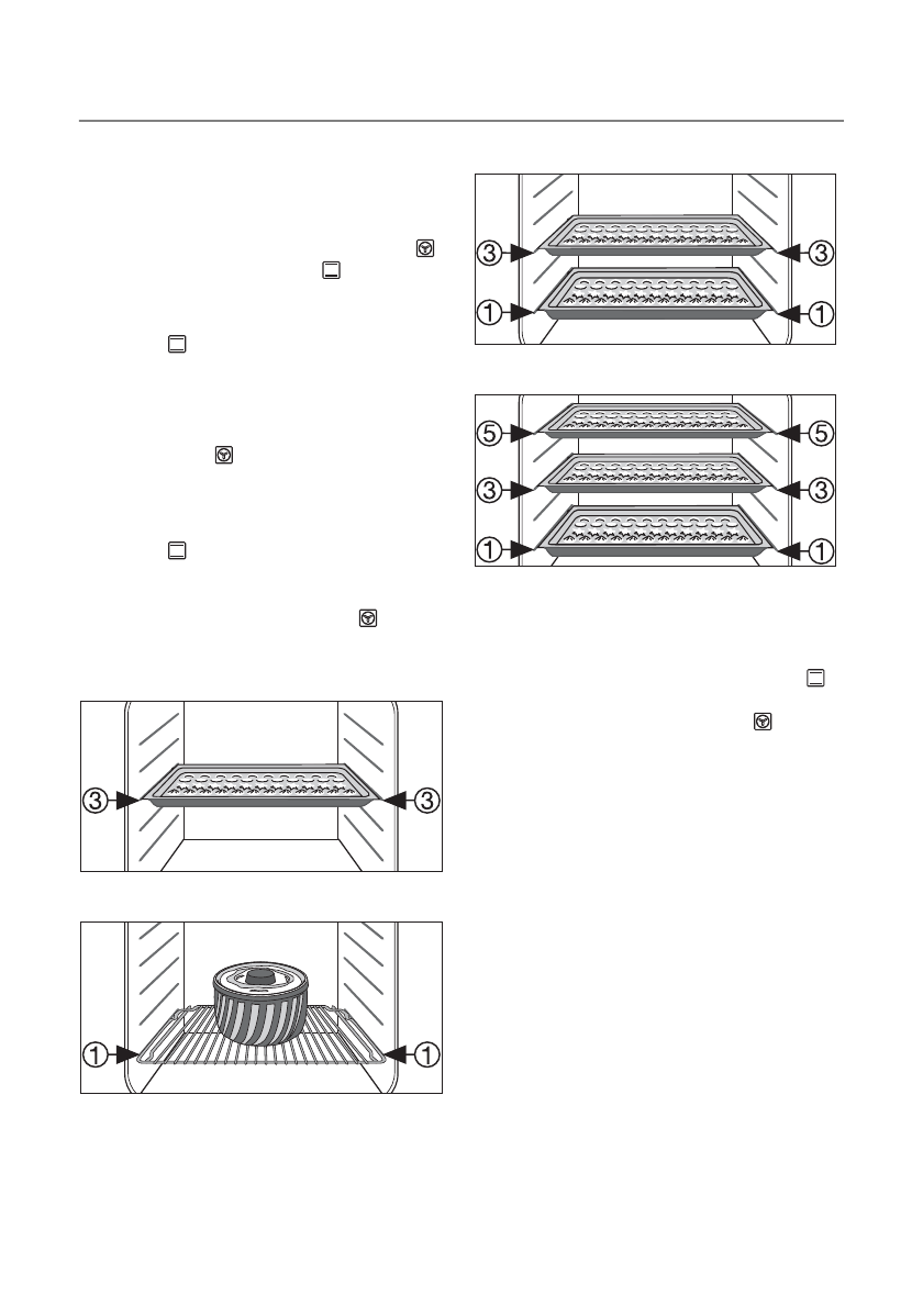
Óðîâíè äóõîâîãî øêàôà
•
Âûïåêàíèå â ðåæèìå Íàãðåâ ñâåðõó è
ñíèçó
âîçìîæíî òîëüêî íà îäíîì
óðîâíå äóõîâîãî øêàôà.
•
 ðåæèìå Ãîðÿ÷èé âîçäóõ c êðórëü²ì
íàrðåâàòåëüíü²ì çëåìåíòîì
ìîæíî
ãîòîâèòü âûïå÷êó îäíîâðåìåííî
ìàêñèìóì íà 3-õ ïðîòèâíÿõ:
1 ïðîòèâåíü:
íàïðèìåð , íà óðîâíå äóõîâîãî øêàôà 3
1 ôîðìà äëÿ âûïå÷êè:
íàïðèìåð, íà óðîâíå äóõîâîãî øêàôà 1
2 ïðîòèâíÿ:
íàïðèìåð, íà óðîâíÿõ äóõîâîãî øêàôà 1 è 3
3 ïðîòèâíÿ:
íà óðîâíÿõ äóõîâîãî øêàôà 1, 3 è 5
Îáùèå ðåêîìåíäàöèè
•
Âñòàâëÿéòå ïðîòèâåíü â äóõîâîé øêàô
ñêîøåííûìè êðîìêàìè âïåðåä!
•
 ðåæèìàõ Íàãðåâ ñâåðõó è ñíèçó
èëè Ãîðÿ÷èé âîçäóõ c êðórëü²ì
íàrðåâàòåëüíü²ì çëåìåíòîì
ìîæíî
ãîòîâèòü âûïå÷êó îäíîâðåìåííî â 2-õ
óñòàíîâëåííûõ ðÿäîì ôîðìàõ. Îò
ýòîãî âðåìÿ âûïåêàíèÿ óâåëè÷èâàåòñÿ
íåçíà÷èòåëüíî.
3
Ïðè ïðèãîòîâëåíèè ãëóáîêî
çàìîðîæåííûõ ïðîäóêòîâ ïðîòèâíè
ìîãóò äåôîðìèðîâàòüñÿ. Ýòî
îáúÿñíÿåòñÿ áîëüøîé ðàçíèöåé
òåìïåðàòóð ìåæäó çàìîðîæåííûì
ïðîäóêòîì è òåìïåðàòóðîé äóõîâîãî
øêàôà. Îñòûâøèå ïðîòèâíè ñíîâà
ïðèíèìàþò ïðåæíþþ ôîðìó.
Ïîÿñíåíèÿ ê òàáëèöàì ïî ïðèãîòîâëåíèþ
âûïå÷íûõ èçäåëèé
Ïåðå÷åíü áëþä ñ èíôîðìàöèåé î
ñîîòâåòñòâóþùèõ òåìïåðàòóðàõ, âðåìåíè
ïðèãîòîâëåíèÿ è óðîâíÿõ äóõîâîãî øêàôà
ïðåäñòàâëåí â ñëåäóþùèõ íèæå òàáëèöàõ.
•
Ïàðàìåòðû òåìïåðàòóðû è âðåìåíè
âûïåêàíèÿ ÿâëÿþòñÿ
îðèåíòèðîâî÷íûìè, ïîñêîëüêó çàâèñÿò
îò ñîñòàâà òåñòà, åãî êîëè÷åñòâà è
èñïîëüçóåìîé âûïå÷íîé ôîðìû.