Духовые шкафы Electrolux EOB 67000 W - инструкция пользователя по применению, эксплуатации и установке на русском языке. Мы надеемся, она поможет вам решить возникшие у вас вопросы при эксплуатации техники.
Если остались вопросы, задайте их в комментариях после инструкции.
"Загружаем инструкцию", означает, что нужно подождать пока файл загрузится и можно будет его читать онлайн. Некоторые инструкции очень большие и время их появления зависит от вашей скорости интернета.

26
electrolux
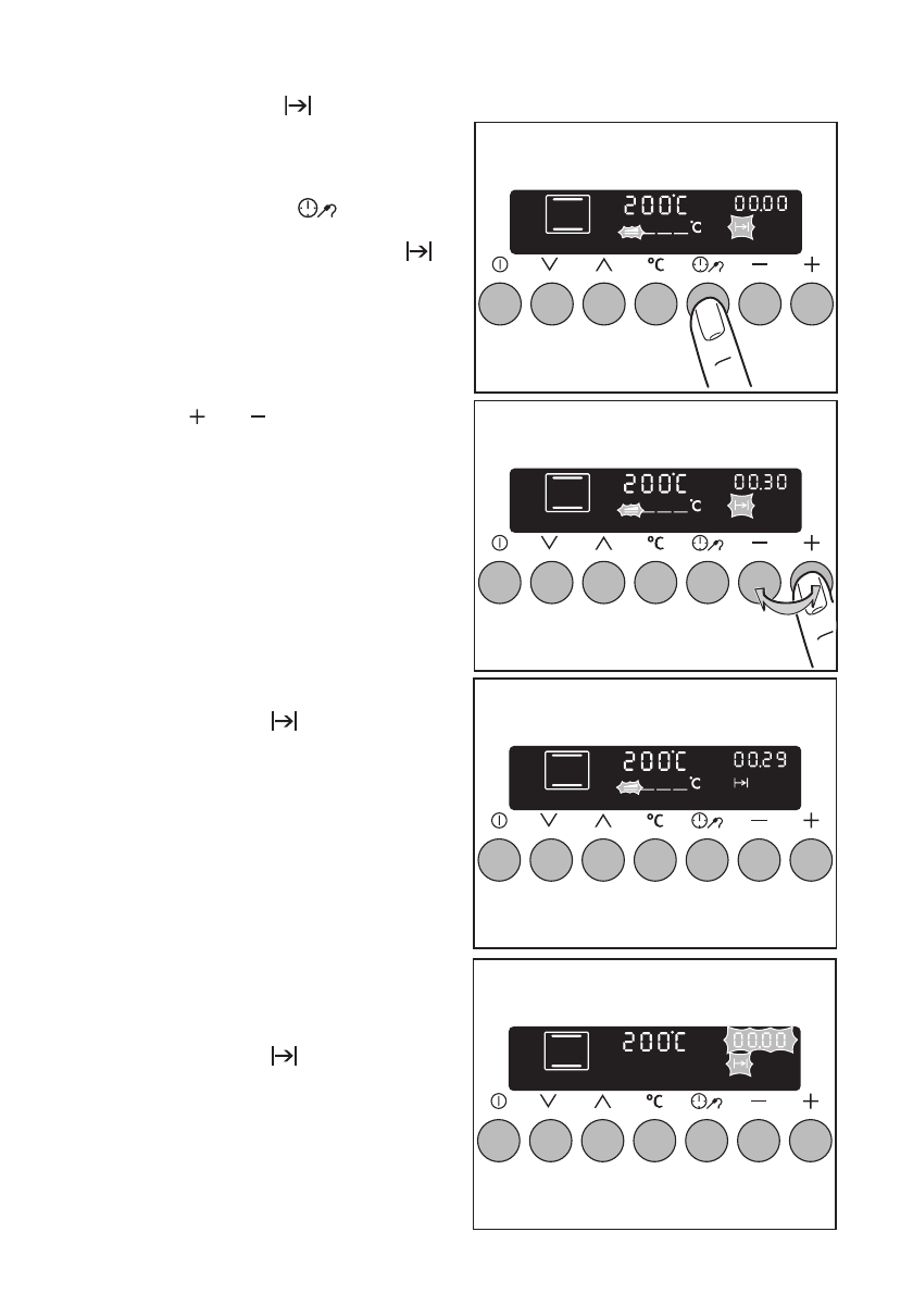
óïðàâëåíèå äóõîâûì øêàôîì
Ïðîäîëæèòåëüíîñòü
1.
Âûáåðèòå ôóíêöèþ è òåìïåðàòóðó
äóõîâîãî øêàôà.
2.
Íàæèìàéòå êíîïêó
Ïðîãðàììèðîâàíèÿ
äî òåõ
ïîð, ïîêà íå íà÷íåò ìèãàòü
èíäèêàöèÿ Ïðîäîëæèòåëüíîñòü
.
3.
Êíîïêîé èëè
çàäàéòå íóæíóþ
ïðîäîëæèòåëüíîñòü ïðèãîòîâëåíèÿ
ïðîäóêòà (ìàêñ. 09.59 ).
Íà÷èíàåò ñâåòèòüñÿ èíäèêàöèÿ
Ïðîäîëæèòåëüíîñòü
.
Ïî èñòå÷åíèè âñåãî çàäàííîãî
âðåìåíè íà äèñïëåå ìèãàþò öèôðû
“00.00“ è èíäèêàöèÿ
Ïðîäîëæèòåëüíîñòü
.
 òå÷åíèå 2-õ ìèíóò ðàáîòàåò çâóêîâîé
ñèãíàë.
Äóõîâîé øêàô îòêëþ÷àåòñÿ.
×òîáû ïðåêðàòèòü ìèãàíèå è îòêëþ÷èòü
çâóêîâîé ñèãíàë:
íàæìèòå ëþáóþ êíîïêó.












