Духовые шкафы Electrolux EOB 3450 AAX (AOX) - инструкция пользователя по применению, эксплуатации и установке на русском языке. Мы надеемся, она поможет вам решить возникшие у вас вопросы при эксплуатации техники.
Если остались вопросы, задайте их в комментариях после инструкции.
"Загружаем инструкцию", означает, что нужно подождать пока файл загрузится и можно будет его читать онлайн. Некоторые инструкции очень большие и время их появления зависит от вашей скорости интернета.

2
1
2.
ЛаЯеąгкąćŁрхикąŁЯцę ćŁмолуЭакеЯŁЮиЭЯдŁла
ЮлЯцкбжŁ ЯеЭкзеŁеŁухжąćŁжб.
ЙлкрЭ ŁмолуЭакеЯŁЮиЭЯд
ЦЭйлкрлуЭćŁмолуЭакеЯбŁЮиЭЯдŁуŁлауолркбжŁзл‐
ибжкл Яе.
ЦЭлзоąгилкбŁзл ЯбŁмолуЭакеЯŁЮиЭЯд
йспцąŁЮхćŁпзеболуЭкбŁалŁмоцлас.
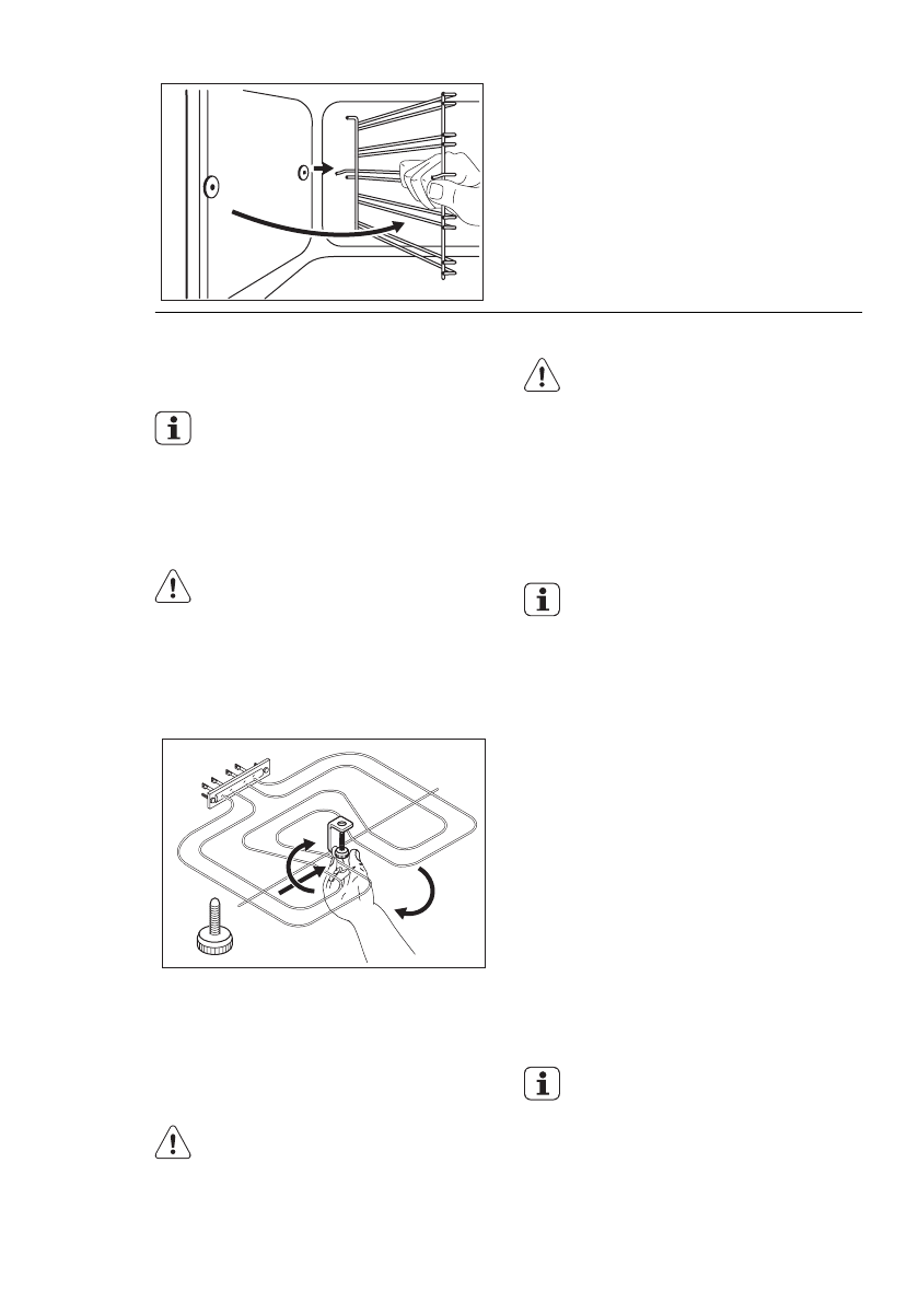
10.3ŁГóокЭŁ ЯеЭкзЭŁмебзЭокезЭ
ГоеииŁйл кЭŁухжąć,ŁЭЮхŁс ЭруеćŁЯцхпцЯцбкебŁгóо‐
кбжŁ ЯеЭкзеŁмебзЭокезЭ.
ЛПРОЦБ БКЕБł
МоцбаŁухжęЯебйŁгоеииЭŁкЭиб хŁух ąЯцхć
соцąацбкеб.ŁСмбукеćŁпеę,Ł бŁсоцąацбкеб
лпрхг л.ŁУхпрęмсжбŁцЭгол бкебŁмлмЭоцб‐
кебй.
1.
ЛазоęЯеćŁ осЮęŁйлЯсжąЯąŁгоеии.ŁЦЭŁмебоу‐
пцхйŁоЭцбйŁс хćŁуŁрхйŁЯбисŁ осЮлзоęрЭ.
2.
Лпрол кебŁлмс ЯеćŁгоеии.
3.
СйхćŁгóокąŁ ЯеЭкзęŁмебзЭокезЭŁйеęззą
пцйЭрзąŁцуеи лкąŁЯебм ąŁулаąŁцŁалаЭрзебй
олазЭŁЯцхпцЯцąЯбгл,ŁЭŁкЭпрęмкебŁмлцлпрЭ‐
уеćŁалŁухпЯдкеęЯеЭ.
4.
ЦЭйлкрлуЭćŁгоеииŁуŁлауолркбжŁзлибжкл Яе.
ЛПРОЦБ БКЕБł
ПмоЭуацеć,ŁЯцхŁгоеииŁжбпрŁмоЭуеа лулŁцЭ‐
йлЯлуЭкхŁеŁкебŁлмЭаЭ.
10.4ŁЛ уебрибкебŁмебзЭокезЭ
ЛПРОЦБ БКЕБł
ЦЭЯдлуЭćŁлпрол кл ćŁмлаЯцЭпŁухйеЭ‐
кхŁ ЭоóузеŁл уебрибкеЭŁмебзЭокезЭ.ŁУх‐
прęмсжбŁцЭгол бкебŁмлоЭ бкебйŁмоą‐
абй.
МоцбаŁухйеЭкąŁ ЭоóузеŁл уебрибкеЭŁмебзЭокезЭś
• Ух ąЯцхćŁмебзЭокез.
• УхзоęЯеćŁЮбцмебЯцкезеŁцбŁпзоцхкзеŁЮбцмебЯцке‐
зóуŁисЮŁух ąЯцхćŁух ąЯцкезŁлЮулас.
КЭŁакебŁмебзЭокезЭŁсйеб ЯеćŁпцйЭрзę,
ЭЮхŁцЭмлЮебЯŁспцзлацбкесŁ ЭоóузеŁе
пцзиЭкбглŁзилпцЭ.
AЮхŁскезкąćŁцЭЮосацбкеЭŁ ЭоóузеŁдЭил‐
гбклубжŁр спцЯцбй,ŁкЭиб хŁЯдухрЭćŁжą
моцбцŁпцйЭрзę.
1.
ЛЮоóЯеćŁпцзиЭкхŁзилпцŁуŁзебоскзсŁмоцбЯеу‐
кхйŁалŁосЯдсŁупзЭцóубзŁцбгЭоЭ,ŁЭЮхŁгл
цажąć.
2.
УхЯцх ЯеćŁзилпц.
3.
УхйебкеćŁ ЭоóузęŁкЭŁклуą,Łламлуебакеą
алŁмебзЭокезЭ,ŁламлокąŁкЭŁацеЭ ЭкебŁухпл‐
зеЯдŁрбймбоЭрсоŁалŁ300°C.
С хćŁ ЭоóузеŁрбглŁпЭйбглŁрхмс.
4.
ЦЭйлкрлуЭćŁзилпц.
10.5ŁCцхпцЯцбкебŁаоцуеŁмебзЭокезЭ
УŁаоцуеЭЯдŁмебзЭокезЭŁцкЭжасжąŁпеęŁауебŁпцхЮх.
АоцуеŁмебзЭокезЭŁеŁубукęроцкбŁпцхЮхŁйл кЭŁух‐
йлкрлуЭćŁуŁЯбисŁеЯдŁухЯцхпцЯцбкеЭ.
Жб иеŁаоцуеŁкебŁцлпрЭкąŁсмоцбакелŁцаб‐
йлкрлуЭкб,ŁйлгąŁпеęŁгуЭ рлукебŁцЭ‐
йзкąćŁмлаЯцЭпŁухжйлуЭкеЭŁцŁкеЯд
убукęроцкбжŁпцхЮх.
POLSKI
21
Характеристики
Остались вопросы?Не нашли свой ответ в руководстве или возникли другие проблемы? Задайте свой вопрос в форме ниже с подробным описанием вашей ситуации, чтобы другие люди и специалисты смогли дать на него ответ. Если вы знаете как решить проблему другого человека, пожалуйста, подскажите ему :)