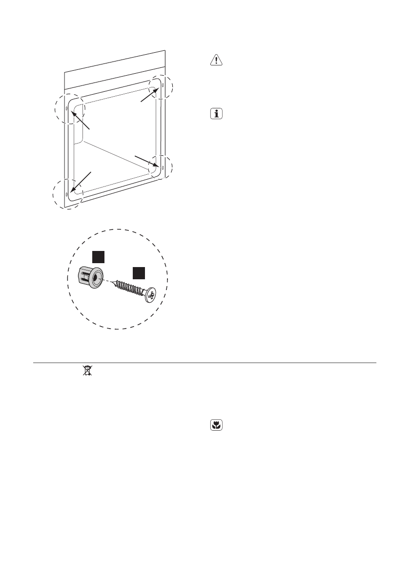
Духовые шкафы Electrolux EOB 33200 X - инструкция пользователя по применению, эксплуатации и установке на русском языке. Мы надеемся, она поможет вам решить возникшие у вас вопросы при эксплуатации техники.
Если остались вопросы, задайте их в комментариях после инструкции.
"Загружаем инструкцию", означает, что нужно подождать пока файл загрузится и можно будет его читать онлайн. Некоторые инструкции очень большие и время их появления зависит от вашей скорости интернета.

A
B
ΗΛ ΚΣΡΙΚ
ΓΚ ΣΆΣ Η
ΠΡΟ Ι ΟΠΟΙΗΗ
βζ ε λδεά
ΰεα Ϊ α β
πλΫπ δ
θα
πλαΰηα κπκδ έ αδ
ησθκ
απσ
επαδ υηΫθα
εαδ
ικυ δκ κ βηΫθα
Ϊ κηα
.
Ο
εα α ε υα άμ
θ
έθαδ
υπ τγυ
-
θκμ
ΰδα
υξσθ
ίζΪί μ
π λέπ π β
ηβ
άλβ βμ
πθ
πλκφυζΪι πθ
α φα
-
ζ έαμ
βμ
θσ β αμ
«
Πζβλκφκλέ μ
α φαζ έαμ
».
υ ε υά
παλΫξ αδ
ησθκ
η
εαζυ δκ
λκφκ κ έαμ
.
Π ΡΙ
ΛΛΟΝΣΙΚΆ
Θ Μ Σ
Σκ
τ
µ
ίκζκ
κ
πλκρσθ
ά
πΪθπ
β
υ ε υα έα
κυ
υπκ δεθτ δ
σ δ
θ
πλΫπ δ
θα
µ
αξ δλέα
κ
πλκρσθ
αυ σ
πμ
κδεδαεσ
απσλλδ
µµ
α
.
θ δγΫ πμ
γα
πλΫπ δ
θα
παλα έ
αδ
κ
εα Ϊζζβζκ
β
µ
έκ
υζζκΰάμ
ΰδα
βθ
αθαετεζπ β
βζ ε λδεκτ
εαδ
βζ ε λκθδεκτ
ικπζδ
µ
κτ
.
ια φαζέακθ αμ
σ δ
κ
πλκρσθ
αυ σ
δα έγ αδ
π Ϊ
,
υ
µ
ίΪζζ
βθ
απκ λκπά
θ ξσ
µ
θπθ
αλθβ δευθ
υθ π δυθ
ΰδα
κ
π λδίΪζζκθ
εαδ
βθ
αθγλυπδθβ
υΰ έα
,
κδ
κπκέ μ
γα
µ
πκλκτ αθ
δαφκλ δεΪ
θα
πλκεζβγκτθ
απσ
αεα Ϊζζβζκ
ξ δλδ
µ
σ
απσλλδοβμ
κυ
πλκρσθ κμ
αυ κτ
.
Γδα
ζ π κ
µ
λΫ
λ μ
πζβλκφκλέ μ
ξ δεΪ
µ
βθ
αθαετεζπ β
κυ
πλκρσθ κμ
αυ κτ
,
πδεκδθπθά
µ
κ
β
µ
αλξ έκ
βμ
π λδκξάμ
αμ
,
βθ
κπδεά
αμ
υπβλ έα
απκεκ
µ
δ άμ
κδεδαευθ
απκλλδ
µµ
Ϊ πθ
ά
µ
κ
εα Ϊ β
µ
α
σπκυ
αΰκλΪ α
κ
πλκρσθ
.
Τζδεσ
υ ε υα έαμ
Σκ
υζδεσ
υ ε υα έαμ
έθαδ
φδζδεσ
πλκμ
κ
π λδίΪζζκθ
εαδ
αθαευεζυ δ
-
ηκ
.
Σα
πζα δεΪ
ιαλ άηα α
πδ β
-
ηαέθκθ αδ
η
δμ
δ γθ έμ
υθ κηκΰλα
-
φέ μ
,
σππμ
PE, PS,
ε
.
ζπ
.
πκλλέο
α
υζδεΪ
υ ε υα έαμ
κυμ
εΪ κυμ
πκυ
παλΫξκθ αδ
ΰδα
κ
εκπσ
αυ σ
δμ
κπδεΫμ
αμ
ΰεα α Ϊ δμ
ΰδα
β
δαξ έλδ β
πθ
απκλλδηηΪ πθ
.
36
electrolux