Духовые шкафы Electrolux EOB 31000 X - инструкция пользователя по применению, эксплуатации и установке на русском языке. Мы надеемся, она поможет вам решить возникшие у вас вопросы при эксплуатации техники.
Если остались вопросы, задайте их в комментариях после инструкции.
"Загружаем инструкцию", означает, что нужно подождать пока файл загрузится и можно будет его читать онлайн. Некоторые инструкции очень большие и время их появления зависит от вашей скорости интернета.

16
electrolux
èíñòðóêöèè, òàáëèöû è ñîâåòû
Èíñòðóêöèè, òàáëèöû è
ñîâåòû
Ïðèãîòîâëåíèå âûïå÷êè
Ôóíêöèÿ äóõîâîãî øêàôà. Ãîðÿ÷èé
âîçäóõ
èëè Íàãðåâ ñâåðõó è
ñíèçó
Ôîðìû äëÿ âûïå÷êè
•
Äëÿ ðàáîòû â ðåæèìå “Âåðõíèé-/
Íèæíèé æàð” ïðèãîäíû ôîðìû äëÿ
âûïå÷êè èç òåìíîãî ìåòàëëà è
ôîðìû ñ ïîêðûòèåì.
•
Äëÿ èñïîëüçîâàíèÿ â ðåæèìå
“Ãîðÿ÷èé âîçäóõ” Ãîðÿ÷èé
âîçäóõ
ïîäõîäÿò òàêæå ôîðìû èç
ñâåòëîãî ìåòàëëà.
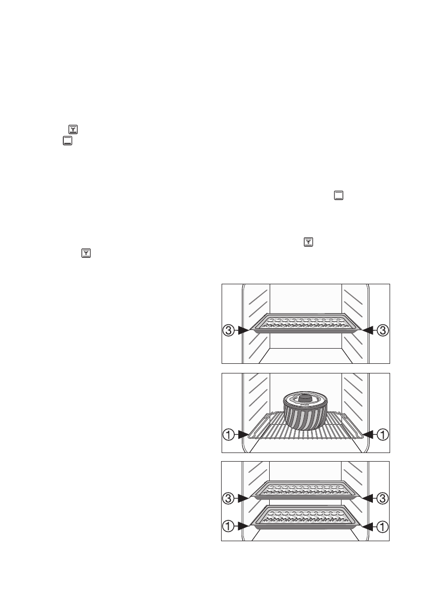
Óðîâíè äóõîâîãî øêàôà
•
 ðåæèìå “Íàãðåâ ñâåðõó è ñíèçó”
Íàãðåâ ñâåðõó è ñíèçó
âûïå÷êó
ìîæíî ãîòîâèòü òîëüêî íà îäíîì
óðîâíå äóõîâîãî øêàôà.
•
 ðåæèìå “Ãîðÿ÷èé âîçäóõ”
Ãîðÿ÷èé âîçäóõ
ñóõóþ è ìàëóþ
âûïå÷êó ìîæíî ãîòîâèòü
îäíîâðåìåííî íà 2-õ ïðîòèâíÿõ.
1 ïðîòèâåíü:
Íàïð., óðîâåíü äóõîâîãî øêàôà 3
1 ôîðìà äëÿ âûïå÷êè:
Íàïð., óðîâåíü äóõîâîãî øêàôà 1
2 ïðîòèâíÿ:
Íàïð., óðîâíè 1 è 3